
7月10日,据CDE官网公示,重庆药友制药的氟比洛芬酯注射液以仿制3类报产获受理。据药融云数据库显示,该品种在2023年全国院内市场的销售额超9亿元。

截图来源:CDE官网
氟比洛芬酯注射液是一种手术后的镇痛药物,其可缓解手术时伤口的疼痛症状。据药融云数据库显示,该品种在2023年全国院内市场的销售额超9亿元,同比增长达10.71%。氟比洛芬酯注射液是2023年全国院内肌肉-骨骼系统药物(化药或生物药)TOP5品种。

截图来源:药融云全国医院销售数据库
氟比洛芬酯注射液除重庆药友制药提交了仿制申请,今年1月份宜昌人福药业也提交了该品种的仿制申请,均在审评审批中。

截图来源:药融云中国药品审评数据库
目前氟比洛芬酯注射液有4家药企拥有生产批文,其中山西普德药业、远大医学营养科学、广东嘉博制药3家药企过评。

截图来源:药融云过评药品汇总数据库
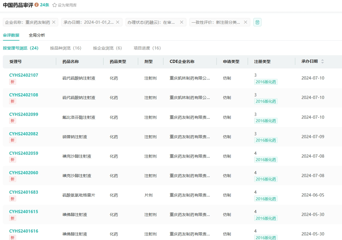
2024年至今,重庆药友制药(含子公司)已有注射用美罗培南、瑞舒伐他汀钙片、甲氨蝶呤注射液、盐酸伊立替康注射液、硫代硫酸钠注射液、氟比洛芬酯注射液等16款品种报产在审。

截图来源:药融云中国药品审评数据库
今年以来,重庆药友制药已有阿立哌唑口崩片、盐酸鲁拉西酮片、左乙拉西坦缓释片等13个品种过评。
参考来源:
[1] CDE官网
[2] 药融云数据库
<END>
想要解锁更多药物研发信息吗?查询药融云数据库(vip.pharnexcloud.com/?zmt-mhwz)掌握药物基本信息、市场竞争格局、销售情况与各维度分析、药企研发进展、临床试验情况、申报审批情况、各国上市情况、最新市场动态、市场规模与前景等,以及帮助企业抉择可否投入时提供数据参考!注册立享15天免费试用!








川公网安备51019002008863号
本网站未发布麻醉药品、精神药品、医疗用毒性药品、放射性药品、戒毒药品和医疗机构制剂的产品信息
收藏
登录后参与评论
暂无评论