
7月30日,据CDE官网显示,南京正大天晴(正大天晴子公司)申报的1类新药NTQ5082胶囊获批临床,拟用于补体参与介导的溶血性疾病,包括但不限于阵发性睡眠性血红蛋白尿症、非典型溶血性尿毒症综合征、免疫性血小板减少症和冷凝集素病等。

截图来源:CDE
NTQ5082胶囊是一款补体因子B(CFB)抑制剂在研药物。此次NTQ5082胶囊获批临床,意味着这款新药即将在这些患者群体中启动临床研究。补体是一种血清蛋白质,存在于人和脊椎动物血清及组织液中,不耐热,活化后具有酶活性,可介导免疫应答和炎症反应,可被抗原抗体复合物或微生物所激活,导致病原微生物裂解或被吞噬。补体因子B是补体 旁路活化途径中的一个重要成分,又称C3激活剂前体。补体因子B分子量为93kDa,人血中浓 度约为3μM,主要在肝脏合成,也发现在眼部视网膜色素上皮细胞中有合成。2023年12月,诺华(Novartis)的补体B因子抑制剂iptacopan获得FDA批准,用于治疗阵发性睡眠性血红蛋白尿症。

截图来源:药融云全球药物研发数据库
据药融云数据库显示,南京正大天晴在2024年5月提交的1类新药NTQ5082胶囊获CDE受理,并于7月30日获批临床,为药物的后续研发注入了强劲动力。

截图来源:药融云全球药物研发数据库
今年以来,NTQ3617片是南京正大天晴今年首款获批临床的1类新药,NTQ-5082胶囊是今年第2款获批临床的1类新药。目前南京正大天晴已有3款抗肿瘤1类新药NTQ2494片、NTQ1062片、NTQ3617片处于获批临床及以上研究阶段。

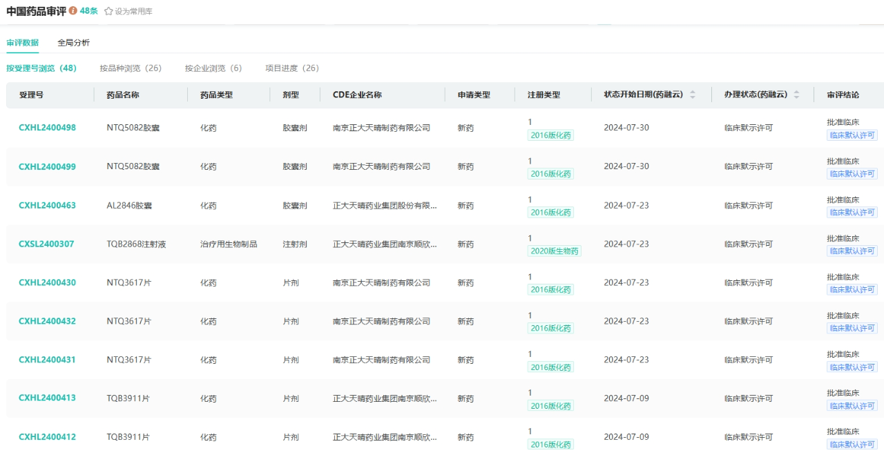
截图来源:药融云中国药品审评数据库
2024年至今,正大天晴(含子公司)有26款1类新药申请并获批临床,包括19款小分子药和7款大分子药,涉及抗肿瘤、皮肤病药物、生殖泌尿系统和性激素类药物、心血管系统药物、呼吸系统药物、神经系统药物等领域。

截图来源:药融云中国药品审评数据库
在抗肿瘤领域,今年以来,正大天晴(含子公司)已有注射用TQB2930、注射用TQB2102、TQB3915片、TQB3911片等20款1类新药申请并获批临床。据药融云数据库显示,在2023年全国院内抗肿瘤药和免疫机能调节药物市场销售额超1400亿元。
参考来源:
[1] CDE官网
[2] 药融云数据库
<END>
想要解锁更多药物研发信息吗?查询药融云数据库(vip.pharnexcloud.com/?zmt-mhwz)掌握药物基本信息、市场竞争格局、销售情况与各维度分析、药企研发进展、临床试验情况、申报审批情况、各国上市情况、最新市场动态、市场规模与前景等,以及帮助企业抉择可否投入时提供数据参考!注册立享15天免费试用!








川公网安备51019002008863号
本网站未发布麻醉药品、精神药品、医疗用毒性药品、放射性药品、戒毒药品和医疗机构制剂的产品信息
收藏
登录后参与评论
暂无评论