
8月2日,据CDE官网显示,南京正大天晴制药提交的4类仿制药苯磺酸美洛加巴林片上市申请已获受理。据药融云数据库显示,今年以来该公司有4个品种迎来过评。

截图来源:CDE
苯磺酸美洛加巴林片(英文商品名TARLIGE®)是第一三共(中国)宣布旗下自主研发的创新药物,2019年1月,该产品首次在日本获批上市,用于治疗周围神经病理性疼痛(PNP)。2024年6月28日,获准进入中国市场,用于治疗成人糖尿病性周围神经病理性疼痛。据药融云数据库显示,原研的苯磺酸美洛加巴林片上市以来,在2023年全球销售额超2亿美元,同比增长达12.26%。

截图来源:药融云全球药物研发数据库
目前,苯磺酸美洛加巴林片仅原研在国内获批上市,暂无国内药企获批,截至目前,仅南京正大天晴制药1家药企提交了仿制申请,领跑该品种国内仿制药赛道。

截图来源:药融云中国药品批文数据库
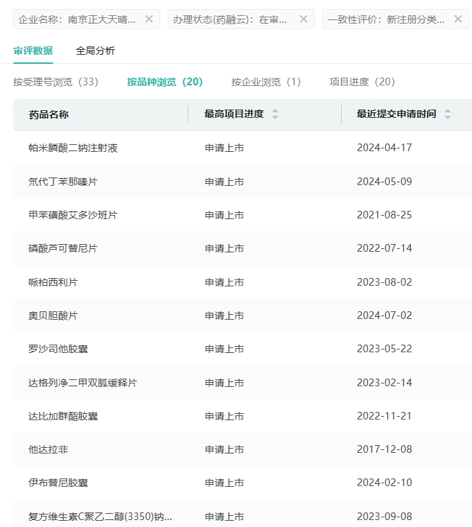
据药融云数据库显示,南京正大天晴制药共有苯磺酸美洛加巴林片、奥贝胆酸片、他达拉非、磷酸芦可替尼片等20个品种提交了仿制药上市申请,均在审评审批中。

截图来源:药融云中国药品审评数据库
2024年至今,南京正大天晴制药有沙库巴曲缬沙坦钠片、舒更葡糖钠注射液、来特莫韦片、氯苯唑酸葡胺软胶囊4个品种过评,其中来特莫韦片斩获国内首家过评+首仿。
参考来源:
[1] CDE官网
[2] 药融云数据库
<END>
想要解锁更多药物研发信息吗?查询药融云数据库(vip.pharnexcloud.com/?zmt-mhwz)掌握药物基本信息、市场竞争格局、销售情况与各维度分析、药企研发进展、临床试验情况、申报审批情况、各国上市情况、最新市场动态、市场规模与前景等,以及帮助企业抉择可否投入时提供数据参考!注册立享15天免费试用!








浙公网安备33011002015279
本网站未发布麻醉药品、精神药品、医疗用毒性药品、放射性药品、戒毒药品和医疗机构制剂的产品信息
收藏
登录后参与评论
暂无评论