
9月10日,成都苑东生物制药发布公告,其全资子公司成都硕德药业向美国FDA申报的盐酸尼卡地平注射液的新药简略申请(ANDA)已获得批准。据药融云数据库显示,盐酸尼卡地平注射液在2023年全国院内市场的销售额超3亿元。

截图来源:企业公告
盐酸尼卡地平注射液是新型二氢吡啶钙离子拮抗剂,适应症为用于无法口服给药时的高血压短期治疗,是《中国高血压急症诊疗规范》推荐适用疾病最广的一线静脉降压药。盐酸尼卡地平注射液于2008 年7月24 日在美国获批上市。据药融云数据库显示,盐酸尼卡地平注射液在2023年全国院内市场的销售额超3亿元,同比增长达20.96%。

截图来源:药融云全国医院销售数据库
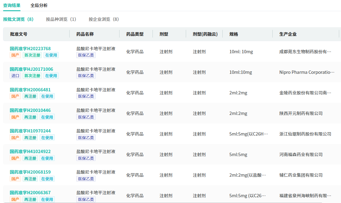
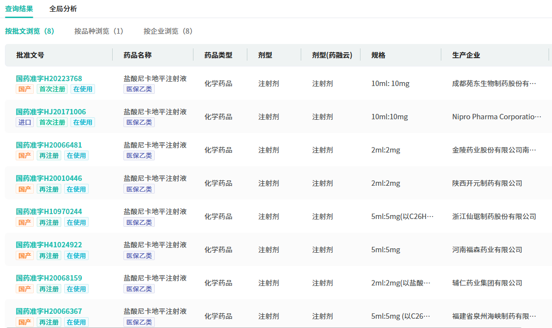
盐酸尼卡地平注射液是成都苑东生物制药第二个制剂出海的产品,公司全资子公司四川青木制药的盐酸尼卡地平原料也已完成美国DMF登记,公司在该产品上实现了原料制剂一体化,具有成本优势。据药融云数据库显示,盐酸尼卡地平注射液在国内有8家药企(不含已过期)拥有生产批文,其中仅成都苑东生物制药1家药企过评。

截图来源:药融云中国药品批文数据库
本次盐酸尼卡地平注射液ANDA获得美国FDA批准,丰富了公司国际化的产品管线,进一步加快了成都苑东生物制药国际化战略的实施步伐,对公司经营发展具有积极作用。
参考来源:
[1] 成都苑东生物制药官方公告
[2] 药融云数据库
<END>
想要解锁更多药物研发信息吗?查询药融云数据库(vip.pharnexcloud.com/?zmt-mhwz)掌握药物基本信息、市场竞争格局、销售情况与各维度分析、药企研发进展、临床试验情况、申报审批情况、各国上市情况、最新市场动态、市场规模与前景等,以及帮助企业抉择可否投入时提供数据参考!注册立享15天免费试用!








川公网安备51019002008863号
本网站未发布麻醉药品、精神药品、医疗用毒性药品、放射性药品、戒毒药品和医疗机构制剂的产品信息
收藏
登录后参与评论
暂无评论