
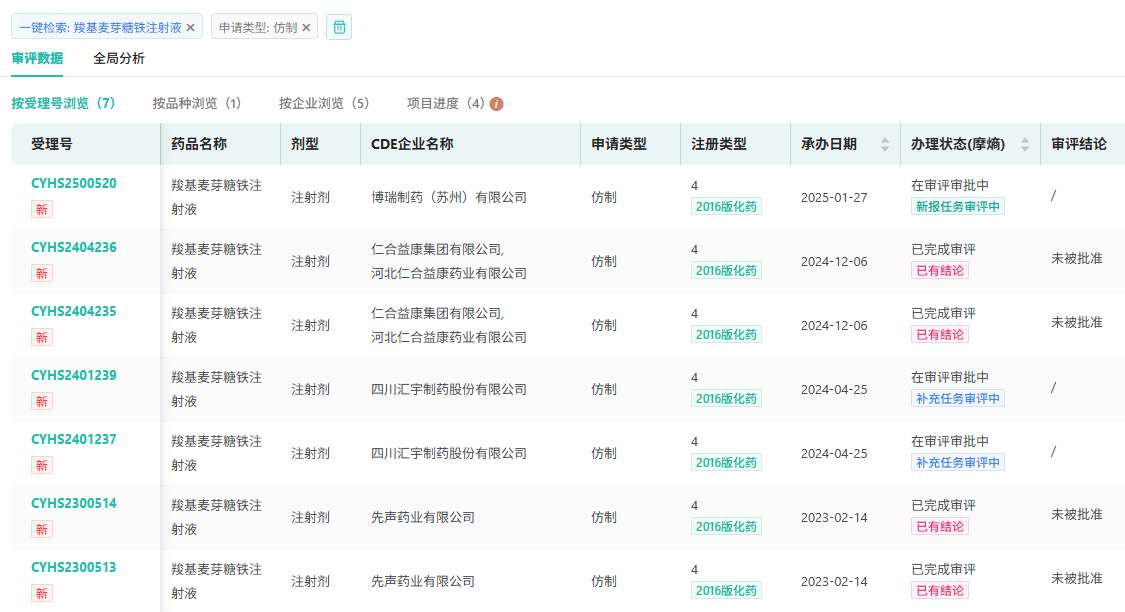
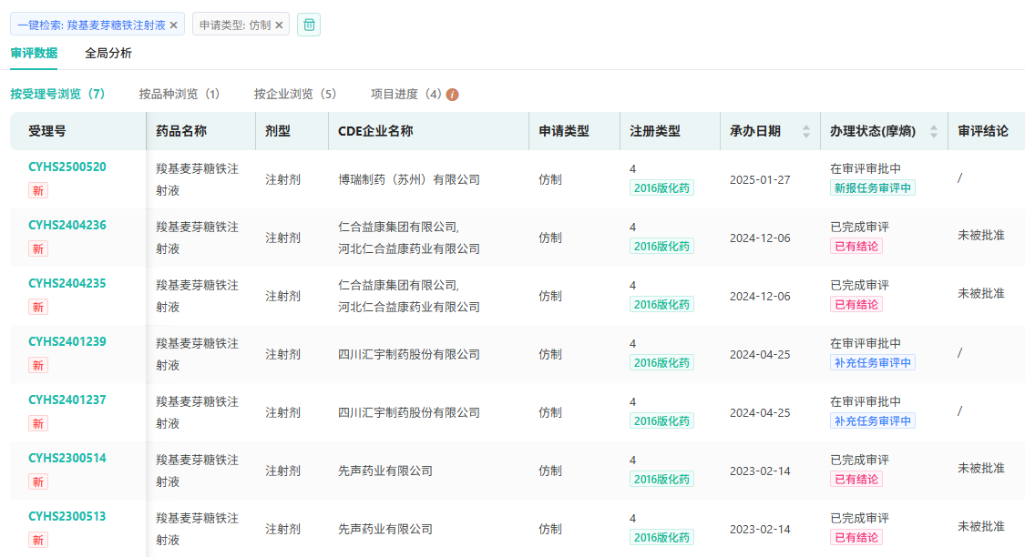
9月8日,NMPA发布的药品通知件送达信息中,多个产品未被批准,仁合益康集团的羧基麦芽糖铁注射液赫然在列。该产品在国内仅原研上市,仁合益康成为继先声药业之后,第二家冲击上市失败的企业。首仿花落谁家,尚未可知。

截图来源:NMPA官网
羧基麦芽糖铁(ferric carboxymaltose) 作为第3代静脉铁剂,是一种有效的、耐受性良好的蔗糖铁替代品,用于口服铁制剂无效、不能使用口服铁制剂或临床快速补充铁时≥1周岁儿童及成人患者的缺铁性治疗。

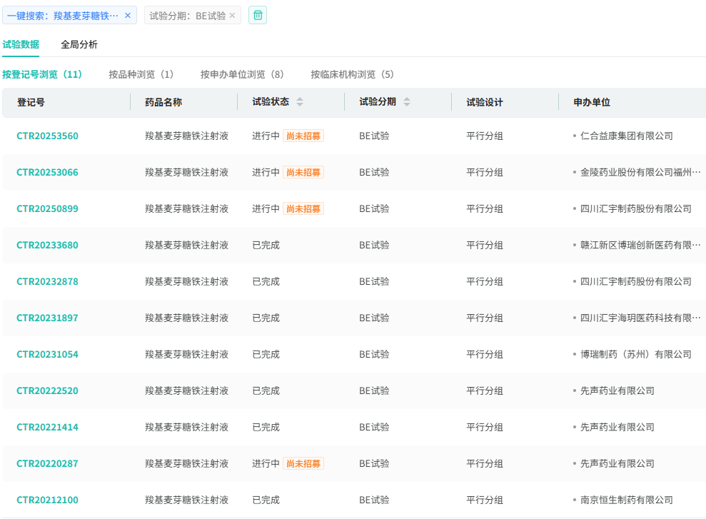
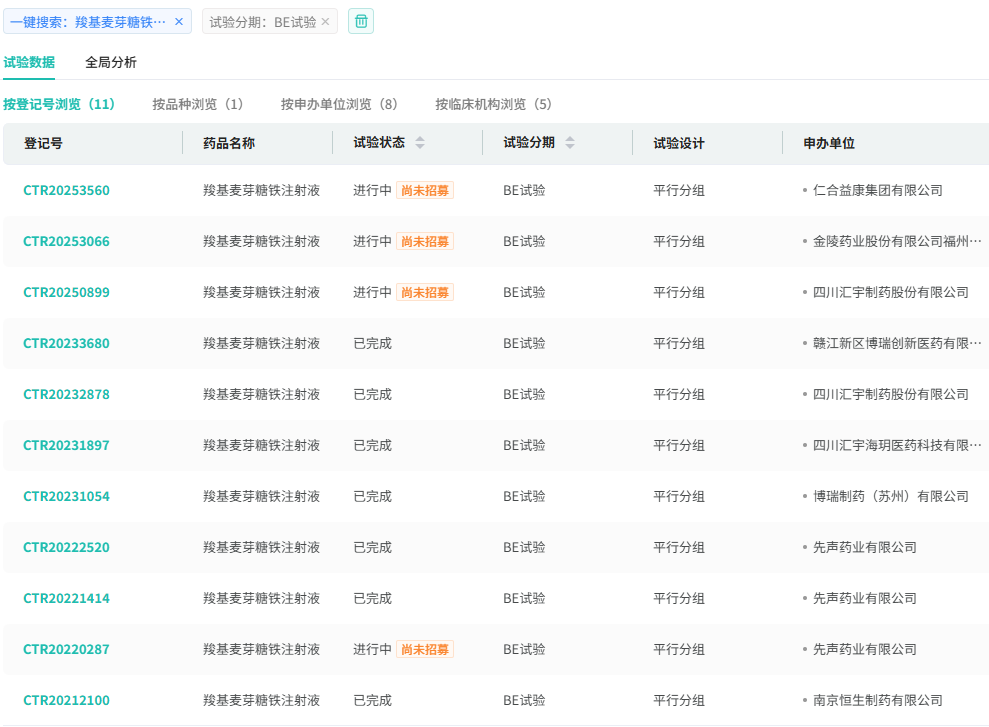
截图来源:摩熵医药全球药物研发数据库
羧基麦芽糖铁注射液由维福制药(Vifor Pharm)原研,2007年6月率先在德国上市,2013年7月于美国获批,目前已在包括英国、瑞士等在内的80多个国家或地区上市。
2022年11月,由杭州泰格医疗科技引进的羧基麦芽糖铁原研药在中国上市,商品名为“菲新捷”。上市规格为500mg/10ml 和100mg/2ml,以适配不同临床用药需求。

截图来源:摩熵医药中国药品批文数据库
其关键性的上市申请依据,是国内开展的一项纳入近400人的Ⅲ期临床试验数据。试验结果显示,羧基麦芽糖铁注射液具有良好的安全性和耐受性,能有效改善中国患者的血红蛋白反应并纠正缺铁。

截图来源:摩熵医药中国临床试验数据库
我国铁缺乏症患者群体基数庞大,患病率约为15%,临床用药需求旺盛。全球静脉补铁剂市场中,羧基麦芽糖铁的占比达48%。反观国内,铁制剂市场规模接近50亿元,仍以二代静脉铁剂蔗糖铁为主导,市场迭代空间显著。












川公网安备51019002008863号
本网站未发布麻醉药品、精神药品、医疗用毒性药品、放射性药品、戒毒药品和医疗机构制剂的产品信息
收藏
登录后参与评论
暂无评论