
据药融云数据库统计,2022年7月1日至9月2日期间,共9个中药创新药受理号获得承办,1类新药8个,2类新药1个;其中,有5个为IND申请。
9个获受理的创新中药分别是芪黄明目胶囊(以岭药业)、有荔枝核提取物、荔枝核胶囊(广西中医药大学)、双根口服液(中国人民解放军总医院第五医学中心)、通降颗粒(健民药业)、舒肝解郁胶囊(济生堂药业)、九味化斑丸(天士力)、复方野菊花黄酮颗粒(浙江中医药大学)、抗敏镇咳颗粒(天津乐敦中药)。
其中,九味化斑丸、舒肝解郁胶囊、通降颗粒、荔枝核胶囊、荔枝核提取物5个中药的新药临床研究申请获得承办。
2022.7.1-2022.9.2新承办的中药创新药(搜索"药融云小程序"进行相关更多数据查询)

数据来自:药融云中国药品审评数据库
1.天士力
天士力医药集团股份有限公司创建于1994年,是中国中药现代化的标志性企业,于2002年8月在上海证券交易所挂牌上市(600535)。天士力医药产品组合丰富,覆盖心脑血管、抗肿瘤、感冒发烧、肝病治疗等大病种治疗领域,同时拥有13个年均销售收入过人民币亿元的的医药产品。
天士力的九味化斑丸是新增加糖尿病肾病适应症,除此之外,还有芪参益气滴丸增加糖尿病肾病适应症、穿心莲内脂滴丸增加儿童用药人群处于申请IND阶段。
九味化斑丸审批概况(部分)

图片来源:药融云中国药品审评数据库
在现代中药领域,天士力布局研发了26款产品,其中,安神滴丸III期已获组长单位伦理,完成量表一致性全国研究者培训会,首例病例已入组;苏苏小儿止咳颗粒与肠康颗粒完成II期全部受试者出组与临床数据审核会;连夏消痞颗粒II期临床完成全部受试者入组等。
天士力拥有多款独家中成药(含独家剂型),比如心脑血管用药复方丹参滴丸、养血清脑(颗粒、丸)、芪参益气滴丸;消化系统疾病用药水林佳®(水飞蓟宾胶囊)、荆花胃康胶丸;感冒用药藿香正气滴丸、穿心莲内酯滴丸等。
天士力申报药品TOP10

图片来源:药融云中国药品审评数据库
天士力现代中药重点围绕心脑血管疾病用药进行布局,构建了以复方丹参滴丸、养血清脑(颗粒、丸)、芪参益气滴丸三大核心基药产品为主的现代中药大药体系,竞争格局良好且销售稳步增长,近年陆续有中药新药获批上市,包括坤心宁颗粒、芍麻止痉颗粒等。
2.四川济生堂药业
四川济生堂药业有限公司的前身为四川省济生制药厂,成立于1921年,是具有百年中国中药行业历史的老字号企业。2001年由康弘集团收购,成立济生堂有限公司,产品主要以中成药为主,现拥有96个药品批准文号及多个独家品种。主要产品有胆舒胶囊、感咳双清胶囊、鲜竹沥、川贝枇杷糖浆、麻仁丸、雪胆解毒丸、跌打活血散等系列产品。
舒肝解郁胶囊是第一个CFDA批准用于中轻度抑郁症的中成药创新药,获得多部中西医国家指南的推荐,在抗抑郁中成药市场份额超过50%。舒肝解郁胶囊作为纯中药复方制剂,由贯叶连翘和刺五加两味药物组成,其治疗抑郁症效果与氟西汀等相当。而其主要成分的贯叶金丝桃等传统中草药制剂在欧洲抑郁症患者中接受性较好,在德国等多个欧洲国家被列为抑郁症规范治疗措施之一。
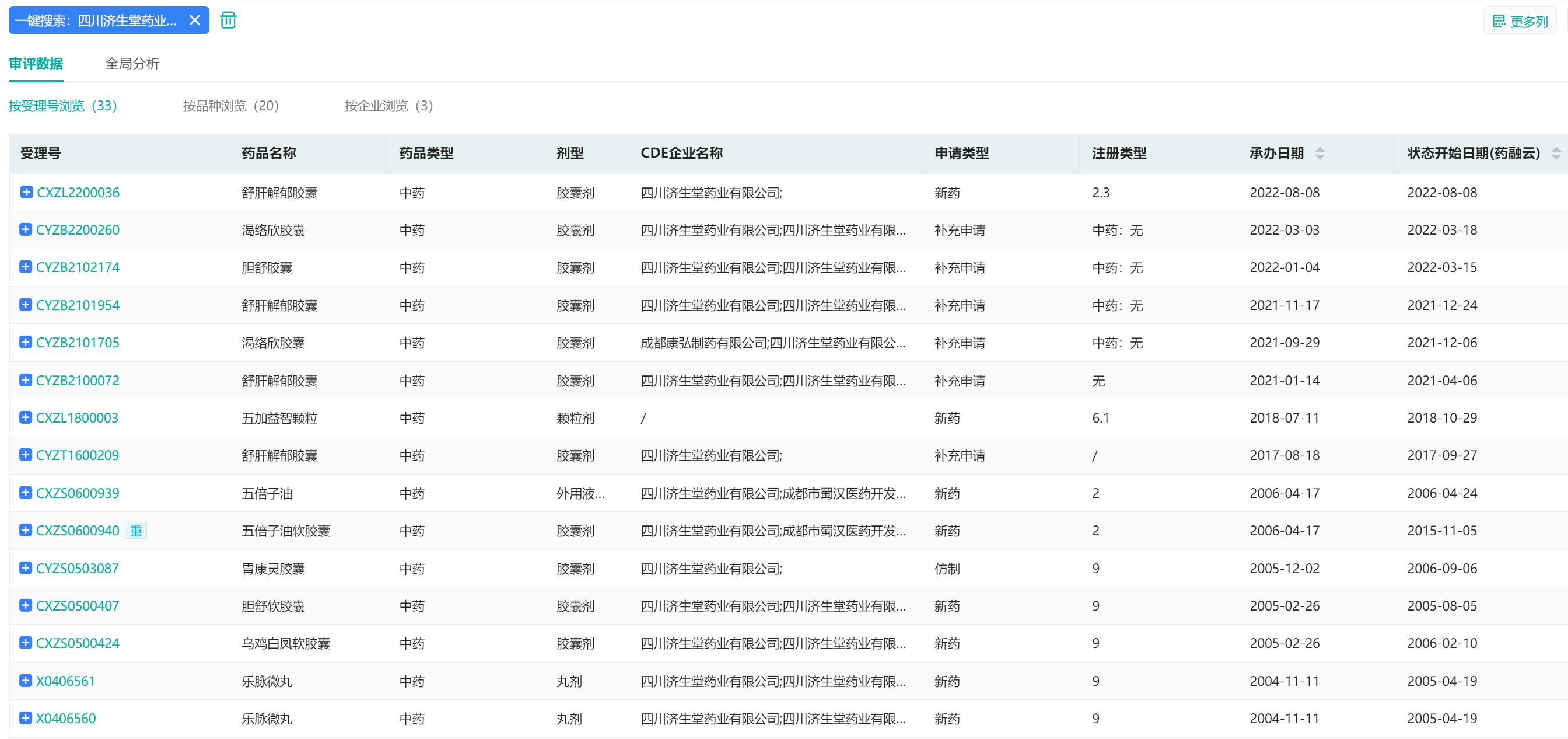
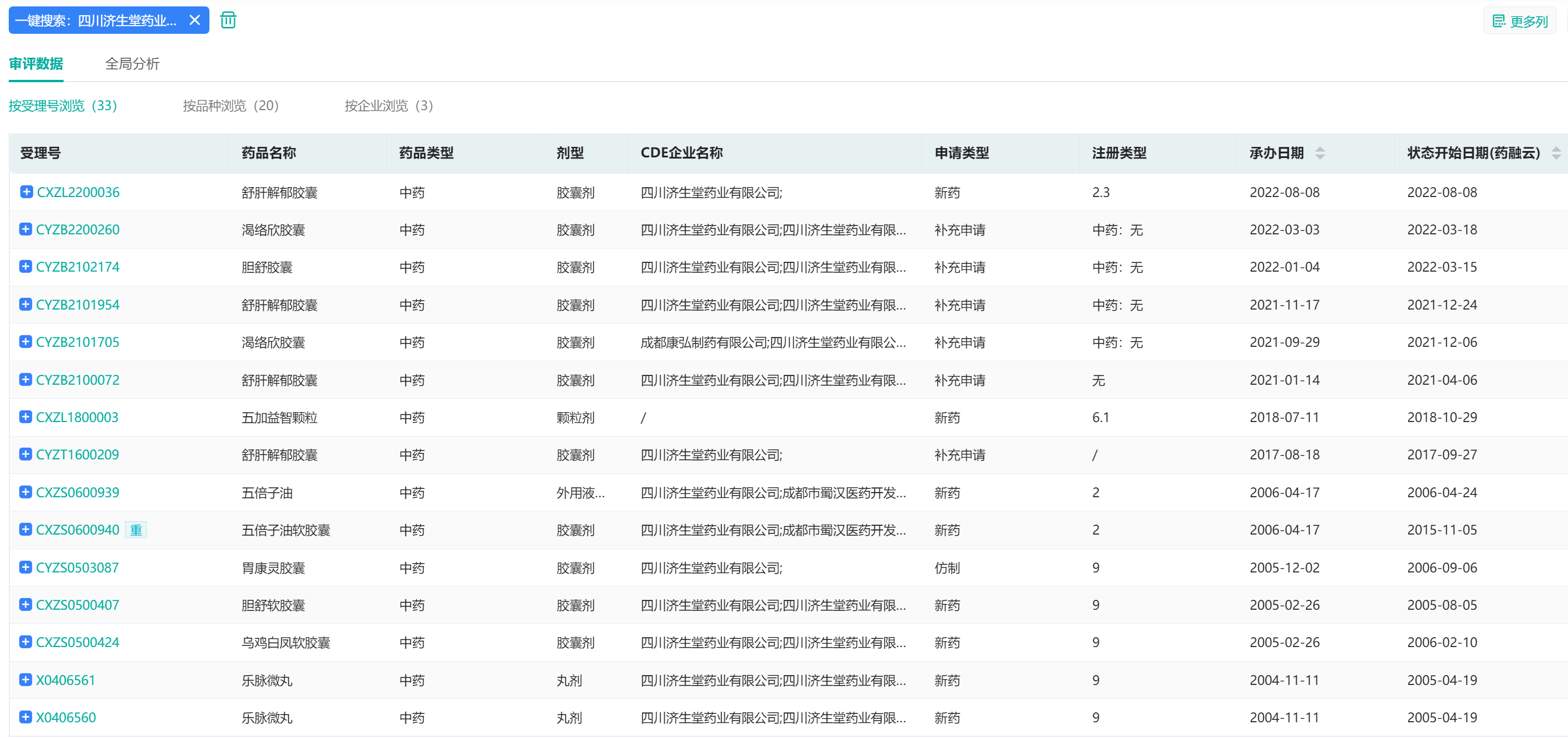
四川济生堂药业药品审评数据(部分)

图片来源:药融云中国药品审评数据库
除此之外,其松龄血脉康是中国第一个以鲜松针入药,在心脑血管领域被多部重磅级国家临床用药指南推荐使用的中成药降压产品;渴络欣胶囊是中国首个获批治疗DKD的中药新药,填补了中成药治疗糖尿病肾病的空白。
3.以岭药业
芪黄明目胶囊是用以治疗糖尿病并发症的创新中药,主要治疗糖尿病视网膜病变,具有改善眼底视网膜微血管病变程度及黄斑水肿程度的作用。近两年,我国共计15个中药创新药获批上市,以岭药业研发的创新专利中药占据3个,是同期获批数量最多的企业。
以岭药业作为中国中药企业龙头企业,成立30年来,研发出13个拥有自主知识产权的创新专利中药,其中8个列入国家医保目录,5个为国家基药品种,产品覆盖心脑血管病、糖尿病、呼吸系统疾病、肿瘤、神经系统疾病、泌尿系统疾病等领域;形成了以通心络胶囊、参松养心胶囊、连花清瘟颗粒、芪苈强心胶囊等为核心的品牌竞争优势。
以岭药业中药审评数据(部分)

图片来源:药融云中国药品审评数据库
据药融云数据库统计,以岭药业的心脑血管三大王牌通心络胶囊、参松养心胶囊、芪苈强心胶囊目前已为超10亿品种,合计市场占有率达6.75%,且呈逐年增长趋势。而连花清瘟以“植物药产品”、“植物药”、“补充药物”、“中成药”的身份,累计在巴西、泰国、厄瓜多尔、新加坡、俄罗斯、加拿大等20余个海外国家注册获批上市。
结语:
近年来,一系列中医药利好政策持续出台,中药传承创新能力显著增强,中药新药临床试验申请、新药上市许可申请数量连年增长,进一步鼓励中药新药研发。相信更多药企加快创新升级步伐,积极投入到中药新药研发当中去,研发成果将日渐丰硕。
想要解锁更多药企药品信息吗?查询药融云数据库(vip.pharnexcloud.com/?zmt-mhwz)掌握药企药品布局情况、销售情况与各维度分析、药品申报审批情况、最新进展、市场规模与企业年报等数据!注册立享15天免费试用和虎年首份医药数据大礼包!

<END>







川公网安备51019002008863号
本网站未发布麻醉药品、精神药品、医疗用毒性药品、放射性药品、戒毒药品和医疗机构制剂的产品信息
收藏
登录后参与评论
暂无评论