
一场病,让生命轻如鸿毛,却让生活重如泰山。即将到来的3月,是每年的“国际骨髓瘤关爱月”。而多发性骨髓瘤(MM)是血液系统的第二大常见恶性肿瘤,高发于老年人群。伴随中国社会老龄化的加深,相关数据显示,中国多发性骨髓瘤患者的发病率和死亡率随着年龄增长而逐步上升,且以大于60岁年龄组为甚。
同时,多发性骨髓瘤也是一种临床需求高度未满足的恶性血液癌症,由骨髓中浆细胞的异常增生造成。癌变的浆细胞在骨髓中迅速扩散,并影响正常血细胞的生成,导致血细胞指数下降、骨骼损坏和肾脏损伤。由于MM不可治愈易复发,对于老年患者而言更难以承受。

但好在,创新疗法的不断出现也革新了多发性骨髓瘤的治疗方式。其中,B细胞成熟抗原(BCMA)是一种在多发性骨髓瘤的癌细胞上广泛表达的蛋白质,近年来成为治疗MM和其他恶性血液肿瘤的热门免疫治疗靶点。
与其他如PD-1/PD-L1、PCSK9等热门靶点相比,BCMA靶向在研疗法专注在MM疾病治疗领域的研究备受关注。这也是BCMA最大的特点之一,它在所有MM细胞中表达,是治疗MM的理想靶点。
一、靶向BCMA的不同创新疗法
目前,针对BCMA开发的免疫疗法超过20种,主要分为3类:CAR-T细胞疗法、双特异性抗体和抗体药物偶联物(ADC)。据药融云全球药物研发数据库显示,截至目前,全球已有四款BCMA靶向疗法在美国获批上市,分别是ADC疗法belantamab-mafoodin(商品名:Blenrep),CAR-T细胞疗法Idecabtagene Vicleucel(商品名:Abecma)与Ciltacabtagene autoleucel(简称Cilta-cel,Carvykti,西达基奥仑赛),以及双特异性疗法Teclistamab(Tecvayli)。
美国获批上市的BCMA靶向疗法

图片来源:药融云全球药物研发数据库
药融云数据库显示,葛兰素史克(GSK)研发的Blenrep是全球首个获批上市的BCMA靶向药,也是全球首个靶向BCMA的ADC疗法,于2020年8月获得FDA的加速批准,单药治疗先前接受过至少四种疗法(包括抗CD38单抗、蛋白酶体抑制剂和免疫调节剂)的成年复发或难治性多发性骨髓瘤(RRMM)患者。2022年5月,Blenrep在国内批准上市,用于治疗至少接受过一种既往治疗的多发性骨髓瘤成人患者。
Blenrep基本信息(部分)

图片来源:药融云全球药物研发数据库
Abecma是百时美施贵宝(BMS)与蓝鸟生物(Bluebird)联合开发的全球首款靶向BCMA的CAR-T细胞疗法,2020年5月率先在欧盟获批上市,后于2021年3月在美国获批,用于4线治疗后(包括免疫调节剂、蛋白酶体抑制剂以及抗体类药物治疗)的复发或难治性多发性骨髓瘤的成年患者。
Abecma基本信息&特殊审批信息

图片来源:药融云美国FDA批准药品数据库
西达基奥仑赛(cilta-cel)是由强生旗下杨森公司(Janssen)和传奇生物合作开发的BCMA CAR-T产品,于2022年2月获得美国FDA批准上市,用于治疗复发或难治性多发性骨髓瘤(R/R MM)患者,这些患者既往接受过四种或四种以上的治疗,包括蛋白酶体抑制剂、免疫调节剂和抗CD38单克隆抗体。这也是FDA批准的第二款靶向BCMA的CAR-T疗法。
值得一提的是,这是首款国产的CAR-T免疫疗法获得FDA批准上市,意味着中国的CAR-T疗法正式登上世界舞台,是中国抗癌史上又一值得纪念的里程碑。
西达基奥仑赛研发详情查询

图片来源:药融云全球药物研发数据库
Tecvayli(teclistamab)也是由强生集团旗下杨森公司研发,是第一个被批准用于治疗多发性骨髓瘤的双特异性疗法,也是第一个被批准用于靶向BCMA的双特异性抗体。在2020年10月首次获得了EMA授予的孤儿药资格认定,后于2022年10月获得美国FDA的上市批准,用于治疗复发/难治性多发性骨髓瘤(RRMM)成人患者,这些患者已经接受至少4种以上前期疗法,包括免疫调节剂,蛋白酶体抑制剂和抗CD38抗体。目前,在国内处于III期临床试验阶段。
teclistamab国内III期临床试验信息(CTR20221039)

图片来源:药融云中国临床试验数据库
二、靶向BCMA的CAR-T细胞免疫疗法
CAR-T细胞疗法作为肿瘤治疗的革命性疗法,名声在新兴的免疫治疗领域是非常的响亮,CAR-T疗法的商业化进展也成为最受关注的焦点之一。药融云数据库显示,目前全球共有8款CAR-T疗法获批上市。其中,有2款国产靶向CD19的CAR-T疗法已在中国获批,分别为复星医药/吉利德/第一三共制药的阿基仑赛和药明巨诺/明聚生物的瑞基奥仑赛。
靶向BCMA的CAR-T疗法,通过对患者T细胞在体外进行工程化处理,以表达对BCMA特异的CAR,从而靶向MM细胞。它的优势在于,修饰后的CAR-T细胞在单次输注后就能在人体内扩增,这可能给机体带来针对癌细胞的持久免疫力,意味着患者有望实现一次性给药并获得“治愈”。
截至目前,暂时还没有国产靶向BCMA的CAR-T疗法获批上市。不过国内竞争形势已日趋激烈,药企们火力全开,纷纷争夺国产首款BCMA靶向CAR-T疗法。
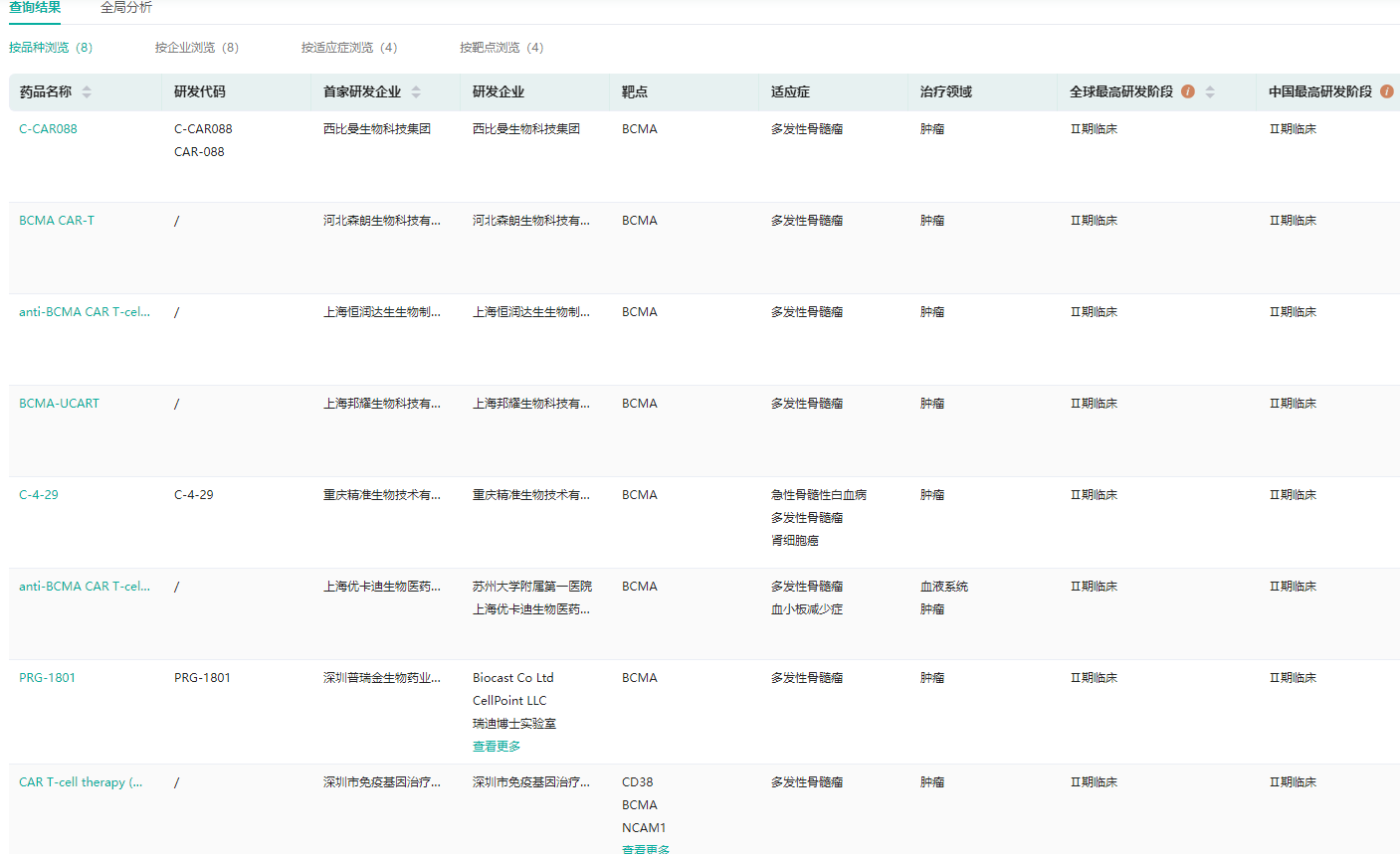
药融云数据库显示,目前进度较快处于申请上市阶段的有驯鹿医疗/信达生物的equecabtagene autoleucel(CT-103A)、科济药业的zevorcabtagene autoleucel(泽沃基奥仑赛),以及传奇生物的西达基奥仑赛;处于II期临床阶段的有邦耀生物的BCMA-UCART,普瑞金生物的PRG-1801,西比曼生物的C-CAR088,森朗生物的BCMA CAR-T等等。
国内处于II期临床阶段的靶向BCMA CAR-T疗法

图片来源:药融云全球药物研发数据库
总的来说,驯鹿生物/信达生物、科济生物和传奇生物已经组成国内BCMA CAR-T第一梯队,之后,入局者越来越多是大势所趋。期待国产产品早日获批,帮助多发性骨髓瘤患者解除耐药困境,造福更多的复发患者。
想要解锁更多药物靶点信息吗?查询药融云数据库(vip.pharnexcloud.com/?zmt-mhwz)掌握各药物靶点药物基本信息、上市药物情况、销售情况与各维度分析、药企药物研发进展、市场规模与前景等,以及帮助企业抉择可否投入仿制与研发时提供数据参考!!注册立享15天免费试用!

<END>







川公网安备51019002008863号
本网站未发布麻醉药品、精神药品、医疗用毒性药品、放射性药品、戒毒药品和医疗机构制剂的产品信息
收藏
登录后参与评论
暂无评论