
随着3月末的临近,中药上市公司陆陆续续开始发布2024年报。截至目前,已有十余家中药企业对外公布了2024年的经营成绩单,有人欢喜有人忧。从已披露的数据来看,整体营收呈现出明显的分化态势,头部企业如华润三九、片仔癀实现“营收+净利润双增长”表现亮眼,展现出市场波动中的发展韧性,业绩稳健提升,而部分企业则面临营收或净利润下滑的挑战。
👀 华润三九、片仔癀领跑,老牌中药企的增长与突破
在已公布的中药企业2024年度报告中,华润三九和片仔癀凭借稳定的“双增长”表现,成功领跑市场。
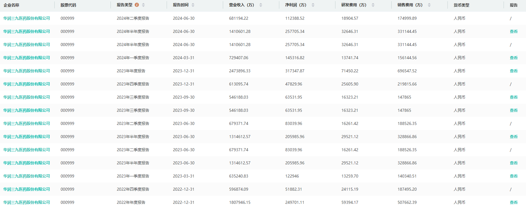
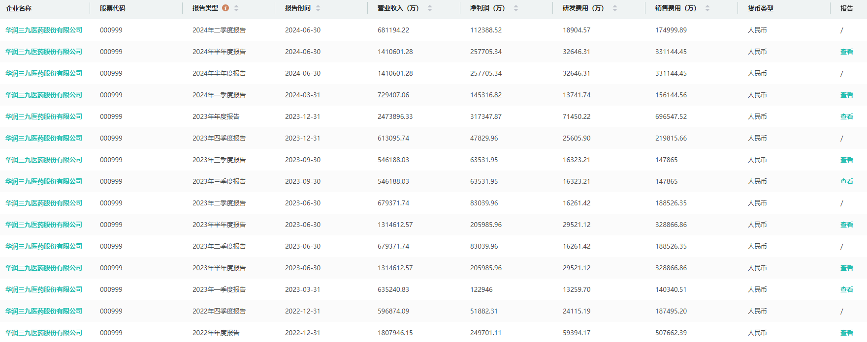
华润三九2024年实现营业收入276.17亿元,同比增长11.63%;净利润更是首次突破30亿元大关,达到33.68亿元,同比增长18.05%。从细分业务来看,自我诊疗(CHC)业务板块营收124.82亿元,在总营收中占比45.2%;处方药实现营收40.06亿元,占比21.75%;传统国药(昆药)实现营收52.13亿元,占比18.88%。
华润三九历年财报数据查询(部分)

图片来源:摩熵医药上市医药企业年报数据库
片仔癀2024年实现营业总收入107.69亿元,同比增长7.06%;净利润29.74亿元,同比增长6.32%。事实上,对于这家被誉为“药中茅台”的医药企业来说,营收与利润的双增长已是常态。据摩熵医药数据库统计显示,2018年至2021年期间,片仔癀的营业收入、净利润同比增长率均维持在双位数,营业收入同比增长率最高可达28.33%,净利润同比增长率最高可达45.46%。2022年起,其营业收入和净利润增长速度有所放缓,但也保持了积极的上升趋势。
此外,东阿阿胶也实现了营收和净利润的“双增长”。其2024年营业收入59.21亿元,同比增长25.57%;净利润15.57亿元,同比增长35.29%。从业绩增幅来看,东阿阿胶25.57%的增幅尤为抢眼。在产品构成上,最大业绩贡献的仍然是阿胶产品,阿胶及系列产品营业收入55.44亿,占比93.64%;其他药品及保健品贡献的营收约为2.36亿元,约占总营收的3.98%;毛驴养殖及销售贡献的营收约为0.69亿元,约占总营收的1.17%。
值得一提的是,从营业总收入来看,白云山以749.93亿元位居榜首,但同比下降了0.7%。其净利润更是降至28.4亿元,同比下降30.1%,成为自2018年重组以来净利润表现最为平淡的一年。
白云山旗下收入最高的明星单品枸橼酸西地那非片(即“金戈”)2024年营收为10.34亿元,同比下滑19.81%。据摩熵医药数据库显示,从2015年至2019年,“金戈”在医院端市场的销量持续攀升,并于2019年达到销售峰值7644.51万元。然而,自2020年起,“金戈”的销售量开始下滑,2021年更是出现了超过50%的大幅下降,此后市场规模一直维持在3000万元左右。










川公网安备51019002008863号
本网站未发布麻醉药品、精神药品、医疗用毒性药品、放射性药品、戒毒药品和医疗机构制剂的产品信息
收藏
登录后参与评论
暂无评论