
进入到2022年的尾声,各个制药公司都在陆续更新第三季度的财报。是回顾,是展望,也是知己知彼的好时候。

刚进入11月,礼来公司(NYSE: LLY)在1日公布了最新第三季度的财报。总体来说,该公司第三季度稳健,关键产品持续增长。前三季度营收212.4亿美元,同比增长5%;第三季度全球收入69.4 亿美元,同期对比增长了2%,得益于全球销售总量增长了14%。此外,2022年第三季度研发费用增长6%,达18.0亿美元,占收入的26%,缘于后期资产开发费用的增加。
主要增长产品包括Verzenio,Trulicity,Mounjaro,Jardiance,Taltz,Emgality,Retevmo,Cyramza,Tyvyt和Olumiant,总共增长了19%,占2022年第三季度收入的70%,不包括COVID-19相关产品的收入。
其中,礼来在今年下半年推出的重磅降糖药tirzepatide(商品名为Mounjaro®)的收入数据极为耀眼,该药定价974美元,在半年时间里,Mounjaro在美国的销售额达到了9730万美元,在日本销售和分销的销售合作协议达到了9000万美元,全球收入为1.873亿美元。
tirzepatide为GLP-1R/GIPR双靶点激动剂,最早于2022年5月13日获美国FDA批准上市,用于改善成人2型糖尿病患者的血糖控制。该产品是近10年来首个新糖尿病药物类型,也是美国FDA在2022年上半年批准的16个新药中唯一的多肽类药。礼来表示,计划在2022年启动滚动提交tirzepatide用于肥胖或超重伴有体重相关合并症的快速通道,并在SURMOUNT-2数据可用后不久完成,预计将于2023年4月完成提交。
在国内,礼来已于今年9月7日向CDE递交了该重磅降糖药——替尔泊肽注射液用于在饮食控制和运动基础上改善成人2型糖尿病患者血糖控制的注册申请。

截图来源:CDE官网
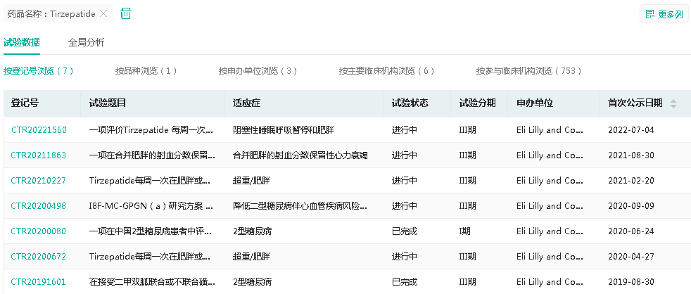
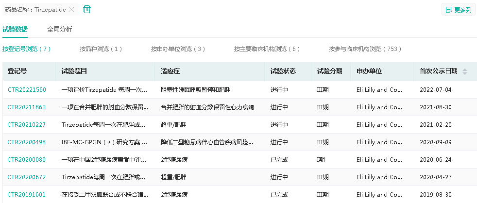
除此之外,Tirzepatide还在国内布局了心血管系统疾病、NASH、睡眠呼吸暂停等适应症的研发。
Tirzepatide在国内开展登记的临床试验

截图来源:药融云中国临床试验数据库
据药融云数据库查询可见,目前国内布局GLP-1类新药(含多靶点)的企业有:恒瑞医药、豪森药业(翰森制药)、先为达、华东医药及道尔生物、锐格医药、众生睿创、信达生物、奥达生物、硕迪生物、北京质肽生物、甘李药业、安源医药、博瑞生物、石药集团、东阳光、银诺医药、仁会生物、鸿运华宁、闻泰医药、华健未来、诺泰生物、昂博制药、赛诺生物、麦科奥特、北京东方百泰生物、恒诺康、晟斯生物、乐普医疗、诚益生物、领康Leadermed、派格生物、惠升生物、和煦加医药、中晟全肽、常山生化/常山凯捷健生物等。
信息参考:
[1] CDE官网
[2] 礼来官网https://investor.lilly.com/
[3] 药融云数据库
<END>







川公网安备51019002008863号
本网站未发布麻醉药品、精神药品、医疗用毒性药品、放射性药品、戒毒药品和医疗机构制剂的产品信息
收藏
登录后参与评论
暂无评论