
12月22日,NMPA发布最新一批药品批准证明文件送达信息,其中,成都康弘药业的草酸艾司西酞普兰口服溶液获批上市,斩获该TOP1抗抑郁药物新剂型的国内首仿药+首家过评。


截图来源:NMPA官网
艾司西酞普兰原研来自丹麦灵北,2002 年获FDA批准在美国上市,2006年进入我国市场,商品名为“来士普”。艾司西酞普兰凭借对于重度抑郁症的临床治愈率更高和安全性更好受到医生患者的青睐,从而快速成为目前抗抑郁药物的首选药物之一。
据2019年世界卫生组织(WHO)数据,全球几乎每20人中就有1人可能患有抑郁症。而在国内,有数据显示,中国抑郁症患者数量已经超过9500万人,每年有20万人因抑郁症自杀。据药融云统计,2021年抗抑郁药物院内市场销售总额超66亿元,其中,草酸艾司西酞普兰片以13.3亿元的销售额问鼎榜首。


截图来源:药融云全国医院销售数据库
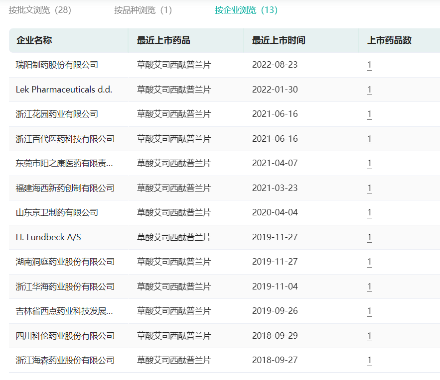
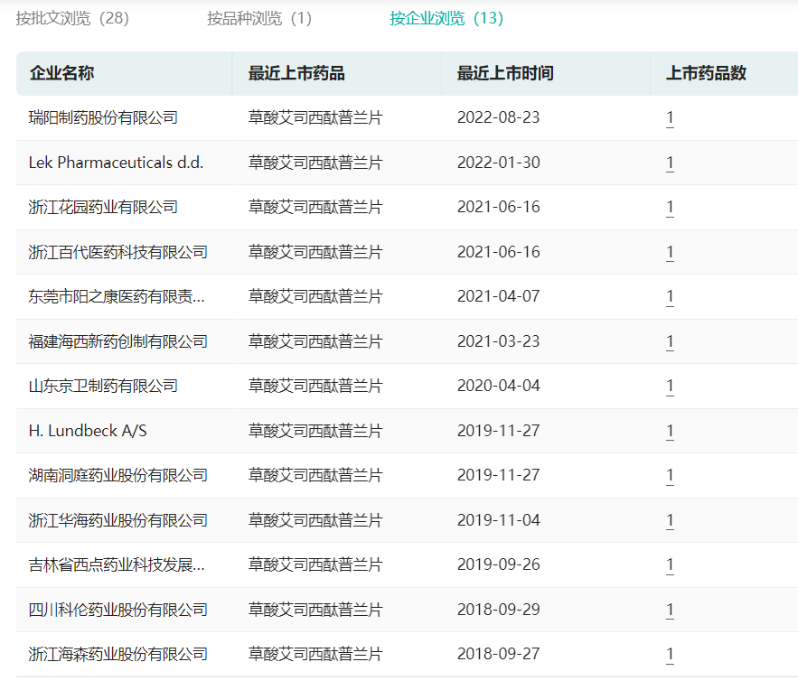
此前国内的草酸艾司西酞普兰仅有片剂获批上市,原研灵北、山东京卫、科伦药业三家药企基本垄断整个市场。随着本土药企的仿制药获批上市与市场发力,至2021年原研丹麦灵北的份额已缩水至24%,四川科伦药业、山东京卫制药合力占据该抗抑郁药物市场的超6成份额。目前片剂已有科伦药业、京卫制药、湖南洞庭药业、浙江华海药业等多家药企过评。
草酸艾司西酞普兰片国内上市批文情况(按企业)

截图来源:药融云中国药品批文数据库
本次成都康弘药业的草酸艾司西酞普兰口服溶液获批上市,为该TOP1抗抑郁药物口服溶液制剂的国内首仿药+首家过评。另有浙江国镜药业、太阳升医药递交上市申请,均在审评审批中。
[1]NMPA官网
[2] 药融云数据库
想要解锁更多药品信息吗?查询药融云数据库(vip.pharnexcloud.com/?zmt-mhwz)掌握药品上市情况、药品批文信息、销售情况与各维度分析、市场竞争格局、药企申报审批信息、最新动态与前景等,以及帮助企业抉择可否投入时提供数据参考!注册立享15天免费试用!

—END—







川公网安备51019002008863号
本网站未发布麻醉药品、精神药品、医疗用毒性药品、放射性药品、戒毒药品和医疗机构制剂的产品信息
收藏
登录后参与评论
暂无评论