
近日,成都康弘药业公告,公司近日收到国家药品监督管理局(NMPA)签发的关于盐酸卡利拉嗪胶囊的《药物临床试验批准通知书》,同意开展临床试验,用于治疗成人精神分裂症。目前,国内尚无同品种获批上市。

截图来源:企业公告
盐酸卡利拉嗪胶囊(Cariprazine hydrochloride Capsules)原研来自艾伯维,用于治疗成人精神分裂症,最早于2015年在美国批准上市,后于2017年7月获批在欧盟上市。据药融云估算,2021年,盐酸卡利拉嗪全球销售额超17亿美元,同比增长79%,增长势头迅猛,且还在扩展新适应症,被誉为精神类潜在的重磅产品。
盐酸卡利拉嗪全球销售情况

截图来源:药融云全球药物研发数据库
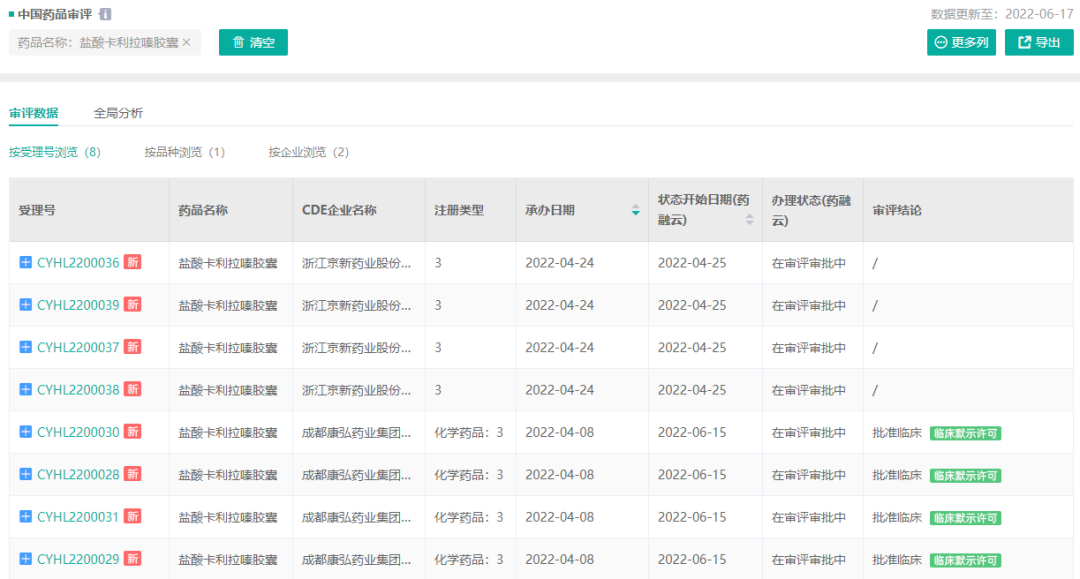
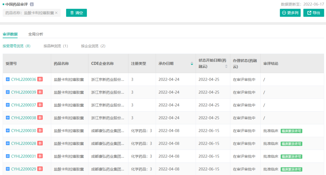
据查询,盐酸卡利拉嗪胶囊尚未在中国获批上市。截止目前,成都康弘药业、浙江京新药业已先后递交了盐酸卡利拉嗪胶囊3类仿制化药的临床申请,其中成都康弘药业已获得临床批件,预计后者也将不日获批。
盐酸卡利拉嗪胶囊申报情况

截图来源:药融云中国药品审评数据库
参考来源:
[1] NMPA官网
[2] 药融云数据库
想要解锁更多药企仿制药最新进展信息吗?查询药融云数据库(https://www.pharnexcloud.com/?zmt-mhwz)掌握药企仿制药申报情况、审批信息、最新进展、一致性评价、市场竞争格局、销售情况,市场规模与前景,可否投入!注册立享15天免费试用和虎年首份医药数据大礼包!

—END—







川公网安备51019002008863号
本网站未发布麻醉药品、精神药品、医疗用毒性药品、放射性药品、戒毒药品和医疗机构制剂的产品信息
收藏
登录后参与评论
暂无评论