
据药融云《全球在研新药与靶点月报》数据统计,2023年7月获CDE承办的药品受理号共有227个,包括136个化药1类新药(含补充申请26个),87个1类治疗用生物制品(含补充申请21个),4个1类中药。
同时,7月共有146款新药获批临床(共计248个受理号),其中包括75款化药,66款生物制品,5款中药;本月还有5款新药获批上市。
2023年7月国内获批上市的新药
图片来源:药融云《全球在研新药与靶点月报》
1. 艾加莫德α注射液——国内首个获批的FcRn拮抗剂
国家药品监督管理局(NMPA)接受了艾加莫德α注射液(皮下注射)的生物制品上市许可申请(BLA),用于治疗成人全身型重症肌无力(gMG)患者。艾加莫德是一款人IgG1抗体的Fc片段,可与新生儿Fc受体(FcRn)结合,旨在减少致病性免疫球蛋白G(IgG)抗体并阻断IgG循环。
同时,艾加莫德α注射液也是国内首个且目前唯一获批的FcRn拮抗剂。再鼎医药与argenx达成独家授权合作,在大中华区开发和商业化艾加莫德。重症肌无力是一种罕见的慢性自身免疫性疾病,全世界约有70万名患者。
药融云数据库显示,艾加莫德正在几种已知的由致病性IgG抗体介导的自身免疫性疾病中开展静脉输注和皮下注射剂型的临床研究,包括神经肌肉疾病、血液疾病和以皮肤严重起泡为特征的慢性皮肤疾病。
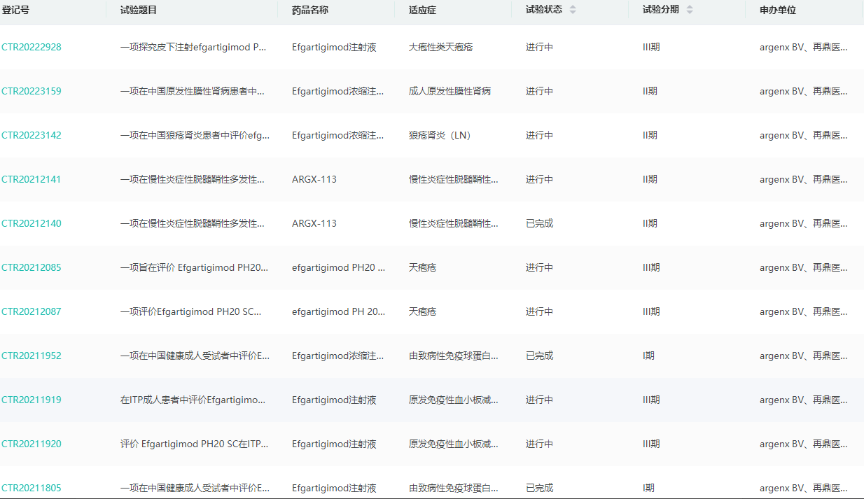
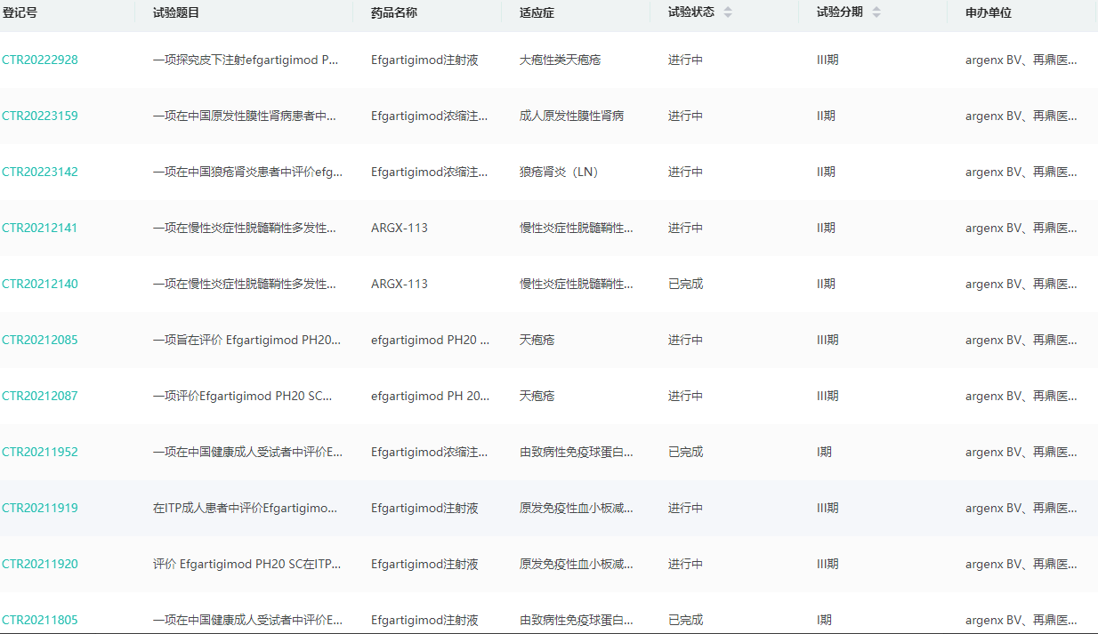
艾加莫德α注射液国内临床试验详情查询

图片来源:药融云中国临床试验数据库
2. 盐酸纳呋拉啡口崩片——治疗血透患者瘙痒症
三生制药与日本东丽合作产品盐酸纳呋拉啡口崩片获批上市,用于改善血液透析患者现有治疗疗效不理想的瘙痒症。这是首个也是唯一获得国家药品监督管理局批准用于血液透析患者难治性瘙痒症的选择性阿片κ受体激动剂。
药融云数据库显示,盐酸纳呋拉啡口崩片已于2023年5月获批新适应症临床默示许可,用于改善慢性肝病患者的瘙痒症临床试验申请。
盐酸纳呋拉啡口崩片新适应症获批临床

图片来源:药融云中国药品审评数据库
血液透析患者常伴有贫血、高血压、钙磷代谢异常、甲状旁腺功能亢进、瘙痒症等多方面的并发症,其中大多患者的瘙痒症目前仍然没有公认有效的治疗方法。盐酸纳呋拉啡口崩片成功进入中国市场,为我国血液透析患者的瘙痒症患者带来新的治疗选择。
3.盐酸替洛利生薄膜衣片——一线治疗发作性睡病
琅铧医药引进的盐酸替洛利生薄膜衣片(Pitolisant,商品名:铧可思)在国内获批上市,用于治疗发作性睡病(Narcolepsy)成人患者的日间过度嗜睡(EDS)或猝倒;是唯一在中国获批发作性睡病适应症的创新药、也是唯一的非精神管控药品,已被推荐用于发作性睡病的一线治疗。
Pitolisant由Bioprojet研发,是一款first-in-class选择性组胺3(H3)受体拮抗剂/反向激动剂,通过增加大脑中促进觉醒的神经递质组胺的合成和释放来发挥作用,于2019年8月获FDA批准上市。此外,替洛利生在欧洲药品管理局(EMA)获得了孤儿药认定,并且被美国FDA认定为突破性治疗药物。
Pitolisant特殊审批
图片来源:药融云全球药物研发数据库
发作性睡病(Narcolepsy)是一种罕见神经系统疾病,临床上以日间过度嗜睡(excessive daytime sleepiness,EDS)、猝倒(cataplexy)、入睡前幻觉、睡眠瘫痪和夜间睡眠紊乱为主要特征。
目前在我国上市的常用药物均无发作性睡病适应症,且多数为一类精神管控药品,极大降低了药物可及性。我国发作性睡病患者身陷 “困”境,存在极大的未被满足的治疗需求。随着Pitolisant在国内获批,将为他们带来生活的希望。
4.卡替拉韦——GSK长效HIV疗法
NMPA批准葛兰素史可的新药卡替拉韦片和卡替拉韦注射液(卡博拉韦、cabotegravir)上市,用于治疗HIV。卡替拉韦(商品名:Vocabria )是一款HIV整合酶链转移抑制剂(INSTI),抑制病毒DNA整合到人体免疫细胞的基因组中,一种创新的长效HIV疗法。
据药融云全球药物研发数据库显示,卡替拉韦已在包括美国、韩国和澳大利亚等海外多个国家上市,此前还曾被FDA授予用于HIV暴露前预防的突破性疗法资格。
卡替拉韦特殊审评
图片来源:药融云全球药物研发数据库
卡替拉韦通过与利匹韦林联用,每月只需注射一次,可用于病毒已得到抑制且稳定的患者,替代传统的抗病毒疗法。卡替拉韦/利匹韦林(Cabenuva)将用药频次从一年365次降低到12次。
卡替拉韦钠片是通过与利匹韦林注射液联用进行HIV抗病毒的片剂药物,大大减少患者的用药次数,从每年365次减少到仅需6次或(12次),将极大地改善患者的治疗体验和便利性。而卡替拉韦注射液则无需与其他药物联合治疗,这种注射方案只需要每个月(或每2个月)注射一次,适用于病毒得到有效控制且稳定的患者,取代了传统的抗病毒药物治疗。
<END>
想要获取药融云7月《全球在研新药与靶点月报》的全部内容,可以关注“药融云”公众号,后台回复“报告”关键词进行领取。








川公网安备51019002008863号
本网站未发布麻醉药品、精神药品、医疗用毒性药品、放射性药品、戒毒药品和医疗机构制剂的产品信息
收藏
登录后参与评论
暂无评论