
日前,据NMPA官网公示,江苏康缘药业的4类仿制化药吡仑帕奈片获批上市,视同通过一致性评价,斩获该品种首仿。

截图来源:NMPA官网
吡仑帕奈(perampanel)原研企业为日本卫材,是FDA批准的首个且目前唯一的用于癫痫治疗的非竞争性AMPA受体拮抗剂,通过靶向突触后AMPA受体-谷氨酸的活动(谷氨酸是介导癫痫发作的主要神经递质),减少与癫痫发作相关神经元的过度兴奋。吡仑帕奈片剂于2019年在中国获批上市。
根据卫材财报,吡仑帕奈的2022年全球销售额约合18.6亿人民币(约3亿美元)。据药融云数据统计,2022年全国院内销售达7329万元,同比增长219%,一跃进入抗癫痫药全国医院销售TOP15内的产品,市场潜力可期。

截图来源:药融云全国医院销售数据库
癫痫是一种由多种病因引发的慢性脑部疾病,发作时患者会失去意识。如果不及时治疗终止癫痫持续状态,可能会导致高热、循环衰竭或神经元兴奋毒性损伤,从而造成不可逆的脑损伤,致残率和病死率较高。
自今年4月,国家药监局已将吡仑帕奈纳列为第二类精神药品目录,7月1日起施行。据弗若斯特沙利文分析,我国癫痫持续状态患者在2016年为54.4万人,至2020年已增长至75.3万人,预计到2024年将突破100万人。随着癫痫患者群体的不断增长,预计到2025年我国抗癫痫药物市场将达到48亿元。
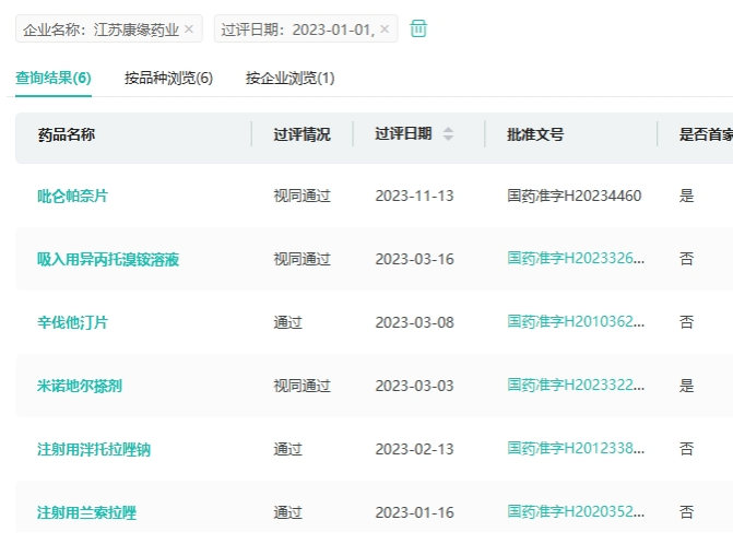
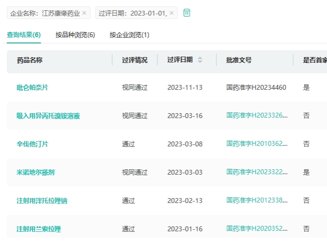
2023年至今江苏康缘药业有吸入用异丙托溴铵溶液、辛伐他汀片、注射用泮托拉唑钠、注射用兰索拉唑、米诺地尔搽剂、吡仑帕奈片6个品种获批,其中米诺地尔搽剂是首家过评品种,而此次获批的吡仑帕奈片是康缘药业今年首个获批的首仿药。作为国内首家获批的吡仑帕奈仿制药,康缘药业有望在50亿元抗癫痫药市场占据一席之地。

截图来源:药融云过评药品汇总
除江苏康缘药业,目前吡仑帕奈片在国内还有江苏万高药、南京海纳制药等7家药企提交了新注册分类仿制药申报,均在审评审批中。
<END>
要解锁更多企业药品研发信息吗?查询药融云数据库(vip.pharnexcloud.com/?zmt-mhwz)掌握药品各国上市情况、药品批文信息、销售情况与各维度分析、市场竞争格局、一致性评价情况、集采中标情况、药企申报审批信息、最新动态与前景等,以及帮助企业抉择可否投入时提供数据参考!注册立享15天免费试用!








川公网安备51019002008863号
本网站未发布麻醉药品、精神药品、医疗用毒性药品、放射性药品、戒毒药品和医疗机构制剂的产品信息
收藏
登录后参与评论
暂无评论