
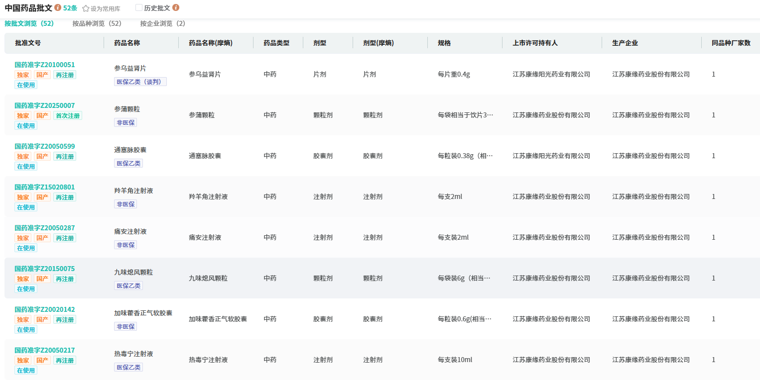
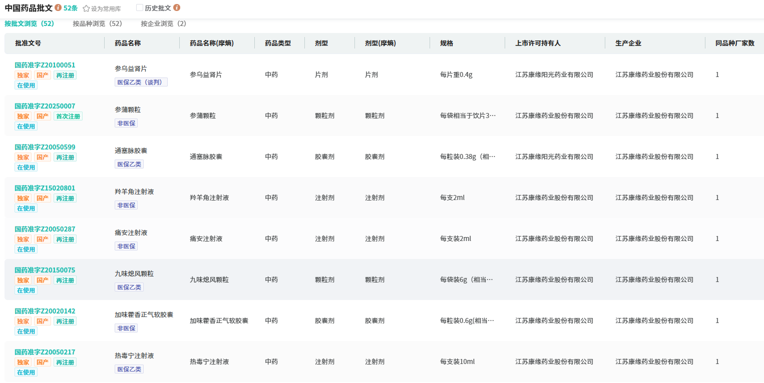
康缘药业作为中药创新龙头,截至目前,已有超50款独家中成药获批,在中药市场占据重要地位。今年,康缘药业在中药新药获批方面成绩斐然,共有3款中药新药获批,其中3.1类新药泻白散颗粒于12月11日首家获批上市,为今年获批的第3款中药新药。

截图来源:摩熵医药中国药品审评数据库
百亿市场再添强劲新品,2款经典名方首家获批
泻白散颗粒是一种清泻肺热、止咳平喘的中药复方制剂,源自宋代《小儿药证直诀》,主要由地骨皮、桑白皮、甘草、粳米组成,适用于肺热壅盛引起的咳嗽、气喘等症状。
据摩熵医药数据库显示,2024年全终端医院中药止咳祛痰平喘用药销售总额突破250亿元,同比增长4.46%;2025年上半年销售额已超110亿元。在这片激烈的市场角逐中,江苏康缘药业凭借8.25%的市场份额,稳稳跻身院内销售前5之列。而泻白散颗粒的获批上市,无疑为康缘药业在这片百亿市场中进一步拓展版图提供了有力支撑。

截图来源:摩熵医药全终端医院销售数据库
值得一提的是,今年获批的3款新药中,参蒲颗粒属于1.1类新药,展现出创新突破性;玉女煎颗粒和泻白散颗粒作为经典名方,康缘药业是这两款经典名方的首家获批企业,彰显出公司在传承经典与创新研发上的卓越能力,其研发实力在业界处于领先地位。

截图来源:摩熵医药中国药品审评数据库
超50款独家中成药获批,3款新药冲刺上市
近年来,公司持续加码中药研发,不断探索突破。在A股中药企业中,康缘药业研发投入始终保持着领先地位。2025年上半年,其研发投入占营收比重达15.01%,金额达3.52亿元,在A股制药企业中名列前茅,足见其对研发创新的重视与投入力度。
不仅如此,康缘药业在创新药研发管线布局上也成果丰硕、亮点纷呈。2025年上半年在研创新药管线项目有79项,其中中药改良型新药7项、经典名方新药19项。截至目前,康缘药业已有超50款独家中药获批上市。










川公网安备51019002008863号
本网站未发布麻醉药品、精神药品、医疗用毒性药品、放射性药品、戒毒药品和医疗机构制剂的产品信息
收藏
登录后参与评论
暂无评论