
4月22日,国家药监局官网发布最新药品获批信息,江苏康缘药业的古代经典名方(3.1 类新药)玉女煎颗粒成功获批,为国内独家产品。
玉女煎颗粒是传统方剂玉女煎的现代颗粒剂型,主要针对胃热阴虚证及相关病症。

截图来源:国家药品监督管理局官网
2020年9月,国家药监局发布的《中药注册分类及申报资料要求》明确了将中药注册按照中药创新药、中药改良型新药、古代经典名方中药复方制剂、同名同方药进行分类,前三类属于中药新药。
2023年我国古代经典名方申报上市产品达到10个,2024年更是达到了17个。2024年,我国古代经典名方审批迎来历史性突破,全年共有10款古代经典名方制剂获批上市,中药审评制度红利正在持续释放。


截图来源:摩熵咨询《数据透视:中药创新药、经典验方、改良型新药、同名同方的申报、获批、销售情况》报告
康缘药业,作为国内大型的现代中药研发、生产、销售企业,在行业内一直颇具影响力。自2020年起,康缘药业便保持着每年都有中药新药获批上市的强劲势头,据摩熵医药数据库显示,目前康缘药业古代经典名方已累计获批4款,而玉女煎颗粒,正是其在2025年收获的首个硕果。
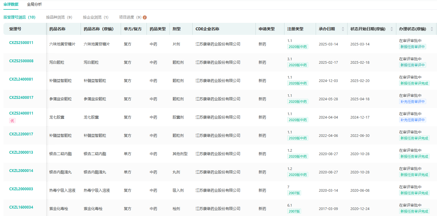
2020年至今康缘药业获批的中药新药

来源:摩熵医药中国药品审评数据库
同时,康缘药业目前有多个中药新药处于上市申报阶段,如纳入优先审评的1类新药龙七胶囊、古代经典名方泻白颗粒等,即将面市。
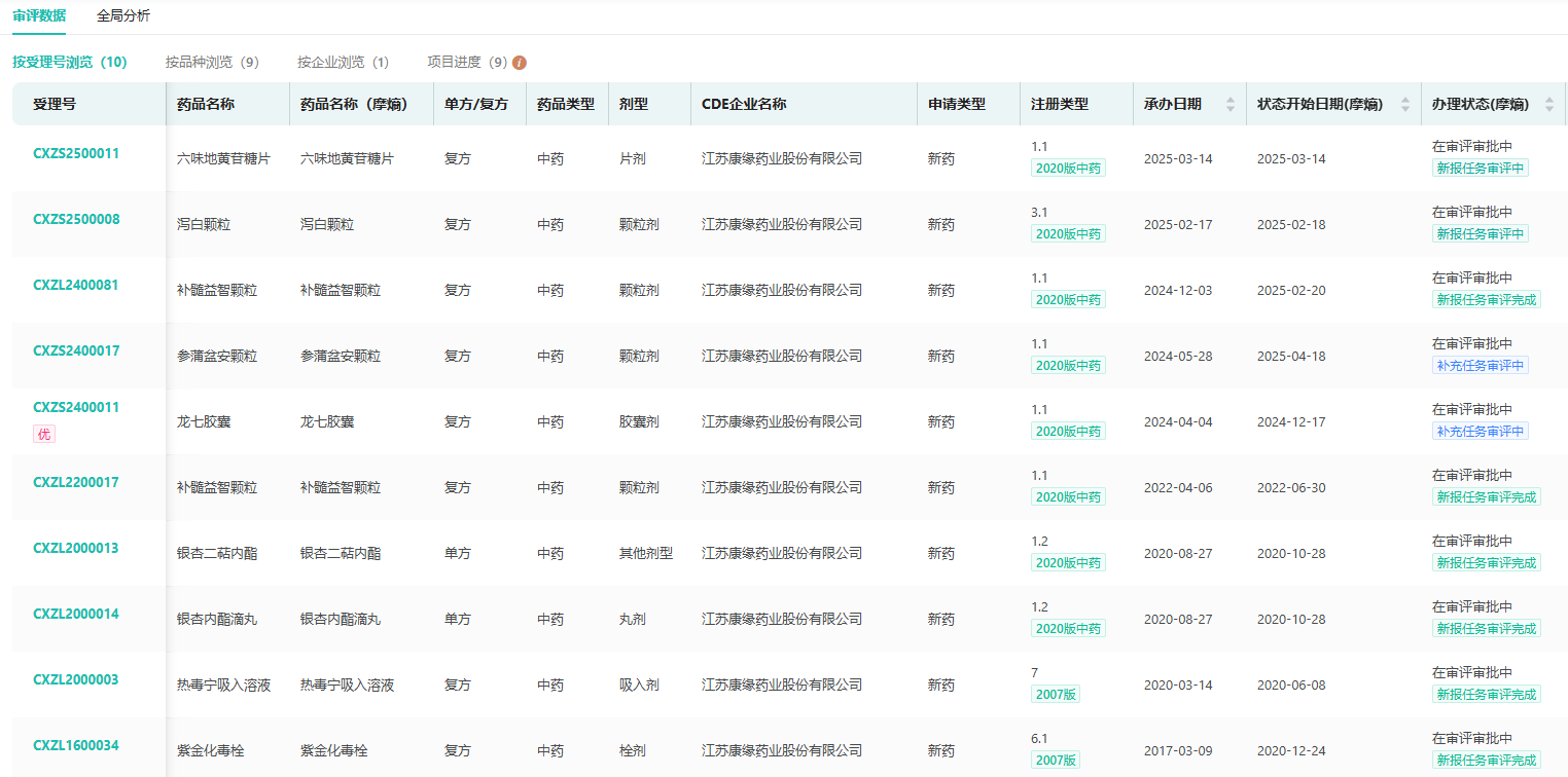
康缘药业申报在审的中药新药

截图来源:摩熵医药中国药品审评数据库
康缘药业研发费用也逐年加大,2023年全年研发费用达7.77亿元,高额研发费用使得其在中药创新领域取得可喜进展,批准临床、批准上市中药数量均位居行业前列。








川公网安备51019002008863号
本网站未发布麻醉药品、精神药品、医疗用毒性药品、放射性药品、戒毒药品和医疗机构制剂的产品信息
收藏
登录后参与评论
暂无评论