
近日,据NMPA官网公示,仁合益康提交的3类仿制化药注射用尼可地尔获批并视同通过一致性评价。目前该品种有超30家药企以新注册分类申报上市,竞争愈发激烈。

截图来源:NMPA官网
尼可地尔目前国内上市的相关制剂仅有普通片剂和注射剂。它是冠脉微血管心绞痛一线用药,可作为硝酸酯类不耐受患者替代用药,同时具有类硝酸酯作用和ATP敏感的钾离子通道开放作用,可使血管平滑肌超极化,减少细胞内钙水平、抑制平滑肌收缩,从而扩张冠状动脉及微血管,具有三重作用靶点,不仅作用于冠状动脉,还作用于微血管和心肌线粒体。
中国冠心病患者数量不断上升,随着病患对硝酸酯类等常用药出现低反应或耐药等现象,近年来尼可地尔临床用药稳定上涨。据药融云数据统计,注射用尼可地尔2022年在全国院内销售近12亿。

截图来源:药融云全国医院销售数据库
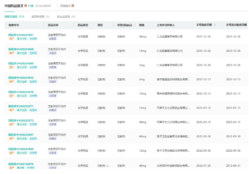
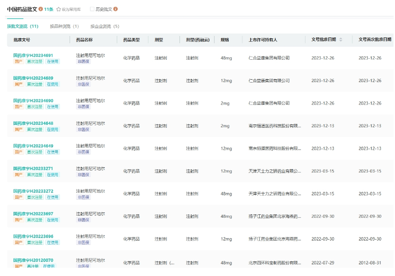
据药融云数据统计,2012年仅有北京四环科宝制药拥有注射用尼可地尔的批文,占据市场近10年。然而,到了2022年9月,扬子江药业的注射用尼可地尔获批上市,打破这一局面,成为国产第2家+国内首家过评。

截图来源:药融云中国药品批文数据库
这个近12亿注射剂潜力可期,吸引到了越来越多国内药企入局抢食,目前还有超30家国内药企提交了仿制上市申请,均在审评审批中,包含石家庄四药、重庆药友制药、山东新时代药业等明星药企均有布局。
目前仁合益康有盐酸西那卡塞片、左乙拉西坦氯化钠注射液、葡萄糖酸钙氯化钠注射液、奥美拉唑碳酸氢钠胶囊等33款药获批并视同通过一致性评价。
<END>
要解锁更多企业药品研发信息吗?查询药融云数据库(vip.pharnexcloud.com/?zmt-mhwz)掌握药品各国上市情况、药品批文信息、销售情况与各维度分析、市场竞争格局、一致性评价情况、集采中标情况、药企申报审批信息、最新动态与前景等,以及帮助企业抉择可否投入时提供数据参考!注册立享15天免费试用!








川公网安备51019002008863号
本网站未发布麻醉药品、精神药品、医疗用毒性药品、放射性药品、戒毒药品和医疗机构制剂的产品信息
收藏
登录后参与评论
暂无评论