
1月31日,GSK公布2023年财报:营收303.28亿英镑,同比增长5%,研发投入62.23亿英镑,占总收入的21%。

GSK业务分为特药(Specialty Medicines)、疫苗(Vaccines)以及普药(General Medicines)三大块。
其中疫苗收入98.26亿英镑,同比增长24%。其非呼吸道合胞病毒(RSV)疫苗Arexvy于2023年5月获FDA批准上市,成为首个预防用RSV疫苗,2023年创收12.38亿英镑(约15.69亿美元,按最新汇率计算1 英镑 ≈ 1.267 美元),成为GSK“重磅药物”。

2023年8月,辉瑞的RSV疫苗Abrysvo获批上市,2023年销售额为8.9亿美元,低于Arexvy。
除了RSV疫苗,GSK还有一款带状疱疹疫苗Shingrix,2023年销售额达34.46亿英镑,同比增长17%,成为GSK销售额最高的单品。
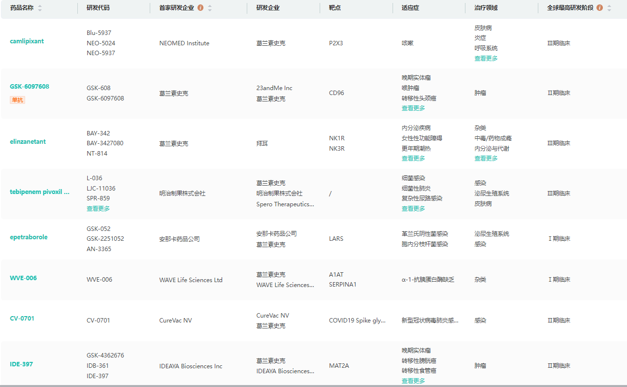
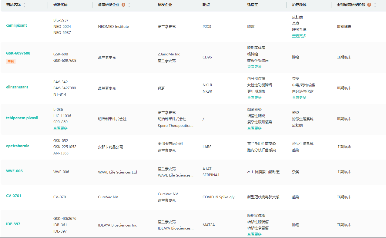
GSK研发管线(部分)

截图来源:药融云全球药物研发数据库
展望2024,GSK收入预计增长5%-7%,调整后营业利润将增加7%-10%。
<END>
要解锁更多企业药品研发信息吗?查询药融云数据库(vip.pharnexcloud.com/?zmt-mhwz)掌握药品各国上市情况、药品批文信息、销售情况与各维度分析、市场竞争格局、一致性评价情况、集采中标情况、药企申报审批信息、最新动态与前景等,以及帮助企业抉择可否投入时提供数据参考!注册立享15天免费试用!








川公网安备51019002008863号
本网站未发布麻醉药品、精神药品、医疗用毒性药品、放射性药品、戒毒药品和医疗机构制剂的产品信息
收藏
登录后参与评论
暂无评论