
近日,据CDE官网公示,九源基因的生物类似药司美格鲁肽注射液的上市申请获得受理,用于成人2型糖尿病患者的血糖控制。为首款申报上市的国产司美格鲁肽,申报路径为3.3类生物类似药。

截图来源:CDE官网
司美格鲁肽原研产品由诺和诺德开发。2021年4月,司美格鲁肽原研首次在中国获批上市,用于辅助饮食和运动以改善2型糖尿病(T2DM)患者的血糖控制,商品名为诺和泰®。
司美格鲁肽是一款长效GLP-1(胰高血糖素样肽-1)受体激动剂。主要用于治疗2型糖尿病和体重管理。作为目前最畅销的GLP-1类药物,诺和诺德的司美格鲁肽产品在2023年取得了显著成绩,其中Ozempic销售额达138.89亿美元,同比增长60%;口服版Rybelsus销售额为27.20亿美元,增长66%,并已在国内获批;而减重版Wegovy销售额更是高达45.48亿美元,同比增长达到407%。

截图来源:药融云全球药物研发数据库
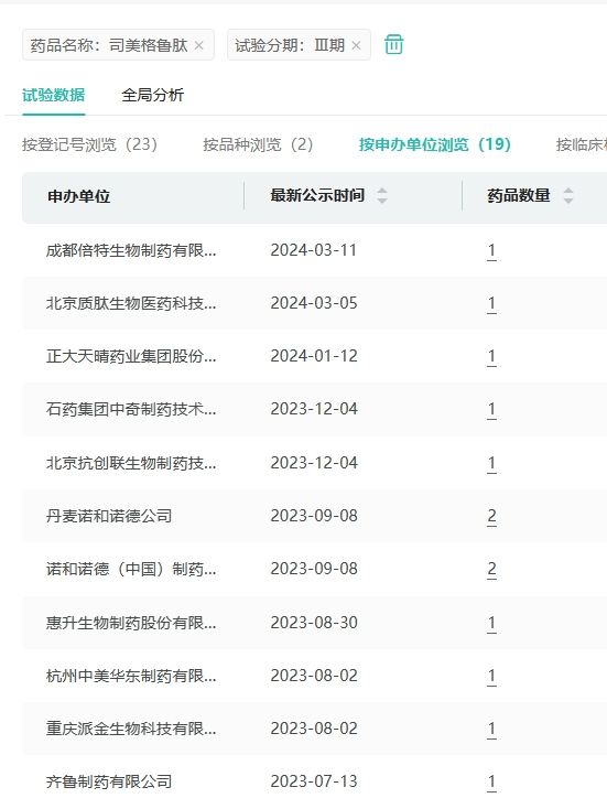
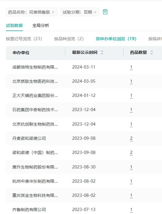
司美格鲁肽在市场上的卓越表现,吸引了众多国内药企纷纷投入仿制研发。目前,已有九源基因、华东医药、博唯生物、四环医药、珠海联邦、齐鲁制药、丽珠集团、石药集团、正大天晴、质肽生物以及倍特药业等超十家药企进入该药物的三期临床阶段,竞争态势激烈,展现出降糖药市场的巨大潜力和广阔前景。

截图来源:药融云中国临床试验数据库
司美格鲁肽在中国的专利原定于2026年到期,然而,华东医药曾提出无效申请。对此,诺和诺德于去年向北京知识产权法院提起上诉,目前该诉讼的结果尚未对外公布。根据诺和诺德最新发布的2023年年报,司美格鲁肽在中国的专利保护期仍然维持为2026年。

<END>
要解锁更多企业药品研发信息吗?查询药融云数据库(vip.pharnexcloud.com/?zmt-mhwz)掌握药品各国上市情况、药品批文信息、销售情况与各维度分析、市场竞争格局、一致性评价情况、集采中标情况、药企申报审批信息、最新动态与前景等,以及帮助企业抉择可否投入时提供数据参考!注册立享15天免费试用!








川公网安备51019002008863号
本网站未发布麻醉药品、精神药品、医疗用毒性药品、放射性药品、戒毒药品和医疗机构制剂的产品信息
收藏
登录后参与评论
暂无评论