
5月8日,据CDE官网显示,成都苑东生物制药递交的4类仿制化药吡仑帕奈片(受理号:CYHS2401346)的上市申请获受理,猛攻国产第3家。吡仑帕奈片除原研,目前国内仅江苏康缘药业、江西科睿药业2家药企获批。(相关阅读:

截图来源:CDE官网
吡仑帕奈(perampanel)原研企业为日本卫材,是FDA批准的首个且目前唯一的用于癫痫治疗的非竞争性AMPA受体拮抗剂,通过靶向突触后AMPA受体-谷氨酸的活动(谷氨酸是介导癫痫发作的主要神经递质),减少与癫痫发作相关神经元的过度兴奋。吡仑帕奈片剂于2019年在中国获批上市。
根据卫材财报,吡仑帕奈的2022年全球销售额约合18.6亿人民币(约3亿美元)。据药融云数据统计,2022年全国院内销售达7329万元,同比增长219%,一跃进入抗癫痫药全国医院销售TOP15内的产品;2023年(截止Q3)全国院内市场销售额突破亿元大关,同比增长达36.96%,市场潜力可期。

截图来源:药融云全国医院销售数据库
2023年3月,我国《临床诊疗指南·癫痫病分册(2023 修订版)》正式发布,其中更新了用药推荐:吡仑帕奈可作为一线用药用于新诊断局灶性发作的患者;此外还被推荐用于其他多种发作类型或癫痫综合征;吡仑帕奈于2021年3月被纳入《第二批鼓励仿制药品目录》。2023年5月,卫材的吡仑帕奈口服混悬液在国内获批上市。
据药融云数据显示,江苏康缘药业在2021年8月首家提交了吡仑帕奈仿制上市申请,并于2023年11月获批,拿下首仿。江西科睿药业的吡仑帕奈于2024年1月获批,为国产第二家。此次,成都苑东生物制药若能顺利获批,有望夺得国产第3家。

截图来源:药融云中国药品批文数据库
目前,吡仑帕奈除成都苑东生物制药,还有南京海纳制药、江苏万高药业、安徽泰恩康制药等7家药企提交了仿制申请,均在审评审批中。
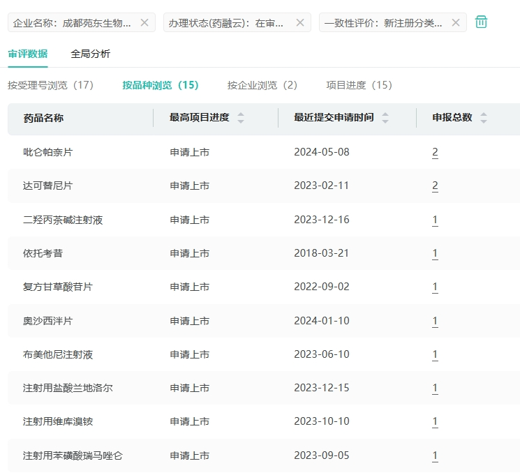
成都苑东生物制药还提交了达可替尼片、二羟丙茶碱注射液、依托考昔、复方甘草酸苷片、布美他尼注射液等14个品种的仿制申请。

截图来源:药融云中国药品审评数据库
2024年至今,成都苑东生物制药已有盐酸纳布啡注射液、酒石酸布托啡诺注射液、注射用尼可地尔3个品种过评。
<END>
要解锁更多企业药品研发信息吗?查询药融云数据库(vip.pharnexcloud.com/?zmt-mhwz)掌握药品各国上市情况、药品批文信息、销售情况与各维度分析、市场竞争格局、一致性评价情况、集采中标情况、药企申报审批信息、最新动态与前景等,以及帮助企业抉择可否投入时提供数据参考!注册立享15天免费试用!








川公网安备51019002008863号
本网站未发布麻醉药品、精神药品、医疗用毒性药品、放射性药品、戒毒药品和医疗机构制剂的产品信息
收藏
登录后参与评论
暂无评论