
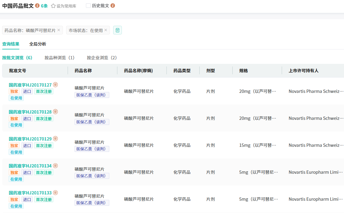
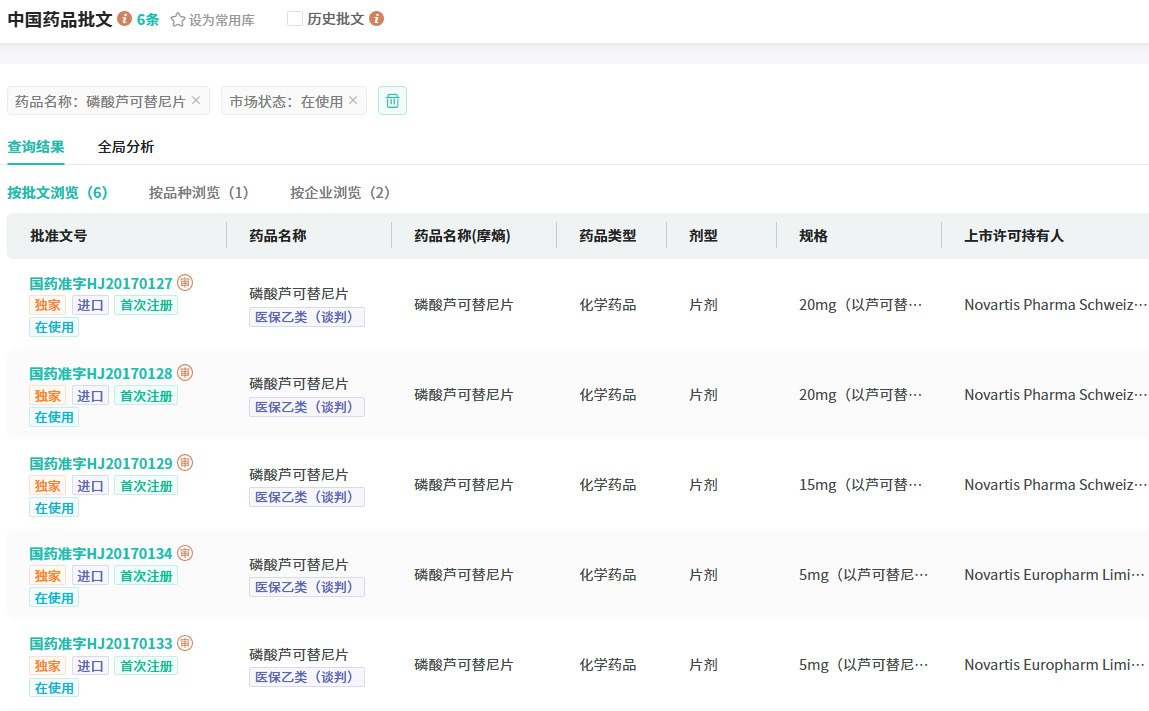
11月21日,成都苑东生物制药提交的4类仿制药磷酸芦可替尼片上市申请获批并视同过评。该产品是一款重磅JAK抑制剂,此前该品种仅有原研产品在国内销售,此次苑东生物获批,为该药物的首家仿制药企。

截图来源:NMPA
$43亿重磅品种首仿,苑东生物与7家药企激战
磷酸芦可替尼片原研企业为Incyte,是一款JAK1/2 抑制剂,2009年诺华与Incyte达成合作协议,获得芦可替尼美国以外市场的商业化权利。最早于2011年11月首次在美国获批上市。据统计,2023年磷酸芦可替尼片的全球销售额合计超过43亿美元。2019年,磷酸芦可替尼片通过医保谈判进入国家医保,该品种进入国家医保后销售额快速攀升,据摩熵医药数据库显示,2023年在全国院内市场的销售额超5亿元,同比增长达21.12%。











川公网安备51019002008863号
本网站未发布麻醉药品、精神药品、医疗用毒性药品、放射性药品、戒毒药品和医疗机构制剂的产品信息
收藏
登录后参与评论
暂无评论