
近日,据NMPA官网公示,成都苑东生物制药的3类仿制药酒石酸布托啡诺注射液获批上市并视同过评,成为国产第4家。据药融云数据统计,该品种在2022年全国院内市场销售额超13亿元。

截图来源:NMPA
酒石酸布托啡诺属于新一代的阿片受体激动‑拮抗剂,主要用于治疗各种癌性疼痛、手术后疼痛和临床麻醉诱导。据药融云数据统计,该品种在2022年全国院内市场销售额超13亿元,而在2023年,截止Q3的最新数据显示,其全国医院销售额近14亿元,市场表现持续强劲,展现出稳步增长的态势。

截图来源:药融云全国医院销售数据库
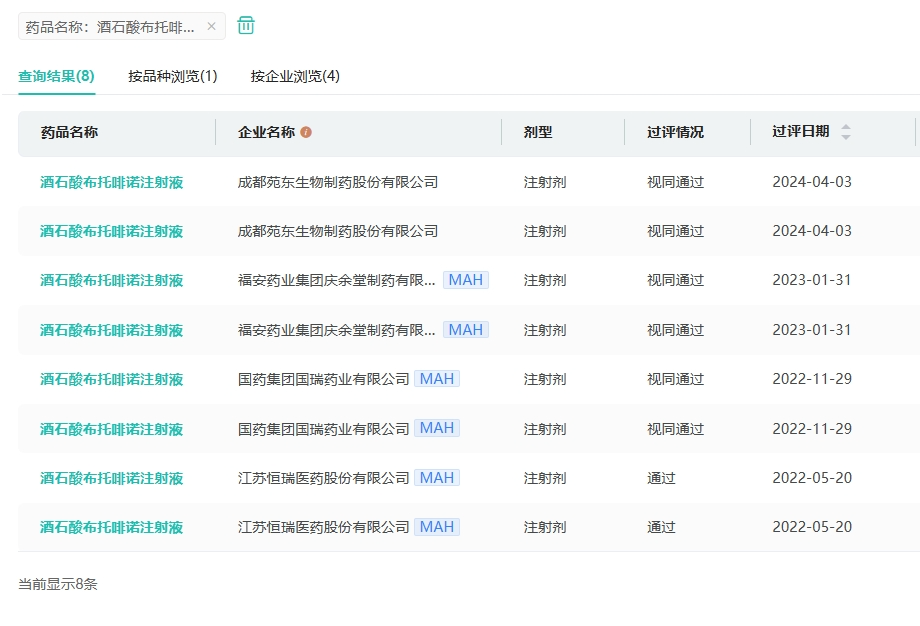
早前,酒石酸布托啡诺注射液市场一直由恒瑞医药独家占据。2002年,江苏恒瑞医药首次获得其生产批文,并在2014年新增了规格。在2022年11月,国药集团国瑞药业的以仿制3类申报的酒石酸布托啡诺注射液上市申请获批,是国产第二家,打破了国内恒瑞一家独大的地位。

截图来源:药融云中国药品批文数据库
福安药业庆余堂制药于2021年9月提交上市申请,历时近一年半获批上市,成为国内第3家。成都苑东生物制药于2022年7月提交上市申请,此次获批,斩获国产第4家。

截图来源:药融云过评药品汇总数据库
在仿制药布局方面,国内还有津药和平(天津)制药提交了酒石酸布托啡诺注射液的仿制申请,均在审评审批中。
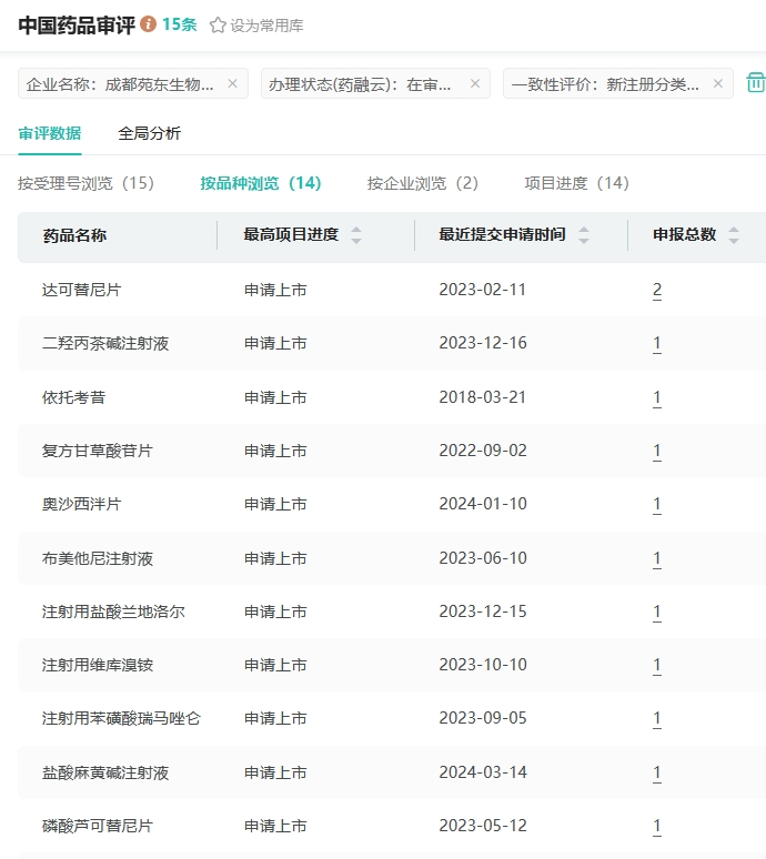
目前,成都苑东生物制药还提交了达可替尼片、二羟丙茶碱注射液、注射用苯磺酸瑞马唑仑、注射用盐酸兰地洛尔等14个品种的仿制申请,均在审评审批中。

截图来源:药融云中国药品审评数据库
此外,成都苑东生物制药已有富马酸比索洛尔片、伊班膦酸钠注射液、丙戊酸钠注射用浓溶液、盐酸纳洛酮注射液等34个品种过评,其中盐酸纳洛酮注射液、伊班膦酸钠注射液、布洛芬注射液、瑞格列奈二甲双胍片(Ⅰ)等8个品种为首家过评。2024年至今,成都苑东生物制药已有盐酸纳布啡注射液、酒石酸布托啡诺注射液、注射用尼可地尔3个品种过评。
<END>
要解锁更多企业药品研发信息吗?查询药融云数据库(vip.pharnexcloud.com/?zmt-mhwz)掌握药品各国上市情况、药品批文信息、销售情况与各维度分析、市场竞争格局、一致性评价情况、集采中标情况、药企申报审批信息、最新动态与前景等,以及帮助企业抉择可否投入时提供数据参考!注册立享15天免费试用!








川公网安备51019002008863号
本网站未发布麻醉药品、精神药品、医疗用毒性药品、放射性药品、戒毒药品和医疗机构制剂的产品信息
收藏
登录后参与评论
暂无评论