
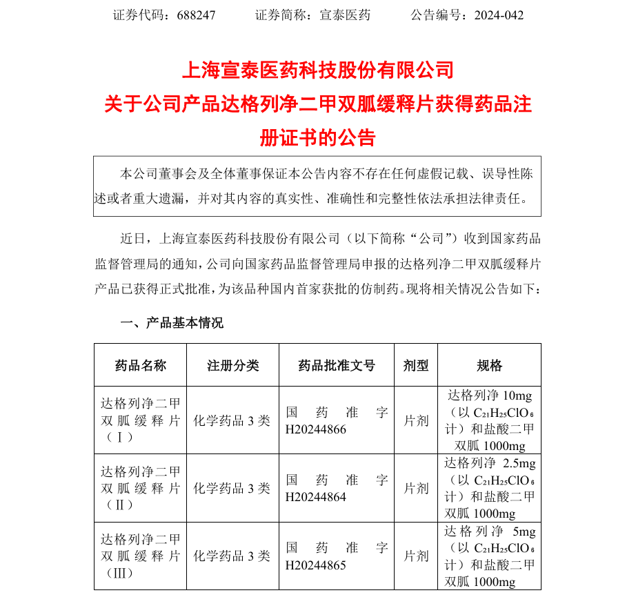
9月19日,上海宣泰医药发布公告,其公司提交的3类仿制药达格列净二甲双胍缓释片获批上市,达格列净二甲双胍缓释片为国内首家获批的仿制药,用于治疗2型糖尿病。

截图来源:企业公告
达格列净二甲双胍缓释片原研由阿斯利康公司研发,于2023年6月在中国获批上市,已纳入医保乙类支付。据企业公告显示,2023年达格列净二甲双胍缓释片在全球市场的销售量约20亿片,销售额约16亿美元。据药融云数据库显示,达格列净二甲双胍缓释片在2024年Q1全国院内市场销售额达184.62万元。

截图来源:药融云全国医院销售数据库
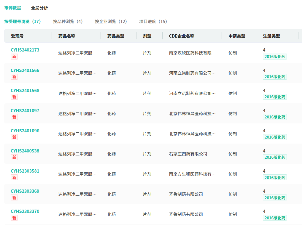
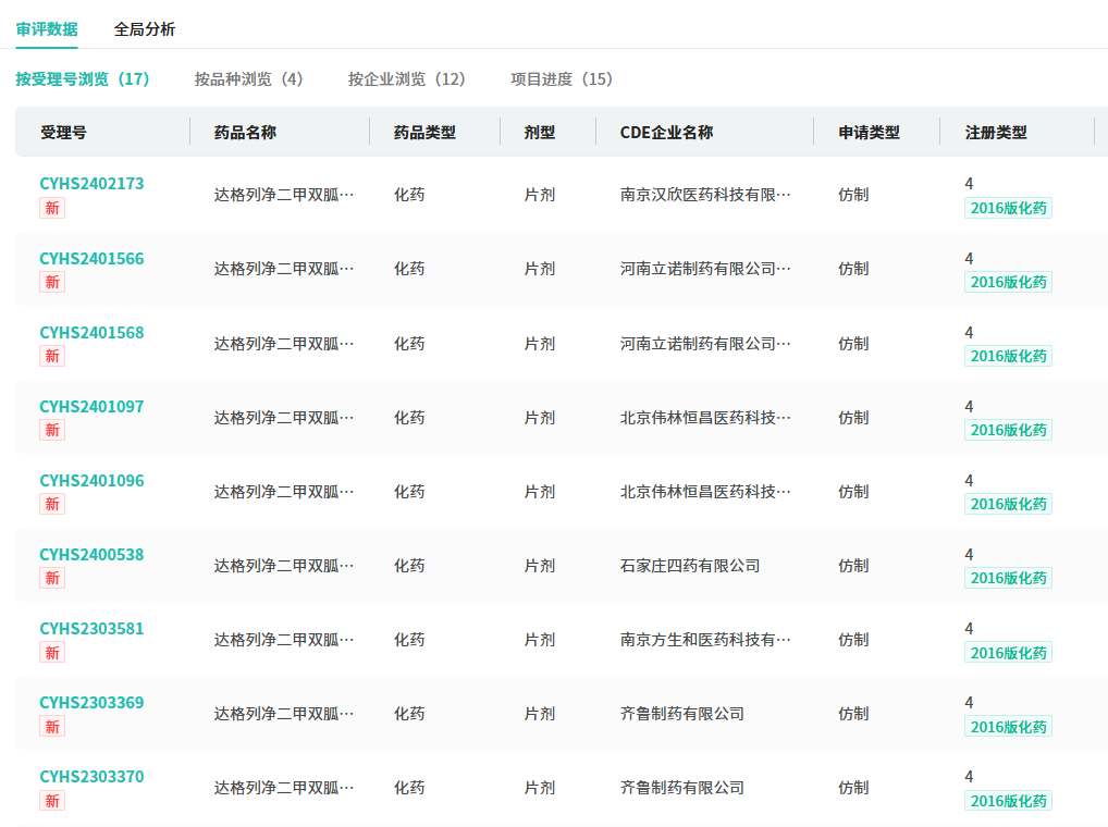
据药融云数据库显示,国内已有多家药企布局了该品种的仿制药,并已进入申报上市阶段,包括南京正大天晴、齐鲁制药、华海药业、石家庄四药及南京方生和等。上海宣泰医药已向美国食品药品监督管理局递交达格列净二甲双胍缓释片的新药简略申请( ANDA),并积极开拓南美、东南亚、中东等国际市场。

截图来源:药融云中国药品审评数据库
2024年至今,上海宣泰医药(含子公司)有奥拉帕利片、依西美坦片、美沙拉秦肠溶缓释片、达格列净二甲双胍缓释片(Ⅰ)、达格列净二甲双胍缓释片(Ⅱ)、达格列净二甲双胍缓释片(Ⅲ)6个品种过评。
参考来源:
[1] 上海宣泰医药官方公告
[2] 药融云数据库
<END>
想要解锁更多药物研发信息吗?查询药融云数据库(vip.pharnexcloud.com/?zmt-mhwz)掌握药物基本信息、市场竞争格局、销售情况与各维度分析、药企研发进展、临床试验情况、申报审批情况、各国上市情况、最新市场动态、市场规模与前景等,以及帮助企业抉择可否投入时提供数据参考!注册立享15天免费试用!








川公网安备51019002008863号
本网站未发布麻醉药品、精神药品、医疗用毒性药品、放射性药品、戒毒药品和医疗机构制剂的产品信息
收藏
登录后参与评论
暂无评论