
10月21日,据NMPA官网公示,石家庄四药集团提交的环丝氨酸胶囊和注射用氯诺昔康两大品种同日批件并视同通过一致性评价。据摩熵医药(原药融云)数据库显示,两大品种在2023年全国院内市场的销售额均超2亿元。

截图来源:NMPA官网
3亿+胶囊剂,石家庄四药拿下第3家过评
环丝氨酸胶囊由美国礼来公司研发,主要用于对该药敏感的结核菌引起的且经一线抗结核药治疗效果不佳的活动性肺结核和肺外结核的治疗,还可用于敏感革兰阳性和革兰阴性菌引起的急性尿路感染的治疗。据摩熵医药(原药融云)数据库显示,环丝氨酸胶囊在2023年全国院内市场的销售额超3亿元,同比增长达17.72%。

截图来源:摩熵医药(原药融云)全国医院销售数据库
截至目前,环丝氨酸胶囊在国内有4家药企获批生产,但仅3家药企过评,石家庄四药是国产第3家过评环丝氨酸胶囊的药企。

截图来源:摩熵医药(原药融云)过评药品汇总
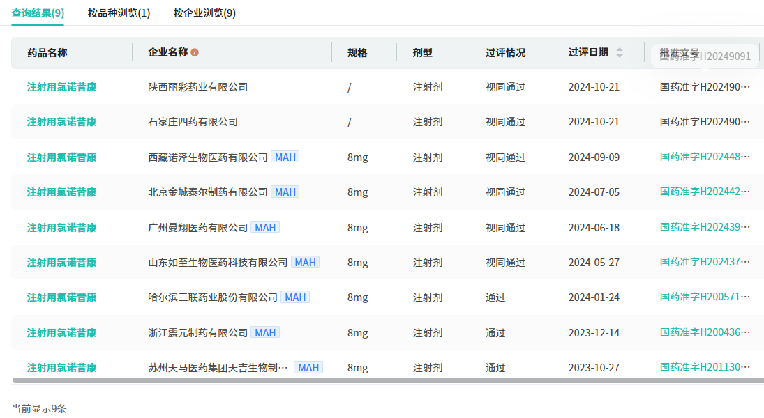
近3亿注射剂,国内9家药企过评
注射用氯诺昔康主要用于不适合口服给药的成人急性轻度至中度疼痛的短期治疗。据摩熵医药(原药融云)数据库显示,注射用氯诺昔康在2023年全国院内市场的销售额逼近3亿元,同比增长达20.43%。

截图来源:摩熵医药(原药融云)全国医院销售数据库
截至目前,注射用氯诺昔康有石家庄四药、山东如至生物医药等9家药企迎来过评,其中苏州天马医药集团是首家过评的药企。

截图来源:摩熵医药(原药融云)过评药品汇总
2024年至今,石家庄四药有盐酸利多卡因注射液、硫酸镁注射液、头孢氨苄胶囊等41款品种过评,其中首家过评的有利奈唑胺干混悬剂、卡左双多巴缓释片、恩他卡朋双多巴片(Ⅱ)、甲磺酸倍他司汀片、盐酸奈福泮注射液、碳酸氢钠注射液6个品种。
参考来源:
[1] NMPA官网
[2] 药融云数据库
<END>
想要解锁更多药物研发信息吗?查询药融云数据库(vip.pharnexcloud.com/?zmt-mhwz)掌握药物基本信息、市场竞争格局、销售情况与各维度分析、药企研发进展、临床试验情况、申报审批情况、各国上市情况、最新市场动态、市场规模与前景等,以及帮助企业抉择可否投入时提供数据参考!注册立享15天免费试用!








川公网安备51019002008863号
本网站未发布麻醉药品、精神药品、医疗用毒性药品、放射性药品、戒毒药品和医疗机构制剂的产品信息
收藏
登录后参与评论
暂无评论