
中国不仅是世界第一近视大国,也是近视发病率最高的国家之一。目前,我国眼科患病人群超过十亿人。随着人们对眼科疾病的预防与有效治疗的关注与重视,以及在“十四五”推出眼健康相关政策支持下,眼科用药市场有望迅速成长。
从供给端来看,我国眼科用药和眼科器械创新数量相对缺乏,仿制市场多且乱。随着基础研究的推进,海外眼科新药逐渐增多,国内也加速新品种研发,正与海外看齐。从需求端来看,国内的眼科患病人群远超美国,随着人口来老龄化、用眼健康意识的提升和眼科新药的不断发展,国内眼科用药渗透率大有提升空间,眼科用药及眼科器械市场均将进入快速成长期。
政策红利之下,解读中国眼科行业发展背景及趋势,剖析2022年中国眼科药物市场规模与竞争格局,洞察中国眼科行业产业机遇与发展前景,分析眼科用药、眼科器械细分赛道布局,展望中国眼科市场未来,尽在药融云2022年《中国眼科行业产业现状与未来发展白皮书》(以下简称:眼科白皮书)。
在上一篇文章中,我们介绍了眼科主要有哪些高发疾病,以及这些疾病的发病率和相应的治疗方法、发展情况等内容(《数据洞察眼科:解析2022年《中国眼科行业白皮书》(一)》)。今天我们继续来讲解药融云《眼科白皮书》报告中,关于中国眼科产品已有批文数及生产厂家的统计和详细分析。
一、中国眼科用药审评审批情况
据药融云中国药品审评数据库统计,截至2022年9月7日,中国共有611个眼科产品在审评中心审评,承办数量达3408个,申报企业为1167家,视同通过一致性评价43个,优先评审21个,特殊评审9个,重大专项8个,突破性治疗1个;眼科产品在中国的审评,2020年数量达到峰值,2021年有所回落,2022年预计审评数量跟2021年相近。
中国眼科用药审批数量(数据截至2022年9月7日)

图片来源:药融云中国药品审评数据库
注:1. 上图仅统计CTR ;2.此数据统计首次公布日期为2018.1.1-2022H1,截至2022年6月30日试验状态仍为进行中的临床试验。
截至2022年9月7日,眼科用药中,化药申请的数量远远高于中药及生物制品,其中眼科新药数量仅占所有眼科审评产品的22.42%,相对而言,眼科用药仿制药的数量略高于新药。
眼科用药中国审评药品类型

图片来源:药融云中国药品审评数据库
眼科用药中国审评申请类型

图片来源:药融云中国药品审评数据库
眼科用药中国审评受理号类型

图片来源:药融云中国药品审评数据库
在药融云数据库眼科用药中国审评受理号类型TOP10排行榜可以看到,玻璃酸钠滴眼液、氧氟沙星滴眼液、盐酸莫西沙星滴眼液分别占据前三甲。
玻璃酸钠滴眼液是目前眼科滴眼剂第一大品种,2021年医院端及零售市场总销售额超10亿元,其中医院端达6.58亿,零售端3.91亿。其中在医院端,玻璃酸钠滴眼液销售额第一品牌是德国悟兹法姆药业集团,紧随其后的是参天制药,销售金额十分接近。在零售端,玻璃酸钠滴眼液销售额第一品牌为参天制药,其次为德国悟兹法姆药业,珠海联邦制药排名第三。
玻璃酸钠滴眼液医院端历年销售趋势

图片来源:药融云中国药品销售数据库
二、中国眼科用药生产厂家
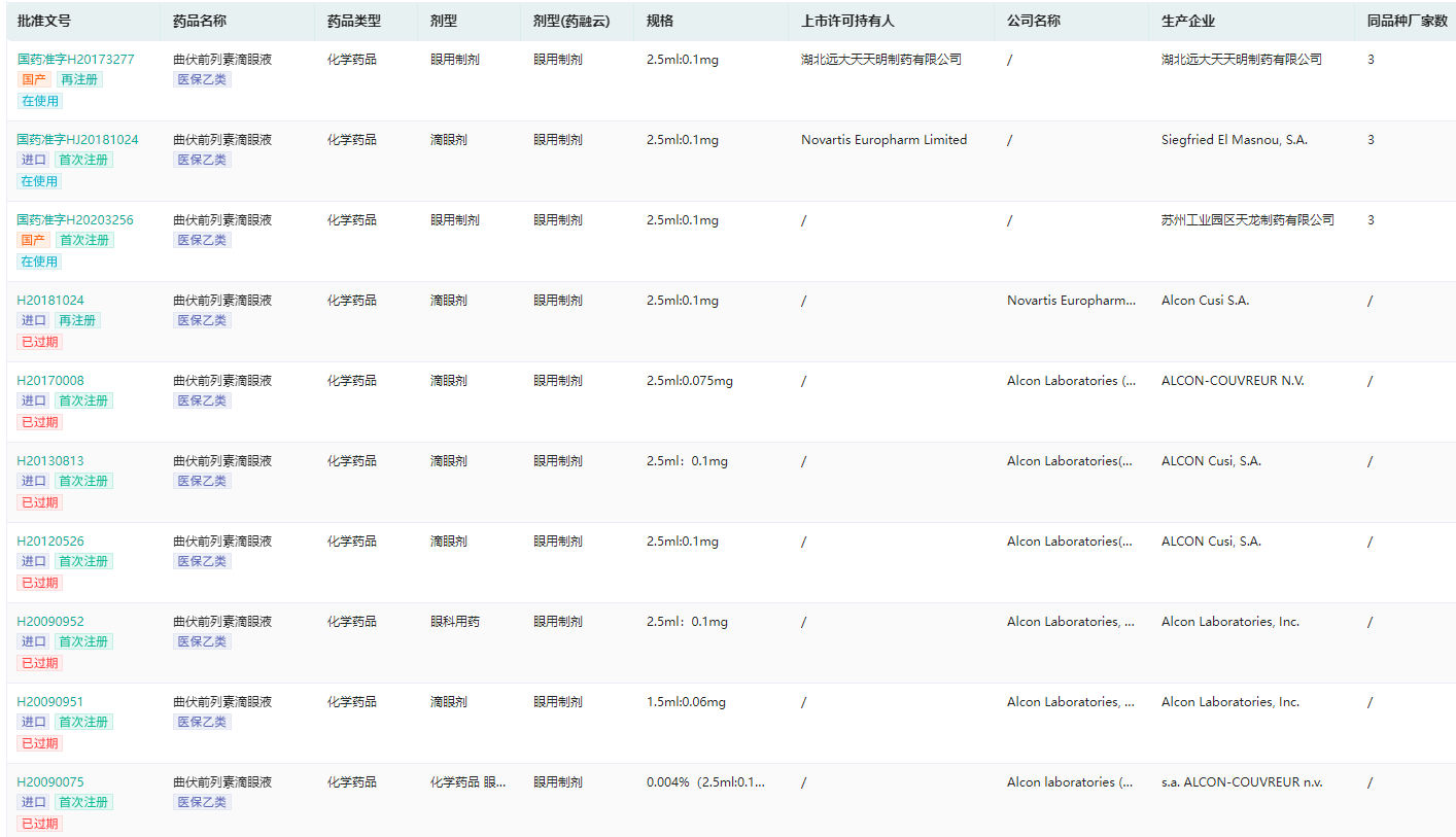
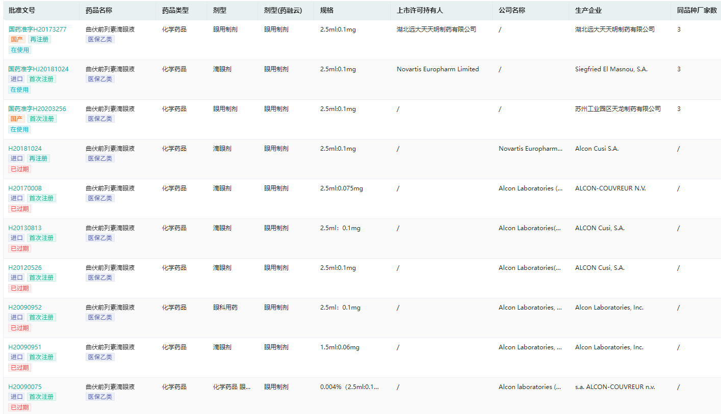
据药融云中国药品批文数据库统计,目前中国上市的眼科用药共326个产品(含化学药和中成药),厂家数量最多的眼科药是明目地黄丸,共有154家厂家。进口厂家数量最多的产品是曲伏前列素滴眼液,共有6家进口厂家,2家国内厂家。
中国眼科各药品生产厂家数量(部分,想要获取完整生产厂家信息,请前往药融云数据库进行查询)


图片来源:药融云《中国眼科行业产业现状与未来发展白皮书》
《黄帝内经》云:“目得血而能视”,眼目之所以能视万物,与“肝”密切相关。肝藏血,开窍于目,眼赖肝血濡养才能发挥视觉功能。故《素问》说“肝受血而能视”。且在病理情况下,肝肾疾病往往反映于目,如肝肾阴亏,精血不能上荣于目,则两目干涩,运转不灵,神疲目衰,眼磨不适等。
可见补养肝肾在治疗干眼症中的重要性。而明目地黄丸正是通过其补养肝肾、益精明目的功效对干眼症进行标本兼治。明目地黄丸由熟地黄、酒萸肉、牡丹皮、山药、茯苓、泽泻、枸杞子、菊花、当归、白芍、蒺藜、煅石决明共十二味药组成。用于治疗肝肾阴虚,目涩畏光,视物模糊,迎风流泪。
曲伏前列素滴眼液是Alcon Laboratories (UK) Ltd (爱尔康)的重磅医药品种,产品名称为Travatan(苏为坦),适应症为降低成人开角型青光眼或高眼压症患者的眼压。青光眼是威胁人类健康较严重的眼科疾病,持续的高眼压对眼球各部分组织及视功能带来严重损害是全球第二大致盲因素。
曲伏前列素滴眼液基本信息

图片来源:药融云全球上市筛选系统数据库
曲伏前列素是一种前列腺素F2α类似物,是一种高选择性和高亲和力的前列腺素FP受体完全激动剂,通过增加经由小梁网和葡萄膜巩膜通路的房水外流的机制来降低眼内压。临床主要用于治疗青光眼。
目前曲伏前列素滴眼液国内生产厂家有两家,分别是湖北远大天天明制药有限公司和苏州工业园区天龙制药有限公司。
曲伏前列素滴眼液药品批文情况(部分)

图片来源:药融云中国药品批文数据库
三、眼科用药国内市场整体规模及增长
- 1.医院端规模及增长
据药融云全国医院销售(全终端)数据库统计,2021年我国医院市场中眼科用药(含化药和中成药)的销售额为151.97亿元,2021年销售收入同比增长15.63%,增速高于去年同期。2021年医院市场中眼科用药的增速,高于整体用药医院市场增速(8.21%),和眼科用药所属大类感觉系统药物的增速(17.28%)相近,与整体用药市场相比近一倍的增速差距,显示在药品销售增长整体放缓的市场大环境下,眼科用药仍然呈现出很强的市场需求。
中国医院眼科用药市场规模

图片来源:药融云全国医院销售(全终端)数据库
2.零售端规模及增长
据药融云全国药店零售数据库统计,2021年我国药店零售市场中眼科用药(含化药和中成药)的销售额为46.71亿元,2021年销售收入同比增长 12.02%,增速高于去年同期。 2021 年零售药店中眼科用药的增速,没有跑赢整体用药零售市场增速(17.7%),说明在药品零售销售增长整体提升的市场大环境下,眼科用药在零售药店的销售没有呈现出较强的市场需求。
中国药店眼科用药市场规模

图片来源:药融云全国药店零售数据库
3.眼科用药医院类别占比
通过药融云全国医院终端竞争格局数据分析,眼科用药(含化学药和中成药)各小类格局中,规模最大的是化学药其它眼科用药类别,占比达到35%。眼部血管病变治疗药类别,占据15%的市场份额,抗感染药与抗炎药类别,分别占据13%与8%的市场份额。
2021全国医院眼科用药小类格局

图片来源:药融云《中国眼科行业产业现状与未来发展白皮书》
眼科用药中,我们在十三个小类中,挑选了3个小类,做出该类别的销售涨幅。其中抗炎药与抗感染药复方的医院销售一直呈现直线下滑的态势,2021年突然大幅增长。眼部血管病变治疗药则虽然波动较大,但一直处于增长的态势,属于医院销售势头最好的细分类别。
近年来随着眼底病(年龄相关性黄斑变性、糖尿病性视网膜病变、视网膜静脉阻塞等)发病率提高,眼部血管病变治疗药市场快速增长,根据药融云医院全终端数据,眼部血管病变治疗药2015年不到7亿元,2021年已突破20亿元,其中,康柏西普、雷珠单抗、阿柏西普是主要品种。
康弘药业的康柏西普是我国眼科领域自主研发的一款生物新药,它的横空出世打破了国外眼药长期垄断国内市场的局面。2013年11月康柏西普获批上市,倒逼雷珠单抗单支价格下调至7200元。随着之后销售额的不断攀升,逐渐与雷珠单抗分庭抗礼。而后在2018年2月,由拜耳研发的阿柏西普在中国获批上市,眼底病治疗市场形成了康柏西普、雷珠单抗、阿柏西普“三分天下”的竞争局面。

图片来源:药融云《中国眼科行业产业现状与未来发展白皮书》
据药融云全国医院全终端数据显示,眼科用药中,外用是最主要的剂型,近几年占比均达到75%以上。但同时也发现,眼科注射剂的规模在逐年增长,占比也在逐年扩大。销售的增长主要贡献来自康柏西普(Conbercept)注射液、阿柏西普注射液和雷珠单抗注射液这3个品种的增长。
2021全国医院眼科用药用药途径规模

数据来源:药融云全国医院销售(全终端)
下一篇文章内容我们将继续为大家分析解读药融云《中国眼科行业产业现状与未来发展白皮书》中关于中国眼科用药制剂竞争格局的干货内容,包括但不限于医院通用名品种 TOP10格局分析、零售药店眼科药品 TOP10 格局分析、主要生产厂家TOP10格局分析,以及眼科用药其它细分赛道等,敬请持续关注!想要获取药融云《眼科白皮书》的全部内容,请关注“药融云”公众号(gh_d20f87bd52d9),后台回复“报告”关键词进行领取。
想要解锁更多疾病领域药物市场信息吗?查询药融云数据库(vip.pharnexcloud.com/?zmt-mhwz)掌握疾病领域涉及药物信息、销售情况与各维度分析、市场竞争格局、创新药研发情况、仿制药布局情况、最新进展、市场规模与前景等,以及帮助企业抉择可否投入时提供数据参考!注册立享15天免费试用!

<END>







川公网安备51019002008863号
本网站未发布麻醉药品、精神药品、医疗用毒性药品、放射性药品、戒毒药品和医疗机构制剂的产品信息
收藏
登录后参与评论
暂无评论