
不知不觉已来到了2022年第四季度,据药融云中国药品批文数据库统计,截止2022年11月15日,CFDA签发的批文总数超过4000个,其中国产的3804个,进口的383个。
以ATC分类来看,系统用抗感染药与消化系统与代谢药的批文数量最多,均超过600个,其次是神经系统用药、原料药与血液和造血系统用药,批文数量也均超过300个。
从企业获批品种数来看,排名前五的分别是:牡丹江灵泰药业(223个)、华润双鹤药业(100个)、江西希尔康泰制药(51个)、沈阳君元药业(47个)、伊春康尔心药业(46个)。
2022企业获批品种数TOP10(截止2022年11月15日)

图片来源:药融云中国药品批文数据库
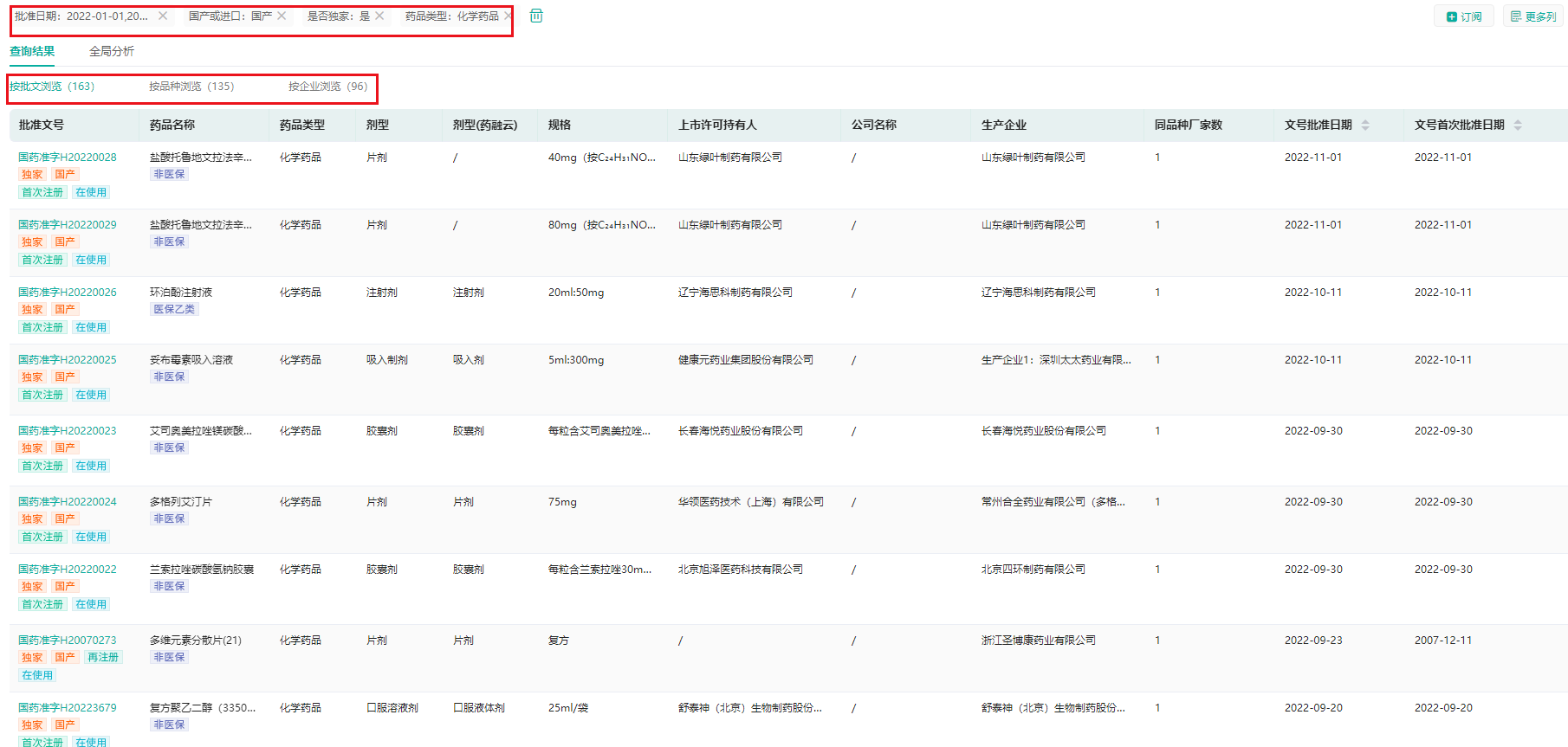
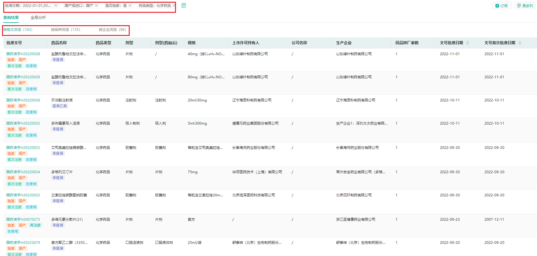
今天,我们主要来盘点一下2022年国产独家化学药品获批品种数量的TOP10企业。通过药融云中国药品批文数据库的条件筛选功能可以看到,截至目前CFDA签发了163个国产独家化学药品的批准文号,按品种维度统计是135个,按企业维度统计是96家。
2022年国产独家化学药批准文号(部分)

图片来源:药融云中国药品批文数据库
其中,通过企业获批品种数维度进行统计分析,可以看到2022年国产独家化学药品(包含原料药)TOP10排行企业分别是华润双鹤药业、齐鲁制药、四川科伦药业、宜昌人福药业、江苏恒瑞医药、北京华素制药、北京协和药厂、威高泰尔茂(威海)、深圳市资福药业、上海现代哈森(商丘)药业。
2022年国产独家化学药获批TOP10企业

图片来源:药融云中国药品批文数据库
华润双鹤位居榜首,拿下16个独家化学药品(15个原料药,1个皮肤病用药)的生产批文,包括盐酸普鲁卡因胺、双贝特、地喹氯铵、复方氧化锌水杨酸散、奥芬溴铵、替尼泊苷、月桂硫酸镁、枸橼酸氯米芬、氢溴酸苯甲托品等。截至目前,华润双鹤在产文号数量超800个,其中化学药品802个,中药7个;文号有效品种数608个,独家品种+剂型58个。
排名第二的齐鲁制药,四个独家化学药品是:他达拉非口溶膜、盐酸美金刚口溶膜、阿立哌唑口腔溶解薄膜、阿瑞匹坦注射液。2022年以来,齐鲁制药迎来口溶膜产品的收获期,申报的多个口溶膜产品中,阿立哌唑口溶膜、奥氮平口溶膜、盐酸美金刚口溶膜、孟鲁司特钠口溶膜、他达拉非口溶膜均已获批上市。
2022年9月,齐鲁制药的阿瑞匹坦注射液(欧瑞贝®)获得国家药监局批准,并视同通过一致性评价,成为国内首款获批的阿瑞匹坦亚微乳注射剂。阿瑞匹坦,属于神经激肽-1(NK-1)受体阻滞剂,临床上适用于预防高度致吐性抗肿瘤化疗的初次和重复治疗过程中出现的急性和迟发性恶心和呕吐。
齐鲁制药阿瑞匹坦注射液的审评时间轴(微信搜索"药融云小程序"进行相关更多数据查询)

图片来源:药融云中国药品审评数据库
阿瑞匹坦的原研企业为默沙东,于2003年3月在美国获批上市,并于2013年7月获批进入中国市场。目前在国内的竞争对手有齐鲁制药和正大天晴。2020年7月,齐鲁制药也曾拿下阿瑞匹坦胶囊的首仿,随后正大天晴也获批生产。
据药融云全国医院销售数据库显示,2021年阿瑞匹坦胶囊在医院端的销售规模为3.1亿元,同比增长77.53%;其中,默沙东占据56.86%的市场份额,齐鲁制药占42.9%。随着齐鲁制药的阿瑞匹坦注射液的上市,或将改变这一竞争格局。
阿瑞匹坦胶囊医院端市场销售趋势

图片来源:药融云全国医院销售数据库
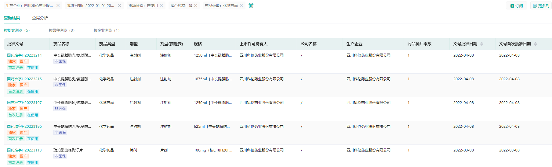
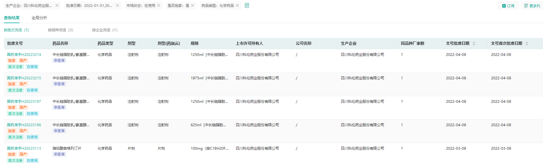
除此之外,还有五家企业在2022年获得3个独家化学药品的生产批文,包括四川科伦药业的中长链脂肪乳/氨基酸(16)/葡萄糖(30%)注射液、中长链脂肪乳/氨基酸(16)/葡萄糖(36%)注射液、琥珀酸曲格列汀片;宜昌人福药业的安那度尔注射液、氯巴占片、注射用苯磺酸瑞马唑仑;江苏恒瑞医药的昂丹司琼口腔溶解薄膜、尼莫地平口服溶液、瑞维鲁胺片;北京华素制药的甲磺酸托烷司琼、盐酸二氢埃托啡、盐酸纳曲酮;北京协和药厂的甲异靛片、三尖杉酯碱、盐酸苯氨咪唑啉片。
四川科伦药业独家化学药品批准文号

图片来源:药融云中国药品批文数据库
四川科伦药业的琥珀酸曲格列汀片,属于二肽基肽酶 4(DPP-4)抑制剂,是一种新型超长效口服降糖药物;原研药物由武田和Furiex研发,2015年3月在日本上市,商品名为 Zafatek,是全球首个每周一次的口服降糖药。科伦药业于2022年3月在国内斩获首仿,成为国内首款国产琥珀酸曲格列汀。
据药融云中国药品审评数据库统计,目前国内将近20家企业已开始布局曲格列汀仿制药市场,涉及石药集团、正大天晴、成都倍特药业、瑞阳制药、豪森药业、通化东宝药业等企业。
曲格列汀仿制药竞争企业

图片来源:药融云中国药品审评数据库
DPP-4抑制剂有良好的血糖控制、低血糖发生风险小、不影响体重等优势,患者使用较为安全。目前国内上市的DPP-4 酶抑制剂(单方)有西格列汀、沙格列汀、维格列汀、阿格列汀和利格列汀。据药融云数据显示,国内DPP-4抑制剂销售近几年处于快速增长趋势,2021年整体市场规模已超40亿元。相信随着国产品牌的发展,DPP-4抑制剂市场格局还会迎来巨变。
想要解锁更多药品信息吗?查询药融云数据库(vip.pharnexcloud.com/?zmt-mhwz)掌握药品各国上市情况、药品批文信息、销售情况与各维度分析、市场竞争格局、药企申报审批信息、最新动态与前景等,以及帮助企业抉择可否投入时提供数据参考!注册立享15天免费试用!

<END>







川公网安备51019002008863号
本网站未发布麻醉药品、精神药品、医疗用毒性药品、放射性药品、戒毒药品和医疗机构制剂的产品信息
收藏
登录后参与评论
暂无评论