一、敲黑板!2023年医药集中采购“重点工作”
国家医保局3月初发布了相关文件通知,为2023年医药集采工作划出了重点。
扩大药品集采覆盖面。通知明确将持续扩大药品集采覆盖面,到2023年底,每个省份的国家和省级集采药品数累计达到450种,其中省级集采药品应达到130种,化学药、中成药、生物药均应有所覆盖。
此外,通知明确将重点指导湖北牵头扩大中成药省际联盟采购品种和区域范围,江西牵头开展干扰素省际联盟采购,广东牵头开展易短缺和急抢救药省际联盟采购。
对所有品种统一采购周期。开展并落地实施第八批国家药品集采,鼓励同一品种由多家企业中选,促进价差公允合理,并统一采购周期。文件规定,各品种各地采购周期自中选结果执行之日起至2025年12月31日,采购周期内采购协议每年一签。这也意味着,此前中选企业数少的品种,采购周期获得延长。

额外增加供应保障。针对5个品种(氨甲环酸注射剂型、丙戊酸钠注射剂、 那屈肝素(那曲肝素)注射剂、依诺肝素注射剂和呋塞米注射剂)采取“主供+备供+第二备供”的方式,这也是额外增加供应保障。并且,在替补机制上也进行了相关完善。
二、40个临床大品种,哪些竞争最激烈?
日前,第八批药品集中带量采购相关药品信息填报工作正式启动,本次集采将于3月29日在海南陵水开标,涉及40个临床大品种约300多家企业,覆盖系统用抗感染药、心血管系统用药、血液和造血系统用药、消化系统与代谢药、神经系统用药等多个药品领域。
在本轮国家集采中,抗感染药涉及的品种最多,有17个系统用抗感染药被纳入,占比达到42.5%,包括奥硝唑注射液、甲硝唑氯化钠注射液、头孢噻肟注射剂、注射用头孢西丁钠、头孢哌酮钠舒巴坦钠注射剂等;其次是心血管系统用药,有7款被纳入,包括呋塞米注射液、盐酸奥普力农注射液、非洛地平缓释控释剂型等;然后是血液和造血系统用药,被纳入了6款,包括丙氨酰谷氨酰胺注射液、那屈肝素钙注射液等。
从竞争格局来看,在系统用抗感染药中,奥硝唑注射液、注射用头孢西丁钠、头孢噻肟注射剂的竞争最为激烈,药融云过评药品汇总数据库显示,这三个品种均有超过(等于)14家企业已通过一致性评价。
注射用头孢西丁钠过评企业

图片来源:药融云过评药品汇总数据库
01.奥硝唑注射液
药融云数据库显示,奥硝唑注射液2个品规(3ml:500mg,6ml:1.0g)总计已有17家企业过评,两个品规的首家过评企业均是双鹭药业,其他过评企业还有科伦药业、万隆制药、圣和药业、石家庄四药、北大医药、康普药业等。
奥硝唑(Ornidazole)注射液为第三代硝基咪唑类药物,原研厂家为瑞士罗氏制药,1980年瑞士首上市,随后在欧洲多国获批上市。主要适用于治疗肠道和肝脏严重的阿米巴病、治疗奥硝唑敏感厌氧菌引起的手术后感染及预防外科手术导致的敏感厌氧菌感染,是目前市场上该类用药的主力品种。
药融云数据库显示,2021年医院全终端市场奥硝唑注射液销售额近20亿元;科伦药业占据44.54%的市场份额,其次是万隆制药占比24%,圣和药业占比10.85%。
奥硝唑注射液医院(全终端)市场竞争格局

图片来源:药融云全国医院销售(全终端)数据库
02.注射用头孢西丁钠
头孢西丁钠(Cefoxitin Sodium)原研为默克公司,原研撤市后,美国橙皮书公布ACSDOBFARSPA生产的注射用头孢西丁钠可作为对比制剂(RS),原研及参比制剂均未在中国上市。药融云数据库显示,目前注射用头孢西丁钠共有51家企业的102个上市批文,最早上市时间为1995年1月,生产企业为海口制药厂。其首家过评企业为扬子江药业,于2020年11月过评。
注射用头孢西丁钠作为抗感染药物的重点产品之一,主要用于治疗对本品敏感的致病菌引起的感染,如:上下呼吸道感染、泌尿道感染包括无并发症的淋病、腹膜炎以及其它腹腔内、盆腔内感染、败血症(包括伤寒)、妇科感染、骨、关节软组织感染、心内膜炎等。
药融云全国医院销售(全终端)数据库显示,抗菌大品种注射用头孢西丁钠在2021年国内医院全终端的市场规模超23亿元,其中市场份额占据TOP5企业分布是扬子江药业(占比18.73%)、国药集团(占比17.24%)、海口制药厂(占比16.58%)、四川制药(12.61%)、信立泰药业(9.29%)。
注射用头孢西丁钠医院全终端年度趋势

图片来源:药融云全国医院销售(全终端)数据库
03.呋塞米注射液
在心血管系统用药中,竞争比较激烈的是呋塞米注射液,过评企业已达11家,首家过评企业为泽恒医药,其他竞争企业还有新华制药、民生药业、禾丰制药、金耀药业、北大高科华泰制药等等。
呋塞米注射液收录于国家基药目录(2018版)及国家医保目录(2022版),临床主要用于治疗水肿性疾病、高血压、预防急性肾功能衰竭、高钾血症及高钙血症、稀释性低钠血症(尤其是当血钠浓度低于120mmol/L时)、抗利尿激素分泌过多症(SIADH)、急性药物毒物中毒等。
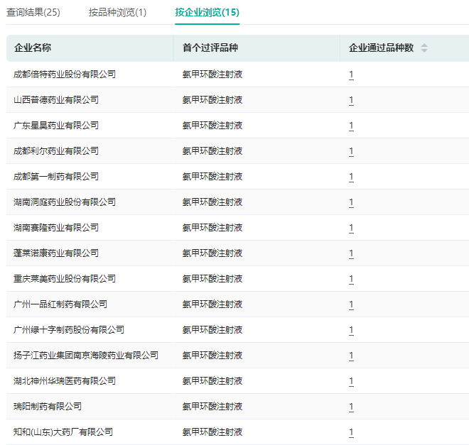
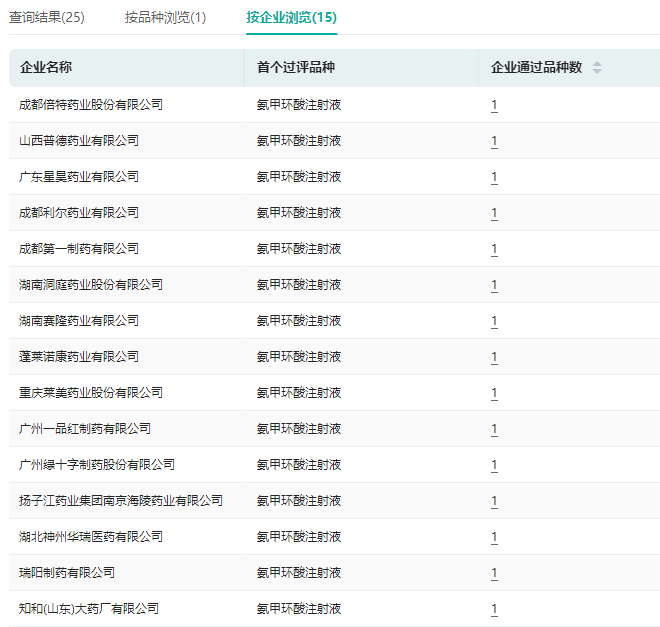
04.氨甲环酸注射液
在血液和造血系统用药中,氨甲环酸注射液的过评企业为15家,竞争也十分激烈,过评企业有扬子江药业、瑞阳制药、赛隆药业、倍特药业等。氨甲环酸注射液主要用于急性或慢性、局限性或全身性原发性纤维蛋白溶解亢进所致的各种出血。
氨甲环酸最早用于临床是作为一种止血药,目前,氨甲环酸被批准的适应症仍然以止血为主。同时,氨甲环酸还是一种临床常用的美白剂,在化妆品中称为传明酸。氨甲环酸具有多种药理学活性,能够针对黑色素形成的不同途径发挥美白淡斑作用,尤其是黄褐斑。
氨甲环酸注射液过评企业查询

图片来源:药融云过评药品汇总数据库
值得一提的是,肝素类产品首次被纳入国家药品集采,包括那屈肝素(那曲肝素)注射剂、依诺肝素注射剂两个品种共20个品规,均为肝素类药物中的大品种(《第八批国采开始填报,肝素类药品首次被纳入,百亿市场或迎洗牌!》)。
从过评企业来看,本土药企中,科伦药业、齐鲁制药、石药集团、正大天晴、倍特药业、扬子江药业、复星医药、华北制药、华润医药、鲁抗医药、信立泰等均有品种在列。
总的来说,国家集采进入常态化阶段,推动药企加速创新转型,后续对市场冲击有望逐渐减弱。集采的重心已向注射剂领域转移,推进步伐逐渐加快。带量采购是对创新药研发的支持,也将是药企创新转型提升竞争力的主要途径。
想要解锁更多药品信息吗?查询药融云数据库(vip.pharnexcloud.com/?zmt-mhwz)掌握药品各国上市情况、药品批文信息、销售情况与各维度分析、市场竞争格局、一致性评价情况、药企申报审批信息、最新动态与前景等,以及帮助企业抉择可否投入时提供数据参考!注册立享15天免费试用!

<END>








川公网安备51019002008863号
本网站未发布麻醉药品、精神药品、医疗用毒性药品、放射性药品、戒毒药品和医疗机构制剂的产品信息
收藏
登录后参与评论
暂无评论