当人们终于在后疫情时代迎来喘息之机时,“甲流”又来势汹汹。最近,身边咳嗽、发烧的人多了起来,一检查是中了“甲流”。随着自然社会环境的改变,人口流动的增加,各种传染性疾病如甲流、诺如病毒等高发,不仅成为当前各国政府面临的严峻问题,也严重威胁着人们的身体健康(《甲流高发季,流感“神药”奥司他韦又火了,入医保降价高达92%!》)。
“甲流”指甲型流感,是由甲型流感病毒引起的急性呼吸道传染病。甲型流感病毒传染性强,人群普遍易感。甲流最突出的症状是高烧、全身酸疼、乏力等。另外,为一个呼吸道传染性疾病,呼吸道的症状还包括流涕、咽痛、咳嗽等。

诺如病毒属于杯状病毒科,感染后症状主要表现为上吐下泻,是一种消化系统传染病;感染来源主要是病从口入,也可通过气溶胶、密切接触等途径传播。患者绝大部分表现为上吐下泻,重则导致严重呕吐与腹泻,个别严重病例可能出现发烧等全身症状。
在医药行业,除肿瘤药外,慢性病和感染性疾病药物也日益受到关注。其中,抗病毒药物的研发一直以来都比较活跃。在科研人员的努力下,艾滋病已经能够通过长期用药加以控制,慢性丙肝也有了治愈性的药物。流感和乙肝病毒的治疗药物也成为研发的热点。
药融云数据库显示,在2023年2月,全球有11个治疗感染性疾病的新药获批上市,包括赛诺菲四价流感病毒裂解疫苗--VaxigripTetra、吉利德的两性霉素B脂质体--AmBisome、SK生物科学的四价流感病毒疫苗-SKYCellflu Quadrivalent等。
2023年2月全球获批上市的感染性疾病新药

数据来源:药融云数据库
一、流感病毒感染
赛诺菲的四价流感病毒裂解疫苗--凡尔佳(VaxigripTetra)6~35月龄适应症在中国获批上市。其在国内的III期临床研究数据显示,6~35月龄婴幼儿对流感四个毒株亚型的血清保护率最高达97.4%,且接种慎用禁忌少。6~35月龄儿童使用全剂量(15μgHA/毒株)流感疫苗与半剂量(7.5μgHA/毒株)疫苗对比,能够提高疫苗的免疫原性且不良反应发生率类似,获益更明显。
儿童是流感的高危人群,感染后可能会引发重症肺炎、坏死性脑炎、暴发性心肌炎等流感相关严重并发症,甚至会导致死亡。接种流感疫苗是最经济有效的预防手段之一。希望四价流感病毒裂解疫苗能够保护更多中国儿童免受流感侵袭。
SK生物科学的四价流感病毒疫苗-SKYCellflu Quadrivalent在智利获批上市,用于流感病毒感染。SK Bioscience是韩国的制药巨头公司,也是韩国被选中开发新冠疫苗的公司之一。药融云数据库显示,SKYCellflu Quadrivalent于2018年7月在韩国上市,后于2020年10月在新加坡获批上市。
SKYCellflu Quadrivalent基本信息(微信搜索"药融云小程序"进行相关更多数据查询)

图片来源:药融云全球药物研发数据库
值得一提的是,SKYCellflu Quadrivalent在新加坡上市之后,一度因部分民众接种流感疫苗后出现喉咙不适、恶心或皮疹等症状而被叫停使用,之后进行进一步审查之后确认质量和安全性符合要求才开始恢复使用。
流感大流行是目前公共卫生领域主要问题之一,季节性流感全球每年的发病率估计为成人5-10%,儿童为20-30%。据世界卫生组织(WHO)的数据,全球季节性流感流行每年估计造成300万至500万例重症病例和30万至65万人死亡。
季节性流感(甲型和乙型流感亚型)极大地威胁着全球公共卫生并影响全球经济,接种疫苗是减轻这一负担的最有效方法。目前,有三种类型的流感疫苗,即“灭活”、“减毒活疫苗”和“重组HA”疫苗,在不同国家被许可供人使用。
根据包含的流感病毒类型,流感疫苗分为三价和四价,三价流感疫苗里包括了甲型H1H1、甲型H3N2和乙型Victoria三种流感病毒的类型,可以预防这三种流感病毒感染。四价流感疫苗比三价多包括了乙型Yamagata流感病毒。
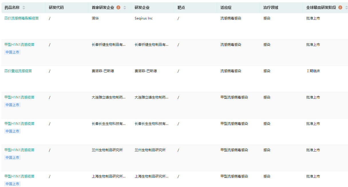
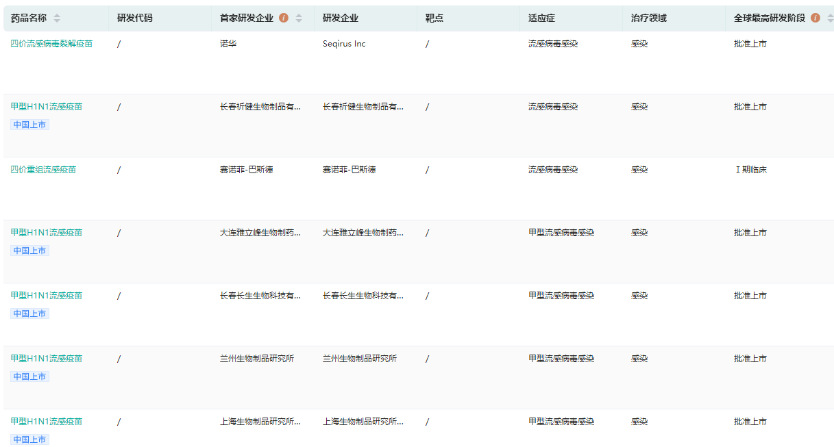
全球在研/上市流感疫苗查询(部分)

图片来源:药融云全球药物研发数据库
目前我国共批准上市四种路线流感疫苗,对可接不同类型、不同厂家疫苗产品的人群,可自愿接种任一种流感疫苗,无优先推荐。中国经济的进步也促进了流感疫苗的发展,带动了新型流感疫苗的研发,主要包括细胞流感疫苗、亚单位流感疫苗、佐剂流感疫苗和减毒活疫苗。因四价流感疫苗具更高的售价及利润,吸引疫苗企业不断入局。未来秋冬季将可能出现流感及新冠同时流行,新冠+流感联合疫苗将是重要的研发方向。
二、真菌感染
吉利德科学的注射用两性霉素B脂质体--AmBisome(安必速)获得NMPA批准上市,用于治疗侵袭性真菌病。药融云数据库显示,两性霉素B最先于1990年在欧洲上市,而后于1997年在美国获批上市,在全球范围内广泛使用近30年,被誉为侵袭性真菌病治疗的“金标准”。
两性霉素B最早由NeXstar公司开发,后被吉利德以5.5亿美元收购。作为全球第一款上市的脂质体制剂,两性霉素B脂质体在制剂领域具有里程碑式意义。
AmBisome是两性霉素B的小球型单层脂质体,可全面覆盖念珠菌、曲霉、毛霉和隐球菌等多种真菌,其对念珠菌整体应答率高达90%,且耐药较为罕见。得益于独特的靶向脂质体递送系统,安必速能够显著提升药物安全性,有效降低不良反应发生率,其特殊代谢途径更能减少药物相互作用。
AmBisome全球临床试验查询(部分)

图片来源:药融云全球临床试验数据库
侵袭性真菌感染(IFI)是指真菌侵入人体组织、血液,并在其中生长繁殖,引起组织损坏、器官功能障碍、炎症反应的病理改变及病理生理过程。目前IFI比例不断提高,占院内感染的8-15%,以念珠菌为主的酵母样真菌和以曲霉为主的丝状真菌是IFI的常见病原菌。
白色念珠菌是最常见的病原菌,可占40%-60%,曲霉性真菌感染最常见的是烟曲霉、黄曲霉、黑曲霉。IFI发病率在不断增加,但诊断困难,病死率高,可高达30-60%,其中光滑念珠菌、热带念珠菌的死亡率明显高于白色念珠菌。
尤其对于患有艾滋病和重症肝病、恶性肿瘤、呼吸系统疾病、血液病等免疫低下的高风险群体,临床急需广谱、安全,能够提高免疫调节作用、降低毒副反应发生率且使用便捷的治疗方案。
目前常用的抗真菌药物有多烯类抗真菌药物——两性霉素B(amphotericin B),安必速;唑类抗真菌药物,如咪康唑、酮康唑等;棘白菌素类抗真菌药物如卡泊芬净、阿尼芬净等;核酸抑制类抗真菌药,5-氟胞嘧啶(5-FC)。
想要解锁更多药物研发信息吗?查询药融云数据库(vip.pharnexcloud.com/?zmt-mhwz)掌握药物基本信息、市场竞争格局、销售情况与各维度分析、药企研发进展、临床试验情况、申报审批情况、各国上市情况、最新市场动态、市场规模与前景等,以及帮助企业抉择可否投入时提供数据参考!注册立享15天免费试用!

<END>








川公网安备51019002008863号
本网站未发布麻醉药品、精神药品、医疗用毒性药品、放射性药品、戒毒药品和医疗机构制剂的产品信息
收藏
登录后参与评论
暂无评论