
近日,CDE官网显示,四环医药旗下吉林惠升生物递交的3.3类生物药德谷胰岛素注射液上市申请获受理。这是首家报产该近十亿胰岛素品种上市的国内企业。

截图来源:CDE官网
德谷胰岛素最早由丹麦诺和诺德开发,作为新一代基础胰岛素类似物,德谷胰岛素具有平稳、安全、有效控制血糖的特点,一天注射一次,可强效控制全天血糖,糖化血红蛋白(HbA1c)达标率高达89.9%,降低低血糖发生风险且体重获益明确,能更好地满足治疗需求。
德谷胰岛素最早于2012年9月首次在日本获批上市,后陆续在欧洲和美国获批上市。2017年9月中国国家药品监督管理局(NMPA)批准德谷胰岛素注射液用于治疗2型糖尿病,正式在我国上市(中文商品名:诺和达)。德谷胰岛素后又被纳入国家医保品种(乙类),限中长效胰岛素难以控制的2型糖尿病患者。
近年来,德谷胰岛素在糖尿病治疗中的地位日渐凸显,市场迅速扩容。据药融云统计,2021年德谷胰岛素在全球和中国均保持良好增长态势,其中国内医院销售额近10亿元,同比增长了228%。
德谷胰岛素院内销售情况

截图来源:药融云全国医院销售数据库
截至目前,全球范围内尚没有德谷胰岛素的生物类似药上市。此次吉林惠升生物为首家报产该近十亿胰岛素品种上市的国内企业。不过,珠海联邦制药、东阳光、正大天晴和吉林津升/重庆派金研发进展也很快,针对德谷胰岛素的临床试验均已处于III期。
国内德谷胰岛素临床试验情况

截图来源:药融云中国临床试验数据库
此外还有海正药业、重庆宸安生物/上海博唯生物、重庆富进生物等企业也正在布局德谷胰岛素。国内胰岛素龙头通化东宝也于近日取得国家药品监督管理局药品审评中心签发的关于德谷胰岛素注射液临床试验申请受理通知书。
值得注意的是,近期吉林惠升生物刚完成了5亿元的A轮融资,该轮融资由国寿大健康基金、天津远翼、天津远翼吉茂、银杏资本共同注资。作为四环药业旗下专注于糖尿病及并发症领域的生物医药公司,其产品线涵盖了全系列二代、三代、四代胰岛素及类似物产品管线(覆盖基础、预混及速效产品)、 最新机制的创新药SGLT-2、GLP-1、DPP-4等产品以及其他各机制降糖药物和并发症药物。
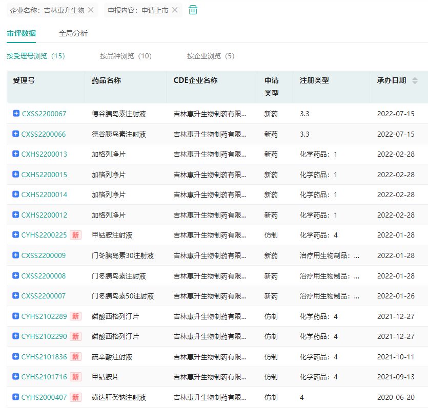
除了此次报产的德谷胰岛素注射液外,吉林惠升生物还报产了门冬胰岛素注射液、磷酸西格列汀片、加格列净片等知名品种。
吉林惠升生物药品报产情况

截图来源:药融云中国药品审评数据库
参考来源:
[1] CDE官网
[2] 药融云数据库
想要解锁更多药企新药信息吗?查询药融云数据库(https://www.pharnexcloud.com/?zmt-mhwz)掌握药企创新药产品布局、基本信息、研发阶段、最新进展、申报获批情况、临床试验信息、市场规模与前景,可否投入研发!注册立享15天免费试用和虎年首份医药数据大礼包!

—END—







川公网安备51019002008863号
本网站未发布麻醉药品、精神药品、医疗用毒性药品、放射性药品、戒毒药品和医疗机构制剂的产品信息
收藏
登录后参与评论
暂无评论