
近日,NMPA发布最新一批药品批准证明文件待领取信息,其中,湖南科伦制药的苯磺顺阿曲库铵注射液获批上市,视同通过该3亿肌肉松弛剂仿制药一致性评价。这是科伦药业今年第13款获批上市的仿制药品。


截图来源:NMPA官网
苯磺顺阿曲库铵注射液是一种肌肉松弛剂,最早由Aspen/GSK开发,后被GlaxoWellcome收购,并于1995年12月获得批准,商品名为Nimbex。雅培公司于1999年11月获得GlaxoWellcome麻醉药品的美国市场经营权,因此现由雅培公司在美国上市该品种。
苯磺顺阿曲库铵具有通过非肝非肾途径代谢的特点,肌松作用比苯磺酸阿曲库铵作用强3倍,主要用于全身麻醉,并能广泛应用在气管插管、肝肾功能障碍、心血管手术及老年和儿科病人。据药融云统计,近年苯磺顺阿曲库铵注射液院内销售额均超2亿元,2021年逼近3亿,今年第一季度院内销售额已超1亿元,同比增长77%。总体来看,恒瑞医药、南京健友等企业市场占比较大。
苯磺顺阿曲库铵注射液

截图来源:药融云全国医院销售数据库
目前,苯磺顺阿曲库铵注射液过评企业数已达9家,其中北京泰德制药、南京健友同时斩获首家过评,而后江苏恒瑞医药、杭州澳亚生物、扬子江、苏州朗科生物、四川百利药业、兆旬生物和此次的科伦药业陆续过评。此外还有齐鲁、四川汇宇制药、浙江亚瑟、南京斯泰尔医药、浙江仙琚等企业递交了苯磺顺阿曲库铵注射液的仿制上市申请,武汉用通医药递交了5.2类进口上市申请。
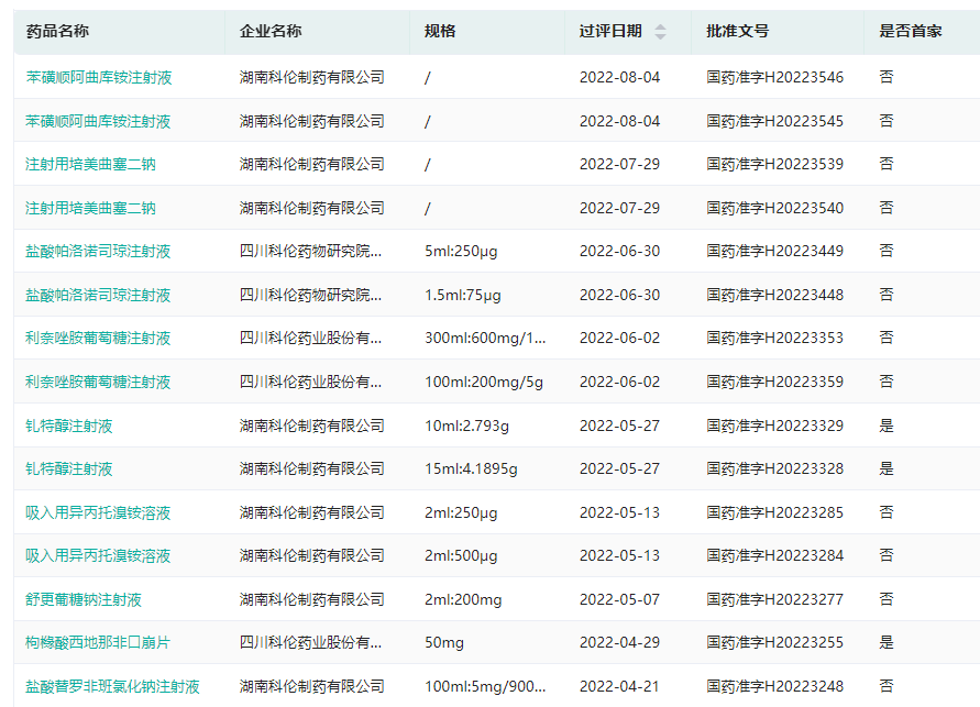
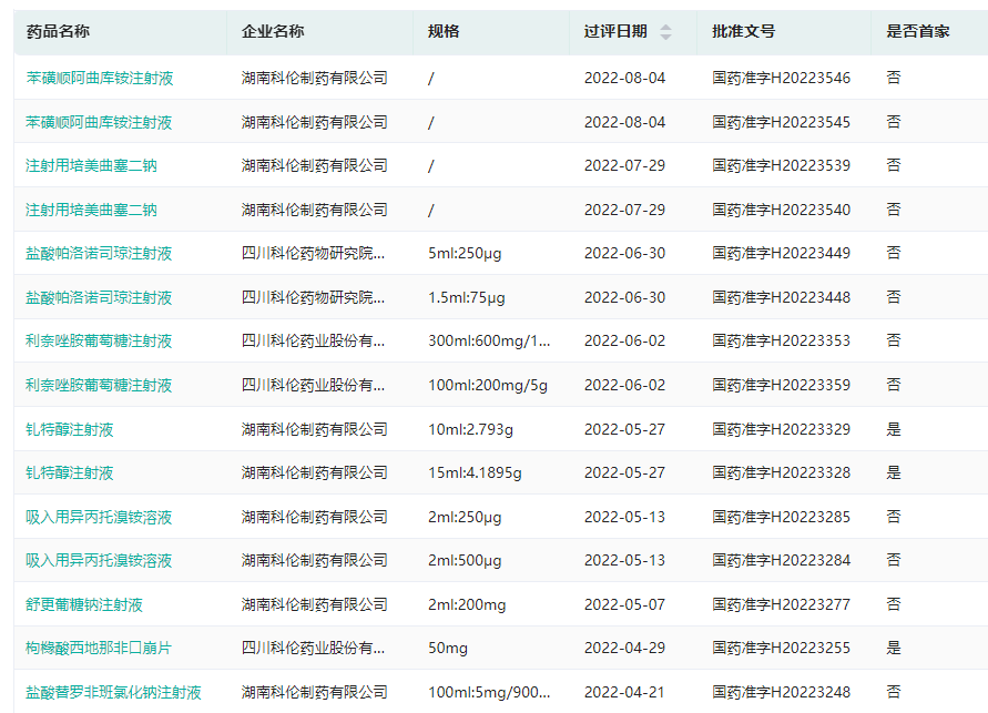
至此,今年科伦药业共有13个品种以新注册分类获批上市,其中钆特醇注射液和枸橼酸西地那非口崩片为首家过评品种。
科伦药业2022年新注册分类上市品种

截图来源:药融云药品过评汇总数据库
参考来源:
[1] NMPA官网
[2] 药融云数据库
想要解锁更多药企仿制药信息吗?查询药融云数据库(https://www.pharnexcloud.com/?zmt-mhwz)掌握药企仿制药申报情况、审批信息、最新进展、一致性评价、市场竞争格局、销售情况,市场规模与前景,可否投入!注册立享15天免费试用和虎年首份医药数据大礼包!

—END—







川公网安备51019002008863号
本网站未发布麻醉药品、精神药品、医疗用毒性药品、放射性药品、戒毒药品和医疗机构制剂的产品信息
收藏
登录后参与评论
暂无评论