
自去年起至今,生物医药公司掀起“瘦身”潮可谓是一波接着一波,在削减动作中裁员是重头戏。
11月29日,又有两家公司宣布业务重组和战略聚焦计划:
- Generation Bio裁员40%,为开发ctLNP和iqDNA平台扩展现金跑道
- Gilead子公司Kite Pharma净裁员约5%,精简某些领域以更好地优化运营效率
具体情况如下:
一、Generation Bio裁员40%,为开发ctLNP和iqDNA平台扩展现金跑道
GenerationBio(纳斯达克股票代码:GBIO)宣布进行战略重组,优先投资开发细胞靶向脂质纳米颗粒(ctLNP)系统,用于肝外细胞类型的全资项目。作为与Moderna公司合作的一部分,Generation打算继续开发用于免疫细胞的ctLNP,并为其领先的A型血友病项目和其他项目开发免疫安静DNA(igDNA)。
基因药物制造商Generation Bio将裁员68人(40%),其中包括两名高管团队成员,并将缩小研发范围,以延长18个月的研发周期。在向美国证券交易委员会(SEC)提交的文件中预计,裁员和管道削减将在未来三年为公司节省1.2亿美元,文件中还概述了医疗主管Douglas Kerr和开发主管Tracy Zimmermann的离职情况。McDonough在接受采访时说,Generation Bio 今后将拥有108名员工。

Generation Bio 首席执行官、医学博士 Geoff McDonough 说:"我们已经把视网膜、疫苗、骨骼肌、中枢神经系统放在一边,专注于肝外免疫和其他循环细胞类型以及肝脏方面的工作,这是我们关注的两个主要领域。Generation Bio 将把资源集中用于肝外细胞类型的细胞靶向脂质纳米颗粒递送系统,并继续为其主要的A型血友病项目和其他领域开发igDNA。此外,视网膜一直是今年新出现的多家基因治疗生物技术公司关注的焦点。”

八个月前,Moderna公司在这家临床前生物技术公司的平台上下注,拿出7,600万美元启动了双方的合作,其中包括两个免疫细胞项目和两个肝脏项目,还有第五个项目。McDonough 证实,Generation Bio将继续与Moderna合作。
Generation Bio的股价在周三早盘交易中上涨了3.57%,但该公司的股价仍在仙股区域附近徘徊,因为自2020年6月以每股19美元的价格在市场鼎盛时期以2.3亿美元首次公开募股上市以来,该公司的股价经历了大幅下跌。

二、Gilead子公司Kite Pharma净裁员约5%,精简某些领域以更好地优化运营效率
吉利德的细胞治疗子公司Kite Pharma将裁员约300人,约占该公司员工总数的 7%。与此同时,该公司还将在4000 多人的团队中增加约 90 个新职位,这意味着净裁员约5%。Kite目前有4,000 多名员工,预计200余人将受到本次裁员影响。
Kite是CAR-T细胞疗法龙头企业,拥有两种商业CAR-T细胞疗法:Yescarta 和 Tecartus。2023年前三季度,这两种疗法的销售额比2022年同期增长了35%,达到14亿美元。但Yescarta在美国的销售在第三季度表现疲软,因为去年获批的二线大B细胞淋巴瘤CAR-T 疗法的吸收速度一直很慢。
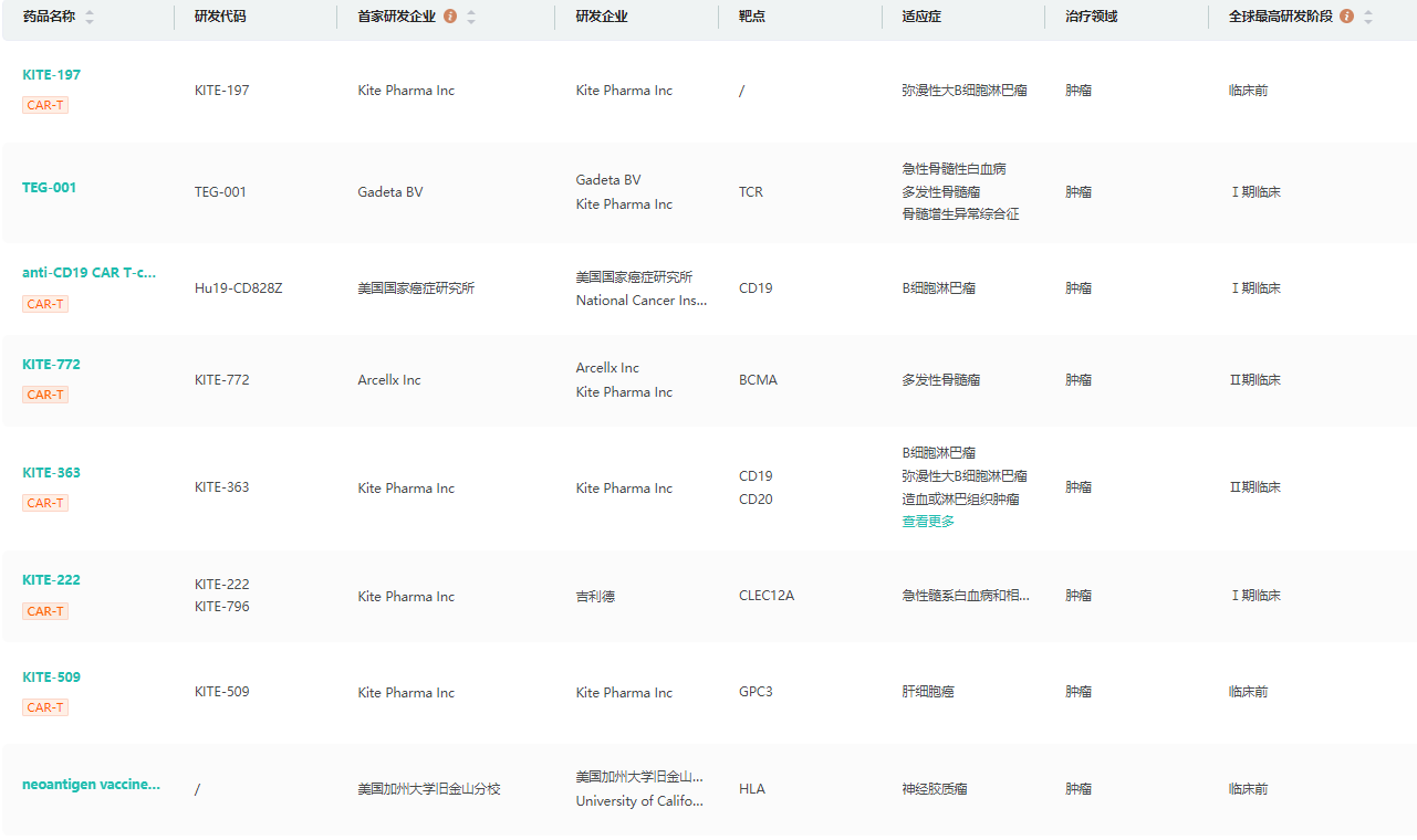
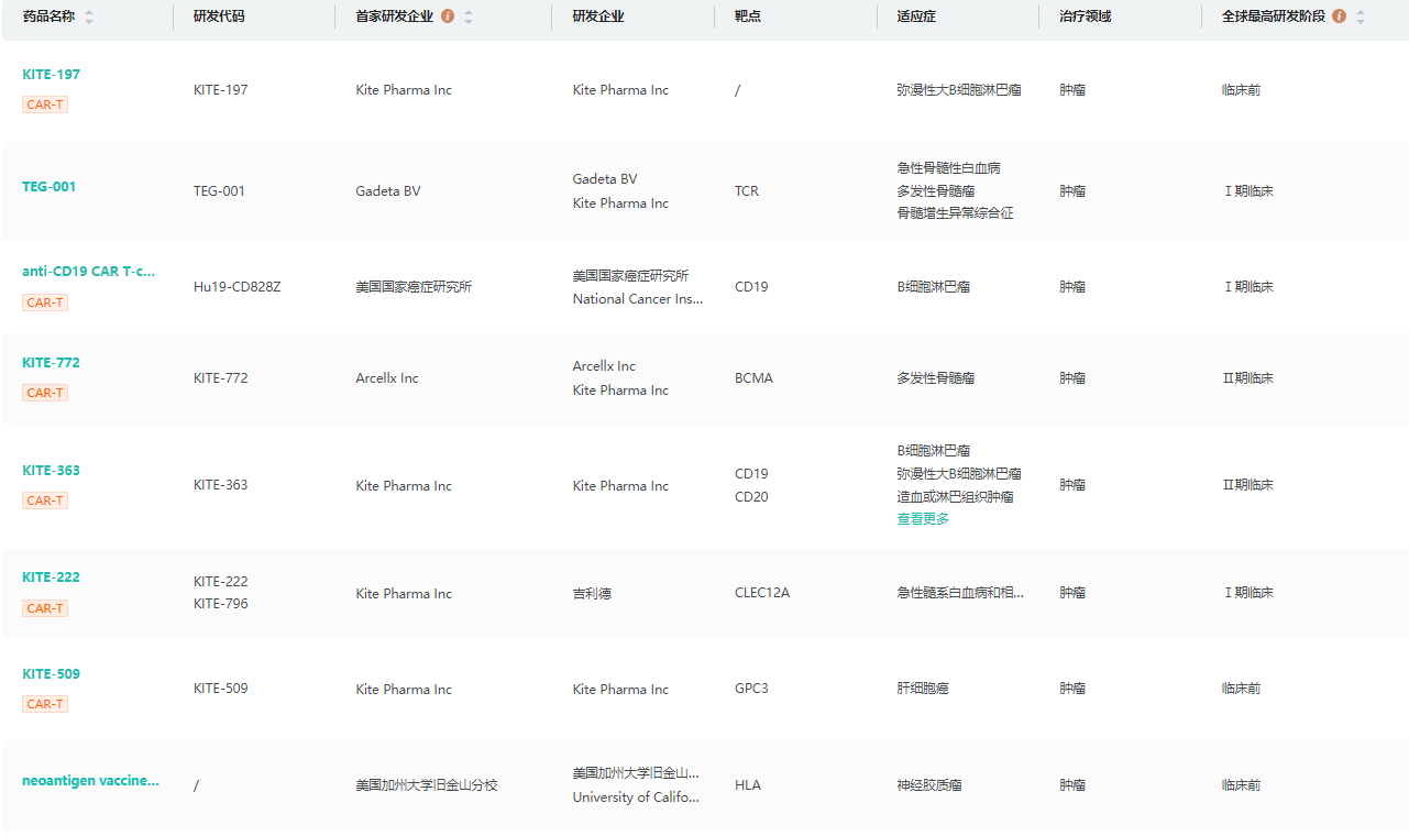
研发管线(部分)

截图来源:药融云全球药物研发数据库
本次裁员是在美国食品和药物管理局(FDA)开始对CAR-T疗法的安全性进行审查后做出的,因为有报告称患者在接受治疗后患上了血癌,这一消息可能会减缓该产品的使用.11月29日,FDA公布了这项调查,宣布已收到接受BCMA或CD19导向的CAR-T细胞免疫疗法的患者罹患T细胞恶性肿瘤(包括CAR阳性淋巴瘤)的报告。

FDA认定,潜在风险适用于目前批准的所有 CAR-T 疗法,因为患者在接受了几种不同的产品后都出现了T细胞恶性肿瘤。FDA 目前正在权衡可能采取的监管行动--尽管 CAR-T 疗法的标签上已将罹患继发性癌症的潜在风险列为一类警告。
但临床医生表示,就目前而言CAR-T的益处仍然超过T细胞恶性肿瘤的风险,CAR阳性T细胞恶性肿瘤病例并不一定意味着患者的癌症是由CAR-T治疗引起的,还需要更多信息来确定患者是否易患T细胞淋巴瘤。
目前上市的 CD19 CAR-T 疗法包括吉利德科学公司旗下 Kite Pharma 公司的 Yescarta 和 Tecartus、诺华公司的 Kymriah 和百时美施贵宝公司的 Breyanzi。强生和联想生物技术公司的 Carvykti 是 BMS 的 Abecma 在 BCMA 领域的竞争对手。在FDA的不良事件报告系统中搜索发现了Breyanzi、Carvykti、Kymriah和Yescarta的T细胞淋巴瘤病例。
Kite应该是预见到了CAR-T产品在中短期内收入会大幅收缩,因此立刻做出节流措施。受到此消息影响,除Kite外,国内外多家拥有相关产品或管线的公司股价大跌,估计也会在近期做出调整管线、裁员节流等措施。

参考来源:
1.公司官网
2.药融云全球药物研发数据库
<END>
要解锁更多企业药品研发信息吗?查询药融云数据库(vip.pharnexcloud.com/?zmt-mhwz)掌握药品各国上市情况、药品批文信息、销售情况与各维度分析、市场竞争格局、一致性评价情况、集采中标情况、药企申报审批信息、最新动态与前景等,以及帮助企业抉择可否投入时提供数据参考!注册立享15天免费试用!








川公网安备51019002008863号
本网站未发布麻醉药品、精神药品、医疗用毒性药品、放射性药品、戒毒药品和医疗机构制剂的产品信息
收藏
登录后参与评论
暂无评论