
近日,据NMPA官网公示,江苏吴中医药集团苏州制药厂(江苏吴中医药集团子公司)的盐酸多巴酚丁胺注射液通过仿制药一致性评价。据药融云数据统计,目前江苏药企已有9个品种过评。

截图来源:NMPA
盐酸多巴酚丁胺注射液原研是礼来,主要用于器质性心脏病时心肌收缩力下降引起的心力衰竭,包括心脏直视手术后所致的低排血量综合征,作为短期支持治疗。该品种是国家基药品种、2023年国家医保甲类品种。药融云数据精准统计显示,盐酸多巴酚丁胺近年来在全国院内的销售表现极为亮眼,其销售额呈现出迅猛的增长态势。2022年,全国院内销售额已突破5亿元大关,同比增长率高达17.76%,展现了其强大的市场潜力和临床需求。

截图来源:药融云全国医院销售数据库
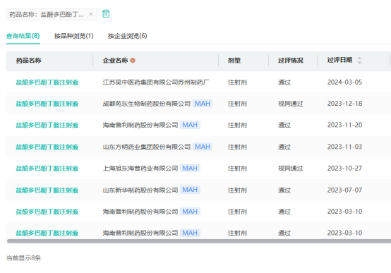
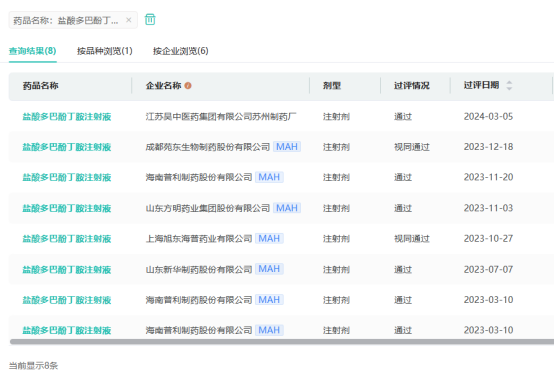
目前盐酸多巴酚丁胺注射液有成都苑东生物制药、齐鲁制药、湖南科伦制药等37家企业拥有生产批文,其中海南普利制药、成都苑东生物制药、山东新华制药、江苏吴中医药集团等6家企业过评。

截图来源:药融云过评药品汇总
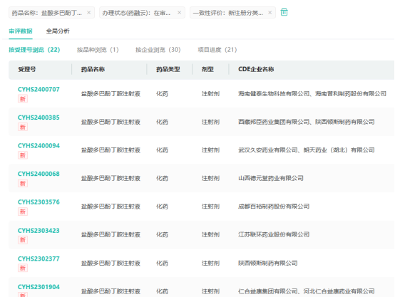
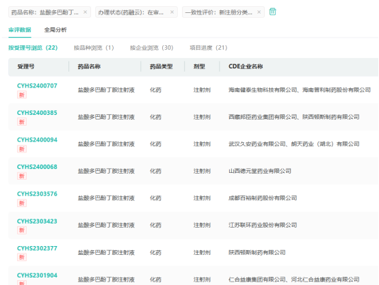
此外,该品种还有仁合益康集团、云南先施药业、江苏联环药业等30家企业提交了仿制申请,均在审评审批中。

截图来源:药融云中国药品审评数据库
截至目前,江苏吴中已有9款产品通过/视同过评一致性评价,其中,今年有盐酸多巴酚丁胺注射液、帕拉米韦注射液、西洛他唑片3款品种过评,西洛他唑片则是首家过评。
<END>
要解锁更多企业药品研发信息吗?查询药融云数据库(vip.pharnexcloud.com/?zmt-mhwz)掌握药品各国上市情况、药品批文信息、销售情况与各维度分析、市场竞争格局、一致性评价情况、集采中标情况、药企申报审批信息、最新动态与前景等,以及帮助企业抉择可否投入时提供数据参考!注册立享15天免费试用!








川公网安备51019002008863号
本网站未发布麻醉药品、精神药品、医疗用毒性药品、放射性药品、戒毒药品和医疗机构制剂的产品信息
收藏
登录后参与评论
暂无评论