
10月14日,据NMPA官网最新公示,正大天晴提交的来特莫韦注射液获批上市,成为该品种的首仿企业。据药融云数据库显示,今年4月,NMPA已批准了该公司来特莫韦片的上市申请。

截图来源:NMPA官网
来特莫韦原研由默沙东研发,是一种新型巨细胞病毒末端酶抑制剂,通过抑制巨细胞病毒DNA末端酶复合物的活性来阻止病毒DNA的加工和包装,从而发挥抗病毒的作用。2022年,原研来特莫韦片剂及注射液先后在国内获批。2023年,来特莫韦片和来特莫韦注射液通过国谈被纳入国家医保乙类药物目录。据药融云数据库显示,2023年,来特莫韦在全球的销售额为6.05亿美元,同比增长达41.36%。此外,在2023年全国院内市场,来特莫韦(片剂+注射剂)的销售总额超9千万。

截图来源:药融云全国医院销售数据库
2022年10月25日,CDE承办受理了南京正大天晴制药的来特莫韦片的仿制药上市申请,于2024年4月获批上市并斩获该剂型首仿。此次,南京正大天晴制药的来特莫韦注射液成功获批并斩获首仿+首家过评。

截图来源:药融云过评药品汇总数据库
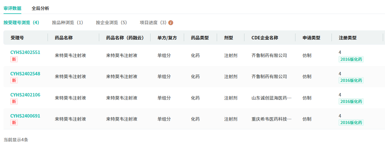
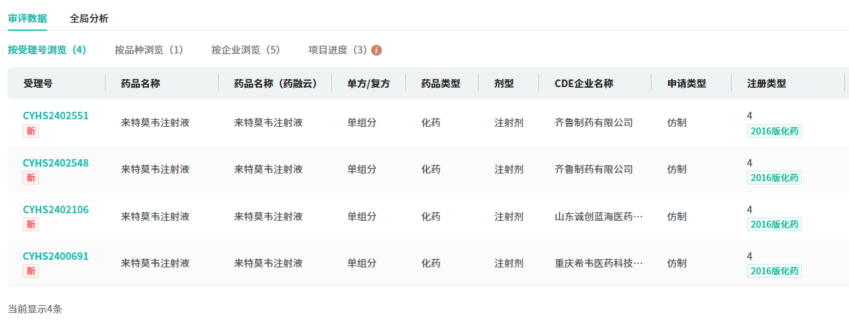
在仿制药布局方面,来特莫韦注射液国内有齐鲁制药、华北制药、山东诚创蓝海医药、重庆希韦医药、重庆博腾药业5家药企提交了4类仿制申请,均在审评审批中。

截图来源:药融云中国药品审评数据库
2024年至今,正大天晴(含子公司)有沙库巴曲缬沙坦钠片、碘普罗胺注射液、舒更葡糖钠注射液等18个品种获批并过评,其中依维莫司片、来特莫韦注射液、来特莫韦片、艾拉莫德片、艾曲泊帕乙醇胺片为首家过评品种。
参考来源:
[1] NMPA官网
[2] 药融云数据库
<END>
想要解锁更多药物研发信息吗?查询药融云数据库(vip.pharnexcloud.com/?zmt-mhwz)掌握药物基本信息、市场竞争格局、销售情况与各维度分析、药企研发进展、临床试验情况、申报审批情况、各国上市情况、最新市场动态、市场规模与前景等,以及帮助企业抉择可否投入时提供数据参考!注册立享15天免费试用!








川公网安备51019002008863号
本网站未发布麻醉药品、精神药品、医疗用毒性药品、放射性药品、戒毒药品和医疗机构制剂的产品信息
收藏
登录后参与评论
暂无评论