近几年卡泊芬净在国内药企仿制药的不断获批,原研药企默沙东的市场份额逐步萎缩,2024年全终端院内的市场份额占据53.84%,2025年上半年仅剩45.68%,国产仿制药对其市场冲击显著。

截图来源:摩熵医药全终端医院销售数据库
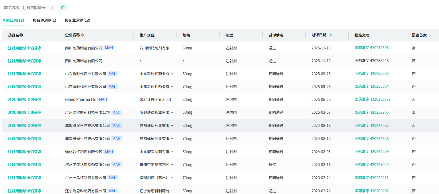
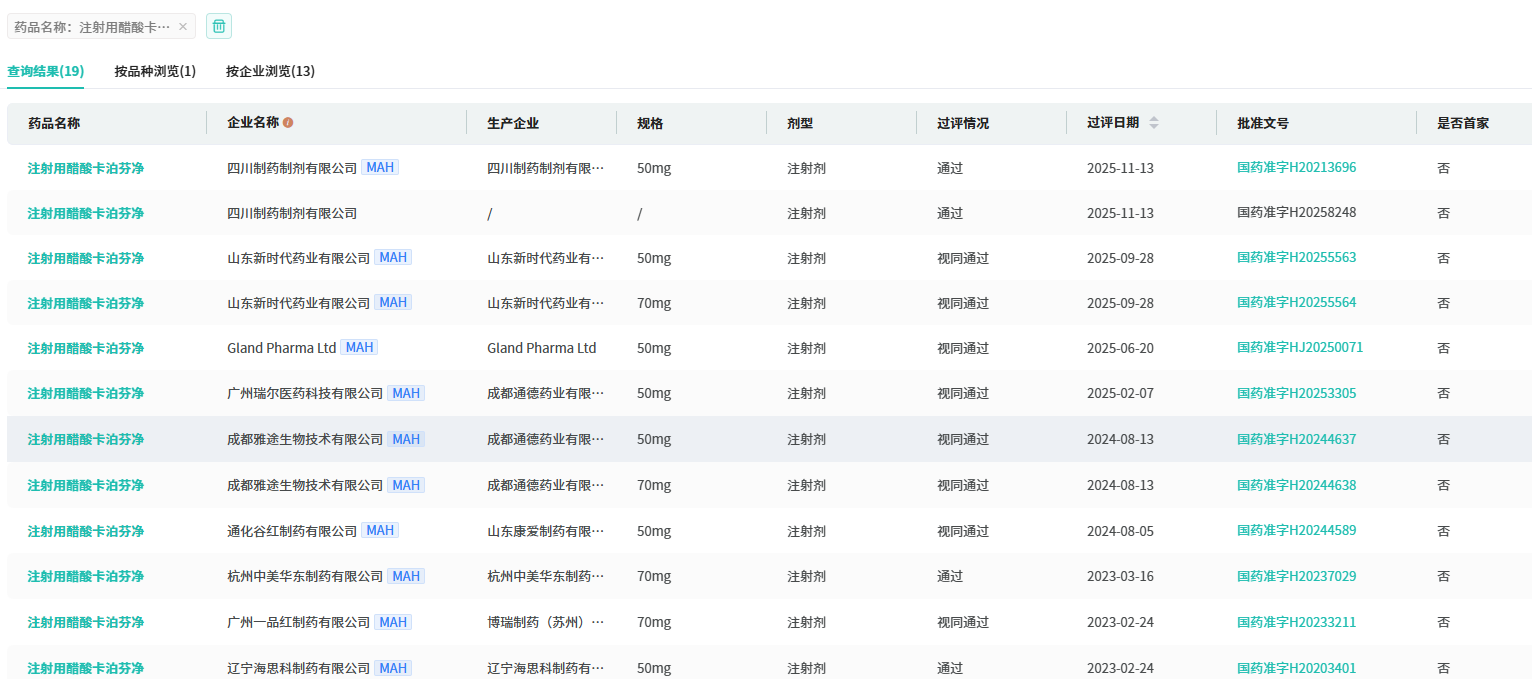
卡泊芬净的专利保护期于2014年届满,此后仿制药陆续获批上市。截至目前,在国内有山东新时代药业 、杭州中美华东制药、四川制药制剂等15家药企拥有生产批文,其中13家药企通过一致性评价。此外,辽宁海思科制药、广州一品红制药、正大天晴药业集团、海南海灵化学制药、齐鲁制药(海南)以及江苏恒瑞医药这6家药企生产的注射用醋酸卡泊芬净,被纳入第九批药品集中带量采购范围。

截图来源:摩熵医药过评药品汇总数据库
截至目前,四川制药制剂获批且通过一致性评价的品种数量已超20款。其中,公司的阿莫西林胶囊分别成功入选第八批、第十批国家药品集中带量采购;注射用头孢美唑钠被纳入第七批集采;注射用头孢他啶则进入第五批集采范围。
参考来源:
[1] NMPA官网
[2] 摩熵医药(原药融云)数据库
扩展阅读:
1. 四川制药制剂的注射用氨苄西林钠,通过仿制药一致性评价!
2. [硫酸艾沙康唑胶囊] 或将成为下一个口服抗真菌市场的黑马
3. 成都苑东生物制药的4类仿制化药吡仑帕奈片,上市申请获受理!
想要解锁更多药物研发信息吗?查询摩熵医药(原药融云)数据库(vip.pharnexcloud.com/?zmt-mhwz)掌握药物基本信息、市场竞争格局、销售情况与各维度分析、药企研发进展、临床试验情况、申报审批情况、各国上市情况、最新市场动态、市场规模与前景等,以及帮助企业抉择可否投入时提供数据参考!注册立享15天免费试用!

收藏
登录后参与评论
暂无评论