
本月(2022年3月),短短十天,玻璃酸钠滴眼液就已有3家药企先后申报上市新4类仿制药,分别是上海昊海生物/北京汇恩兰德制药、呋欧医药/浙江赛默制药和石家庄格瑞药业。至此,这个年售8亿+的经典干眼症用药已有超20家企业争相申报。

截图来源:CDE官网
玻璃酸钠滴眼液是国内治疗干眼症的常用药。近年来,眼科用药在全国医院的市场逐年扩大,20219-2020年均实现销售收入超70亿元,2021年前三季度更是已近90亿,或将成为又一大百亿用药市场。
眼科用药院内销售概况

截图来源:药融云全国医院销售数据库
其中,玻璃酸钠滴眼液为近年来眼科领域的TOP3药品,2020年院内销售额超8亿。不过,国内玻璃酸钠滴眼液市场仍以国外企业为主,且市场高度集中,大部分的市场份额均由德国悟兹法姆药业和参天制药包揽。以2020年院内数据为例,这两个企业一共占据了超8成的市场份额,其余份额由珠海联邦、齐鲁制药、浙江尖峰药业等企业共享。
玻璃酸钠滴眼液2020年院内销售企业TOP10

截图来源:药融云全国医院销售数据库
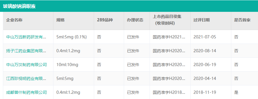
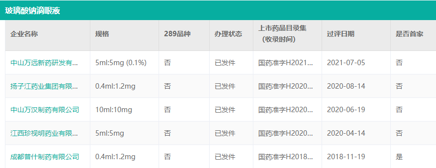
目前,在国内玻璃酸钠滴眼液已有超20家企业以新注册分类申报上市,其中成都普什制药(首家过评)、江西珍视明药业、中山万汉制药、扬子江和中山万远等5家企业陆续获批。
玻璃酸钠滴眼液已过评企业

数据来源:药融云一致性评价数据库
想要解锁更多药物申报信息吗?查询药融云数据库(https://www.pharnexcloud.com/?zmt-mhwz)掌握药物竞争格局、申报情况、最新进展、涉及靶点适应症、市场规模与前景、可否投入研发与仿制!注册立享15天免费试用和虎年首份医药数据大礼包!

—END—







川公网安备51019002008863号
本网站未发布麻醉药品、精神药品、医疗用毒性药品、放射性药品、戒毒药品和医疗机构制剂的产品信息
收藏
登录后参与评论
暂无评论