
近日,苏州特瑞药业的富马酸丙酚替诺福韦片的仿制4类上市申请进入“在审批”状态,预计将于近期获批。这款潜力10亿+的乙肝药物,随着其原研专利于2021年7月20日到期,国内多家本土药企扎堆过评、申报,市场大战早已打响。

截图来源:NMPA官网
富马酸丙酚替诺福韦(TAF),又名替诺福韦艾拉酚胺,原研来自吉利德,是治疗成人和青少年慢性乙型肝炎的抗病毒强效药,《中国慢性乙型肝炎防治指南2019年版》以“强效低耐药”为原则,将富马酸丙酚替诺福韦与恩替卡韦、富马酸替诺福韦酯同时作为慢乙肝抗病毒治疗的一线推荐药物。2016年11月,富马酸丙酚替诺福韦片获FDA批准上市,商品名为Vemlidy,2018年11月,该药获国家药监局批准上市,商品名为韦立得。2020年在中国医院斩获4亿销售额,2021年前三季度近10亿,同比增长了313%。
富马酸丙酚替诺福韦院内销售情况

截图来源:药融云全国医院销售数据库
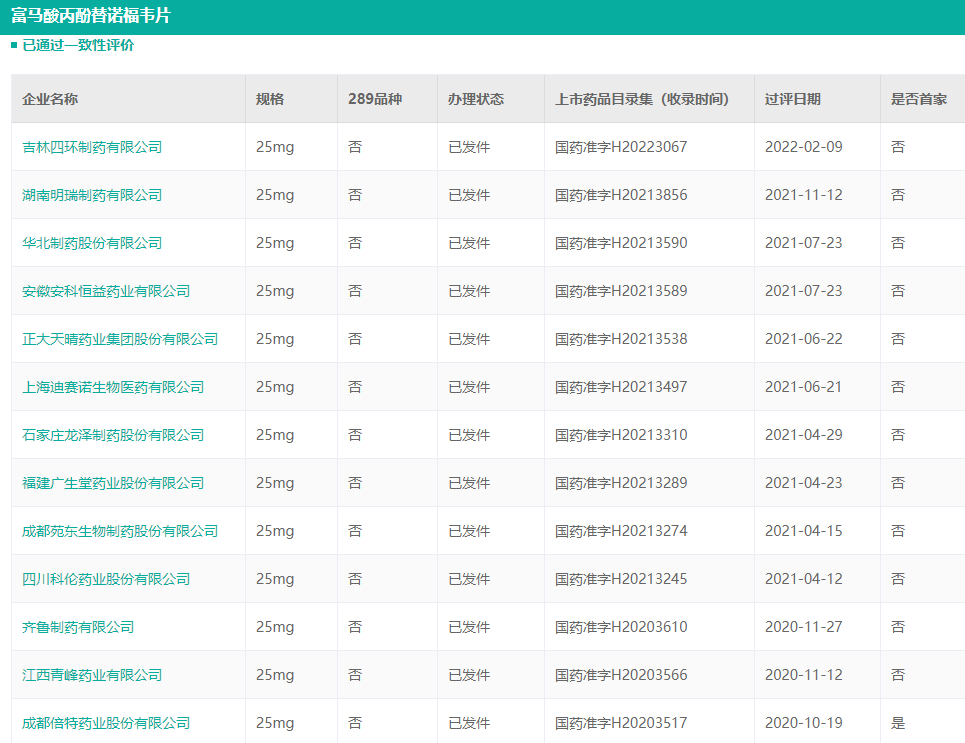
我国乙肝患者众多,肝病药物市场大,因此很多药企仿制该药物。2020年10月,NMPA签发成都倍特药业富马酸丙酚替诺福韦片批文,拿下首家过评;次月,江西青峰药业获批生产该品种,成为第2家获批的厂家;随后齐鲁制药、科伦药业、苑东生物、正大天晴等11家企业也陆续过评。
富马酸丙酚替诺福韦片已过评企业

截图来源:药融云一致性评价数据库
与此同时,还有19个富马酸丙酚替诺福韦片上市申请受理号已经递交,其中不乏先声药业、人福、石药欧意、扬子江药业等明星药企。随着原研专利于2021年7月20日到期,国内多家本土药企扎堆过评、申报,富马酸丙酚替诺福韦市场大战早已打响。
想要解锁更多仿制药最新进展信息吗?查询药融云数据库(https://www.pharnexcloud.com/?zmt-mhwz)掌握仿制药申报情况、最新进展、审评情况、一致性评价、竞争格局、销售情况、市场规模与前景,可否投入仿制!注册立享15天免费试用和虎年首份医药数据大礼包!

—END—







川公网安备51019002008863号
本网站未发布麻醉药品、精神药品、医疗用毒性药品、放射性药品、戒毒药品和医疗机构制剂的产品信息
收藏
登录后参与评论
暂无评论