
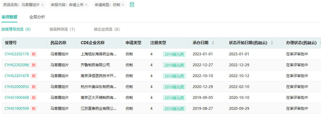
2023年1月1日,国家CDE官网显示,上海旭东海普以仿制4类报产的马昔腾坦片获得受理。此前在2022年12月27日,齐鲁制药也以仿制4类报产的马昔腾坦片获得受理。至此,已有6家药企先后递交了该亿元罕见病药物的仿制药上市申请,均在审评审批中。目前国内的马昔腾坦仅原研获批生产销售,本土药企中谁家将会抢先冲线,拿下国内首仿药呢?


截图来源:CDE官网
马昔腾坦(Macitentan,商品名:Opsumit/傲朴舒)是一种内皮素受体拮抗剂(ERA),用于肺动脉高压(PAH)的治疗,延缓疾病进展。PAH是环境、遗传等多种因素引起肺动脉阻力进行性增高、肺血管重塑、右室肥厚,并最终引起右心衰竭甚至死亡的一种恶性心血管疾病,致死率跟癌症类似,也被称为心血管领域的“癌症”。另外,PAH患者会由于缺氧而导致嘴唇呈现蓝紫色,因此也被称为“蓝嘴唇”。马昔腾坦能够有效降低PAH患者以发病率和死亡率组成的复合终点,明显改善PAH患者的运动耐量(6分钟步行测试)、PAH症状(根据WHO FC评估)。
马昔腾坦原研公司爱可泰隆于2013年10月获FDA批准上市,是首个获批用于PAH的口服制剂。2021年该产品在全球销售额为18.19亿美元,市场潜力巨大。
在中国,爱可泰隆于2016年12月向NMPA提交马昔腾坦上市申请,2017年5月被列入自查名单中,2017年10月获批上市,2018年3月,爱可泰隆宣布马昔腾坦正式上市,目前该产品在国内仅有原研生产销售。据药融云统计,2021年马昔腾坦在国内院内销售额突破亿元,增长率高达173.92%。今年H1的销售额已比肩去年前三个季度,预计2022年将依旧保持高速增长趋势。

截图来源:药融云全国医院销售数据库
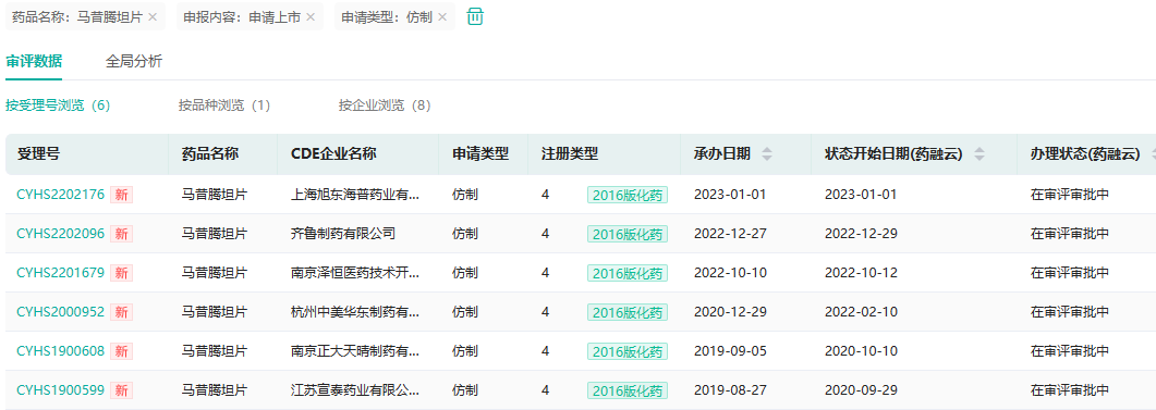
截至目前,国内共有上海宣泰海门药业/普济生物科技、南京正大天晴制药、杭州中美华东制药、南京泽恒医药/江苏云阳集团药业、齐鲁制药、上海旭东海普均以仿制4类报产在审,国内首仿药花落谁家?

截图来源:药融云中国药品审评数据库
值得一提的是,2020年4月,上海宣泰的马昔腾坦片(规格10mg)的ANDA申请获美国FDA暂定批准,批文号为ANDA 211026。上海宣泰的马昔腾坦片是美国首仿药,目前美国原研产品化合物专利还在专利保护期内,获得最终批准后于美国市场上市销售。
2019年2月22日,财政部、海关总署、税务总局、药监局联合发布《关于罕见病药品增值税政策的通知》,马昔腾坦位列首批罕见病药品清单。期待国产仿制药能够早日上市,给患者带来更多的高质量低价格的购药选择。特别是首仿药,如果作为“全国首家通过一致性评价”上市,将有利于提升该药品的市场竞争力,为其将来销售增长奠定坚实的基础。

参考来源:
[1] CDE官网
[2] 药融云数据库
想要解锁更多药品信息吗?查询药融云数据库(vip.pharnexcloud.com/?zmt-mhwz)掌握药品各国上市情况、药品批文信息、销售情况与各维度分析、市场竞争格局、药企申报审批信息、最新动态与前景等,以及帮助企业抉择可否投入时提供数据参考!注册立享15天免费试用!

—END—







川公网安备51019002008863号
本网站未发布麻醉药品、精神药品、医疗用毒性药品、放射性药品、戒毒药品和医疗机构制剂的产品信息
收藏
登录后参与评论
暂无评论