
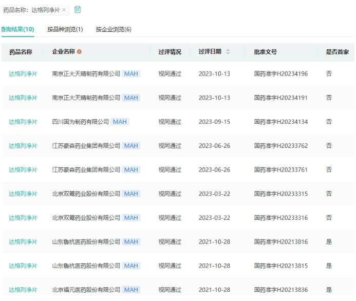
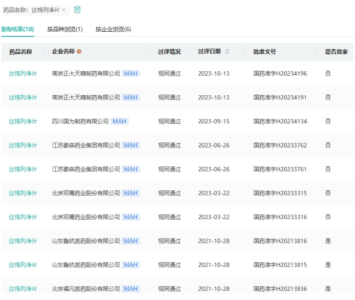
据NMPA官网最新公示,南京正大天晴的4类化学药品达格列净片已于近日获批生产(国药准字H20234196/国药准字H20234191),视同通过一致性评价。至此,该品种国内已累计有6家药企过评。

截图来源:NMPA官网
达格列净(dapagliflozin)是一种每日口服一次的选择性钠-葡萄糖协同转运蛋白2(SGLT-2)抑制剂。其原研企业是百时美施贵宝,后阿斯利康收购了其全球销售权,最早于2012年获欧洲EMA首次批准,是全球第一个获批上市用于治疗2型糖尿病的SGLT2抑制剂。
据阿斯利康财报显示,2022年达格列净片全球销售额高达43.81亿美元,同比增长46%。在国内市场,该产品于2019年通过谈判纳入国家医保乙类目录。据药药融云数据,2022年院内销售额已近30亿元,为糖尿病用药TOP1品种,同比增长超50%;2023年Q1继续保持良好增速。

截图来源:药融云全国医院销售数据库
达格列净片作为一款重磅明星产品,国内不乏众多仿制药企业想分得一块蛋糕,但受原研专利的掣肘,虽然有部分仿制药厂家早已拿到了批准文号,但至今无法上市销售。
据药融云数据库显示,该药目前国内仅6家企业获批,其中山东鲁抗医药、北京福元医药为首仿,南京正大天晴为第6家获批的药企。另有齐鲁、石药、倍特、华东医药等26家企业提交了达格列净片的仿制上市申请,涉及35个受理号。可以预见,未来国内达格列净片市场将出现激烈的竞争局面。

截图来源:药融云过评药品汇总数据库
随着今年5月份达格列净化合物专利的到期,其制剂、晶型专利继续经受着疯狂无效挑战围剿,达格列净有望成为恩格列净和卡格列净后第三个进入集采的SGLT-2抑制剂。
至此,南京正大天晴今年已有8个品种通过一致性评价,其中聚多卡醇注射液、培唑帕尼片、磷酸特地唑胺片和芦比前列酮软胶囊等4款均为首家过评。
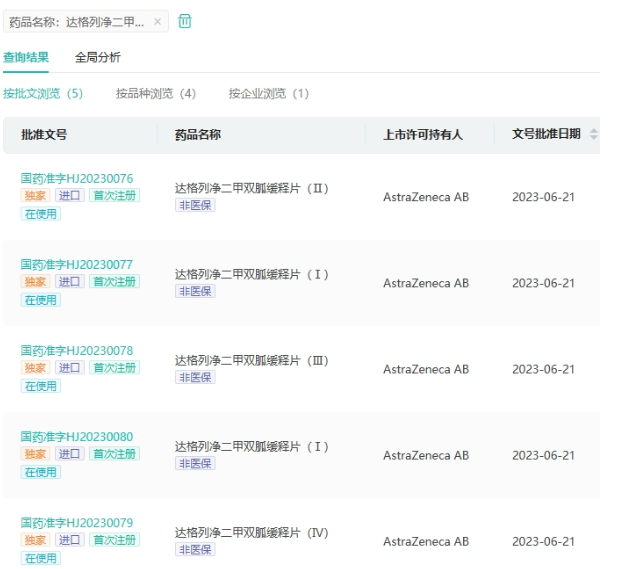
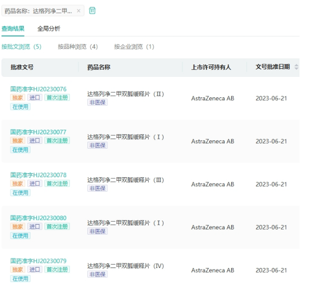
与此同时,在糖尿病领域,南京正大天晴还布局了达格列净二甲双胍缓释片。该药物原研产品于今年6月最新获批上市,用于治疗2型糖尿病。目前该药品暂无其他仿制药获批,仅南京正大天晴、宣泰医药和福元医药递交了上市申请,首仿或将从这3家药企中诞生。

截图来源:药融云中国药品批文数据库
<END>
要解锁更多企业药品研发信息吗?查询药融云数据库(vip.pharnexcloud.com/?zmt-mhwz)掌握药品各国上市情况、药品批文信息、销售情况与各维度分析、市场竞争格局、一致性评价情况、集采中标情况、药企申报审批信息、最新动态与前景等,以及帮助企业抉择可否投入时提供数据参考!注册立享15天免费试用!








川公网安备51019002008863号
本网站未发布麻醉药品、精神药品、医疗用毒性药品、放射性药品、戒毒药品和医疗机构制剂的产品信息
收藏
登录后参与评论
暂无评论