
要想实时把握国产创新药全球化最新进展,以及全球在研创新药的临床结果,《药融云医药行业观察周报》绝对是您不可或缺的参考。
据药融云最新报告统计,本周有多家知名药企的在研新药临床试验取得了突破性进展,获得了令人振奋的积极临床结果,值得我们密切关注。同时,国产创新药的全球化进程也取得了新的突破,展现出“出海”加速的强劲势头。
1.强生HIV疗法“利匹韦林注射液”在中国获批
近日,强生(Johnson&Johnson)旗下强生创新制药(Johnson&JohnsonInnovativeMedicine)提交的艾滋病(AIDS)新药利匹韦林注射液的上市申请已正式获得批准。这是我国批准的首个完整的HIV-1长效(最长每两个月一次)注射治疗方案。
利匹韦林注射液批准进口耗时702天

图片来源:药融云中国药品审评数据库
利匹韦林是一种非核苷逆转录酶抑制剂(NNRTI)。2017年,利匹韦林片(英文商品名:Edurant)在中国获批用于治疗成年HIV-1感染。利匹韦林注射液是一种长效注射混悬液,已在海外获批上市(英文商品名:Rekambys),与卡替拉韦注射液(cabotegravir)联合用于特定HIV-1感染成人患者。
由利匹韦林注射液和卡替拉韦注射液组成的长效抗病毒疗法,海外商品名为Cabenuva。其中,卡替拉韦注射液由葛兰素史克(GSK)旗下ViiVHealthcare公司开发,已于今年7月在中国获批。
卡替拉韦注射液批准进口-审评时间轴

图片来源:药融云中国药品审评数据库
Cabenuva能将每日服药改为每月一次或者每两个月一次的治疗,这是HIV感染者治疗领域的一项重大改变。该疗法曾在美国获批两种给药方案,分别为每月一次和每两月一次,作为治疗那些接受抗逆转录病毒治疗后出现病毒学抑制的成人HIV-1感染患者的完整方案。
2.自行接种流感疫苗!阿斯利康4价鼻喷疫苗监管申请获受理
近日,阿斯利康(AstraZeneca)向美国FDA递交的无针鼻腔喷雾剂FluMistQuadrivalent(流感活疫苗,鼻喷式)的生物制品许可补充申请(sBLA)已被受理,该sBLA旨在寻求FDA批准FluMistQuadrivalent可由患者自行接种或由护理人员接种。
FluMistQuadrivalent是一款减毒活疫苗,以鼻喷剂的形式接种,用于预防流感。该疫苗包含了四种筛选过的减毒流感病毒株,它们能够在鼻腔的黏膜上复制,引起微小的感染。这种感染会激发黏膜和全身性免疫反应。该疫苗最初于2003年在美国获得批准,用于2至49岁的儿童和成人。
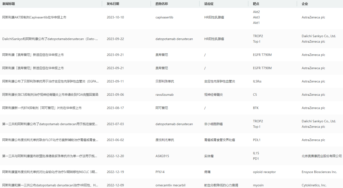
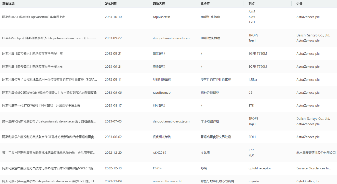
阿斯利康重要新闻资讯查询

图片来源:药融云新闻资讯数据库
FluMistQuadrivalent的获批为鼻喷疫苗的开发提供了一个重要的先例,证明了黏膜免疫反应能够起到保护作用。该sBLA得到了一项可用性研究的支持,这项研究证实,18岁以上的个体无需任何额外的指导就能够自行接种FluMistQuadrivalent,或为符合条件的2-49岁患者进行接种。如果获得批准,其将成为首款可由符合条件的患者自行接种或由护理人员接种的流感疫苗,为接种流感疫苗增添了新的选择。
3.全球首款!肝癌治疗新模式获FDA许可挺进临床开发
近日,百吉生物(Biosyngen)实体瘤领域又一创新产品BST02的1/2期临床试验申请获得美国FDA批准,用于治疗所有类型的肝癌。这是全球首款进入临床开发阶段的肝癌TIL疗法。
原发性肝癌(PLC)简称肝癌,是全世界范围内常见的消化系统恶性肿瘤,年新发病例数达到90.6万人,死亡83.0万人。TIL疗法是指从肿瘤组织中分离自然浸润淋巴细胞,通过体外扩增和功能优化后,重新回输到患者体内。
由于TIL具有多种T细胞受体(TCR)克隆性、选择性肿瘤归巢能力和较低的非肿瘤靶向毒性,TIL疗法在实体瘤的细胞免疫疗法领域具有一定优势。BST02正是一款TIL疗法,且BST02是冻存产品,突破了距离的限制,且不需要高剂量白介素-2伴随用药,其安全性和有效性已在探索性临床中得到初步验证。
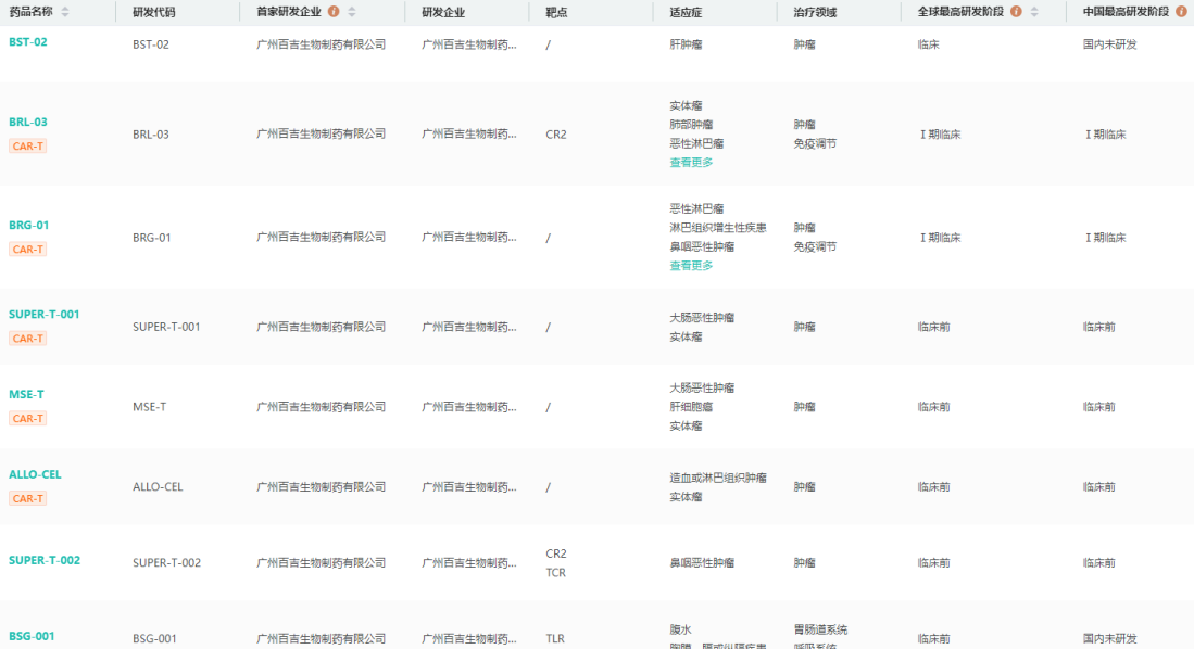
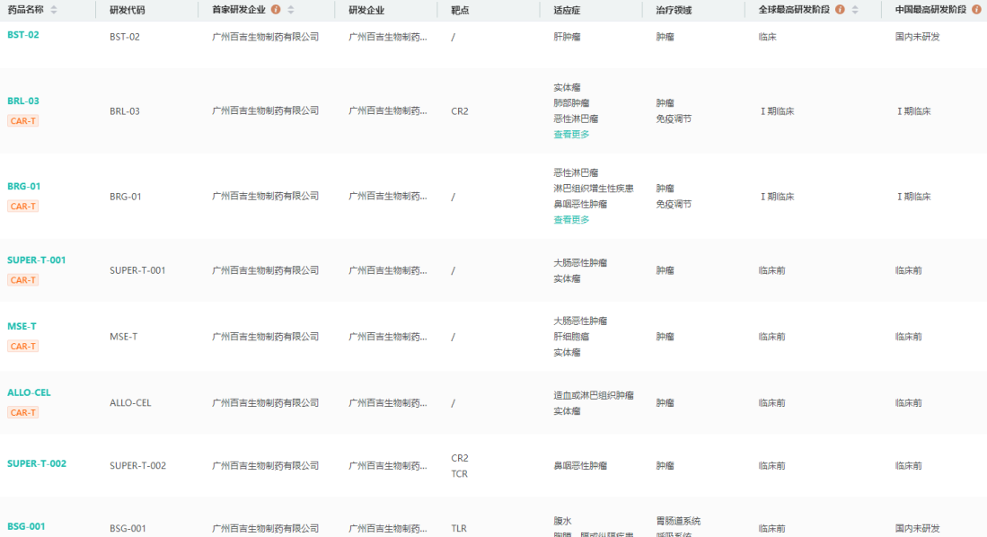
百吉生物研发布局及管线进度查询

图片来源:药融云全球药物研发数据库
药融云全球药物研发数据库显示,百吉生物在治疗鼻咽癌、多种消化道类肿瘤、肝癌、肺癌、EBV阳性血液系统疾病等多种实体瘤和血液瘤领域拥有产品布局;管线同时覆盖CART、TCRT、TIL、多特异性抗体等多种前沿免疫细胞治疗领域。目前进度较快的有BRL-03、BRG-01,处于临床I期阶段。
4. 康宁杰瑞/石药集团抗HER2双抗拟纳入突破性治疗品种
近日,CDE官网公示,由石药集团全资附属公司津曼特生物和康宁杰瑞共同申请的重组人源化抗HER2双特异性抗体注射液(研发代号:KN026)拟纳入突破性治疗品种,拟定适应症为联合化疗药物用于一线标准化疗(曲妥珠单抗联合化疗)失败的HER2阳性局部晚期、复发或转移性的胃癌(包括胃-食管结合部腺癌)。
胃癌及胃食管结合部腺癌是常见的恶性肿瘤之一。HER2在很多肿瘤中都存在过表达,其中胃癌约15-20%。KN026是康宁杰瑞采用具有Fc异二聚体平台技术(CRIB)开发的抗HER2双特异性抗体,可同时结合HER2的两个非重叠表位,导致HER2信号阻断。
KN-026不同适应症研发现状

图片来源:药融云全球药物研发数据库
药融云数据库显示,目前,KN026正在中国、美国开展胃肿瘤、转移性乳腺癌、食管肿瘤、实体瘤等多项不同阶段的临床试验。试验结果表明,KN026具有良好的疗效和安全性,在多线抗HER2治疗后进展的HER2阳性乳腺癌和胃癌患者中仍然表现出显著的抗肿瘤活性。
5. 君实生物抗PD-1单抗获美国FDA批准
CoherusBioSciences与君实生物(JunshiBiosciences)宣布,美国FDA批准其单抗Loqtorzi(toripalimab,特瑞普利单抗)联合吉西他滨/顺铂作为晚期复发或转移性鼻咽癌(NPC)患者的一线治疗。
特瑞普利单抗的上市申请是基于JUPITER-02(一项随机、双盲、安慰剂对照、国际多中心3期临床研究)及POLARIS-02(一项多中心、开放标签、2期关键注册临床研究)的研究结果。
其单药也获批用于复发或转移性鼻咽癌含铂治疗后的二线及以上治疗。特瑞普利单抗是首个FDA批准用以治疗鼻咽癌的药物。
鼻咽癌是一种原发于鼻咽部黏膜上皮的恶性肿瘤,是常见的头颈部肿瘤之一。据统计,2020年全球鼻咽癌新发病例数超过13万。由于原发肿瘤位置的原因,很少采用手术治疗,局部疾病患者主要采用化疗及放疗治疗。在美国,尚无免疫疗法获批用于治疗鼻咽癌。
特瑞普利单抗在研适应症

图片来源:药融云全球药物研发数据库
特瑞普利单抗(中文商品名:拓益)是我国批准上市的首个国产以PD-1为靶点的单抗药物。
药融云数据显示,特瑞普利单抗至今已在全球(包括中国、美国、东南亚及欧洲等地)开展了覆盖超过15个适应症的40多项的临床研究,包括肺癌、鼻咽癌、食管癌、胃癌、膀胱癌、乳腺癌、肝癌、肾癌及皮肤癌等。
2020年12月,特瑞普利单抗首次通过国家医保谈判,目前已有3项适应症纳入《2021年药品目录》,是国家医保目录中唯一用于治疗黑色素瘤的抗PD-1单抗药物。
<END>
以上内容只是本期《药融云医药行业观察周报》的部分内容,想要了解更多国产创新药全球化动态、全球在研创新药积极/失败临床结果动态,以及获取报告的全部内容,可以关注“药融云”公众号,后台回复“报告”关键词进行领取。








川公网安备51019002008863号
本网站未发布麻醉药品、精神药品、医疗用毒性药品、放射性药品、戒毒药品和医疗机构制剂的产品信息
收藏
登录后参与评论
暂无评论