
鼻腔吸入给药是一种非侵入性给药途径,有效药物成分可发挥局部、全身和中枢神经系统(CNS)的作用。药物通过鼻黏膜吸收后,可获得比口服给药更好的生物利用度,发挥全身治疗作用,如甾体激素类、镇痛药以及抗病毒药物等。
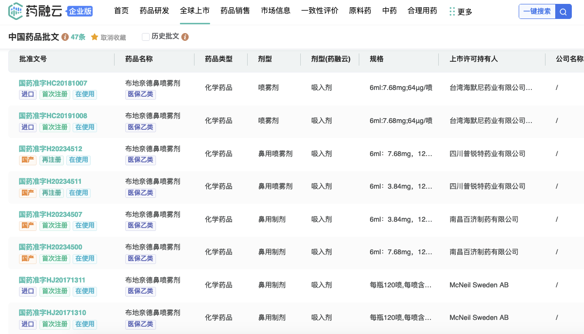
药融云数据显示:2023年11月21日,南昌百济制药有限公司(Nanchang Baiji Medicine Technology Co.,Ltd.)获得了国家药监局(NMPA)首个视同通过仿制药质量和疗效一致性评价批准上市的产品布地奈德鼻喷雾剂仿制药(国药准字H20234500/国药准字H20234507)(Budesonide Nasal Spray ),该产品用于治疗季节性和常年性过敏性鼻炎,常年性非过敏性鼻炎;预防鼻息肉切除后鼻息肉的再生,对症治疗鼻息肉。目前,鼻喷雾剂是过敏性鼻炎(又称为变应性鼻炎)的一线推荐用药。
本品于2022年4月递交上市申请。2023年6月向NMPA/CDE发补材料,最终获批上市。

截图来源:药融云-中国药品批文数据库
布地奈德(budesonide)是一种具有抗炎作用的糖皮质激素类药物,常用于治疗过敏性鼻炎、哮喘和慢性支气管炎。原研布地奈德由AstraZeneca研发,包括鼻喷雾剂、吸入气雾剂、吸入粉雾剂和吸入混悬剂四种剂型。
布地奈德鼻喷雾剂:因其对生产工艺、质量评价手段、装置选择及临床试验(多中心、随机、双盲、三臂平行临床终点生物等效性试验和布地奈德鼻喷雾剂在中国健康受试者中的单中心、随机、开放、两序列、两周期交叉设计的生物等效性研究)开展均具有较高的要求。(进口原研雷诺考特®目前权益在强生手中,最早于1994年2月14日经美国FDA批准上市)

布地奈德鼻喷雾剂项目在全国共开设34家中心,招募664名受试者
2023年9月,我国CDE才新发布了《化学药品仿制药混悬型鼻用喷雾剂药学研究技术指导原则(征求意见稿)》。


南昌百济制药(含子公司上海百安制药有限公司)还同时布局了丙酸氟替卡松鼻喷雾剂和糠酸莫米松鼻喷雾剂,其中前者已递交仿制药上市申请,后者仍处于临床试验阶段。

2024年7月,远大医药(00512)发布公告,集团附属公司北京远大九和药业有限公司近日以约2.6亿元人民币收购了百济制药100%的股权并获得其技术领先的鼻喷制剂平台。百济制药是从事研发和生产激素类鼻喷制剂的高新技术企业,公司构建了从早期研发、临床研究到产业化全过程的研发体系及具备 GMP 认证生产体系,形成了包括药物颗粒表征技术、制剂质量特性评价、制剂体内外相关性研究、制剂工艺优化及规模化生产等核心技术,建立了国内技术领先的鼻喷制剂平台。
参考来源:
[1] CDE/NMPA官网
[2] 药融云数据库
[3] FDA/EMA/PMDA
[4] 相关公司公开披露
https://www.cde.org.cn/main/news/viewInfoCommon/682dc7ddb4253a5e7a6f8ff18183bf06;
Saluja B , Li B V , Lee S L . Bioequivalence for Orally Inhaled and Nasal Drug Products[J]. 2014. 369-394;等等。
<END>
想要解锁更多药企信息吗?查询药融云数据库(vip.pharnexcloud.com/?zmt-mhwz)掌握药企公司基本信息、投融资情况、产品管线分布、药物销售情况与各维度分析、药物研发情况、年度报告、最新进展动态、临床试验信息、市场规模与前景等,以及帮助企业抉择可否投入时提供数据参考!注册立享15天免费试用!








川公网安备51019002008863号
本网站未发布麻醉药品、精神药品、医疗用毒性药品、放射性药品、戒毒药品和医疗机构制剂的产品信息
收藏
登录后参与评论
暂无评论