
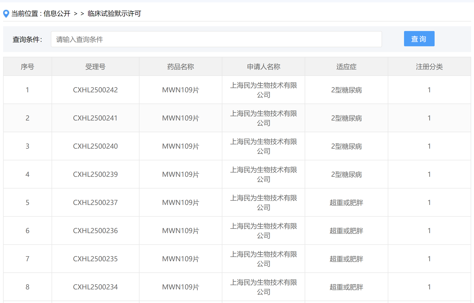
5月9日,CDE官网显示,由上海民为生物技术有限公司申报的MWN109片通过临床默示许可,适应症为:超重或肥胖以及2型糖尿病。

MWN109片是上海民为生物自主研发具有GLP-1/GIP/GCG活性的脂肪酸链修饰多肽,于2025年3月向CDE提交临床试验申请。根据已检索的信息,本次临床试验的获批,MWN109片将为全球首个进入临床的口服GLP-1/GIP/GCG多肽。

5月9日,CDE官网显示,由上海民为生物技术有限公司申报的MWN109片通过临床默示许可,适应症为:超重或肥胖以及2型糖尿病。

MWN109片是上海民为生物自主研发具有GLP-1/GIP/GCG活性的脂肪酸链修饰多肽,于2025年3月向CDE提交临床试验申请。根据已检索的信息,本次临床试验的获批,MWN109片将为全球首个进入临床的口服GLP-1/GIP/GCG多肽。
| 企业名称 | 申报临床 | 批准临床 | 申请上市 | 批准上市 | 一致性评价 |
|---|
MWN109片是在MWN109注射液基础上开发的口服剂型,作用机理为通过刺激胰岛β细胞分泌胰岛素,有效控制血糖,通过胃排空和胃酸分泌,增加饱腹感,减少能量摄入,同时通过促进脂肪分解,增加能量排空和基础代谢,有效降低体重。
非临床研究结果显示,MWN109在啮齿类动物和灵长类动物上均显示出优异的降糖和减重活性,优于阳性对照Retatrutide(Retatrutide是礼来基于GIP肽序开发的一款同时靶向胰高血糖素样肽1受体(GLP-1R)、胰高血糖素受体(GCGR)和抑胃肽受体(GIPR)的多肽药物,人体内平均半衰期长达6天。),并具有良好的安全性。MWN109片突破现有皮下注射给药的局限性,开发了差异化的口服版本,在保证疗效的基础上,为患者提供新的治疗选择。
想要解锁更多药物研发信息吗?查询摩熵医药(原药融云)数据库(vip.pharnexcloud.com/?zmt-mhwz)掌握药物基本信息、市场竞争格局、销售情况与各维度分析、药企研发进展、临床试验情况、申报审批情况、各国上市情况、最新市场动态、市场规模与前景等,以及帮助企业抉择可否投入时提供数据参考!注册立享15天免费试用!
11093
2026年01月07日 08:00
收藏
登录后参与评论
暂无评论