冬天还未过去,中药的春风已经来了,政策面支持,资本市场追捧。
近期创新药被连锤,百济A股刚上市即是巅峰,恒瑞还在坑里蓄势,信达也从高空坠落中,再鼎也顶不住了......
CXO的三大代表药明系、康龙、泰格已经创半年新低。
大部分的仿制药和原料药或被市场选择性遗忘,躲在隐秘的角落。疫苗也风光不再。
港股18A大部分被杀的更是找不到南北......
然万绿丛中总会有一点红的,这点红就是中药板块。
政策面上看,中药审评审批制度改革初显成效,截至目前,2021年已有11个中药新药获批,成为近5年来获批中药新药最多的一年。
今年11个,明年可以有更多的预期,资本市场看的就是这个。
根据申万行业划分,A股中药板块有71家上市公司,我们从营收、销售费用和研发费用分别来看看,先看前三季度营收top50排名:

图片来源:财报/药事纵横整理
第一 :白云山
白云山前三季营收535.40亿。白云山大家熟知有王老吉,还有传说中的西地那非。
经药融云数据库查询 ,白云山总共拥有中药批文912条,包括644个品种、122条独家。
截止发稿日,白云山今年共获得的中药药品批文有5条,其中口洁含漱液为独家。

截图来源:药融云中国药品批文数据库
据药融云全国医院销售数据库显示,白云山销售前十的药品中,只有两款药品属于中药类,其中,销售最多的是脑心清片,排第7,销售额18.05亿元,占比5.91%;其次是滋肾育胎丸,销售额12.85亿元,占比4.21%。
白云山全国医院销售TOP10

截图来源:药融云全国医院销售数据库
第二:云南白药
云南白药前三季度营收283.63亿元。牙膏、气雾剂和创可贴是三大法宝。
云南白药的中药药品批文共有363条,包括226个品种、53条独家。
截止发稿日,云南白药今年中药获得的药品批文共有4条,其中有两条为独家,分别是云南白药膏和云南白药创可贴。

截图来源:药融云中国药品批文数据库
云南白药在全国医院销售前十的药品全都是中药类,其中销量第一的是云南白药胶囊,销售额为14.65亿元,占比32.99%;其次是云南白药膏,销售额为11.09亿元,占比24.97%;然后是云南白药气雾剂,销售额8.61亿元,占比19.39%。
云南白药全国医院销售TOP10

截图来源:药融云全国医院销售数据库
第三:步长制药
步长制药前三季度营收113.77亿元。步长制药总共拥有中药药品批文113条,包括111个品种、31条独家。另外,截止发稿日,步长制药今年暂时没有获得中药类型的药品批文。
在步长制药全国医院销售前十的药品中,只有四款药品属于中药类,其中,销售最多的是脑心通胶囊,排第3,销售额83.4亿元,占比12.81%;其次是稳心颗粒,销售额50.98亿元,占比7.83%。
步长制药全国医院销售TOP10

截图来源:药融云全国医院销售数据库
第四:华润三九
华润三九前三季营收110.99亿元。华润三九让人印象最深的有999感冒灵、三九胃泰等系列,很多80-90后看着广告长大的。
华润三九拥有中药药品批文442条,包括308个品种、30条独家。另外,截止发稿日,华润三九今年获得的中药类型药品批文有66条,无独家。
在华润三九全国医院销售前十的药品中,中药类有6款,其中参附注射液销量第一,销售额58.38亿元,占比46.07;其次是参麦注射液,占比11.58%;生脉注射液,占比7.57%;另外,大家比较熟知的感冒灵颗粒,排名第九。
华润三九全国医院销售TOP10

截图来源:药融云全国医院销售数据库
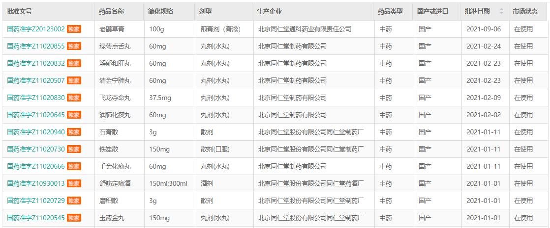
第五:同仁堂
同仁堂前三季度营收106.83亿元。同仁堂路边的店很多,还没有进去就已经闻到了中药味。
同仁堂共有1178中药药品批文,包括854个品种、243个独家。另外,截止发稿日,同仁堂今年共获得83条中药药品批文,包括12个独家。

截图来源:药融云中国药品批文数据库
同仁堂在全国医院销售前十的也都是中药类型药物。其中,肾炎康复片销量第一,销售额12.03亿元,占比34.58%;其次,西黄丸,销售额6.56亿元,占比18.86%。另外,人们熟知的六味地黄丸排名第10。
同仁堂全国医院销售TOP10

截图来源:药融云全国医院销售数据库
整个A股上市的中药板块,前三季度营收超过百亿的有5家,超过50亿元的有13家,超过20亿的有31家。
从前三季度销售费用top10来看,步长制药前三季度销售费用57.9亿元,占营收51%;白云山销售费用45.72亿元,占营收9%;华润三九前三季度销售费用35.45亿元,占营收32%。Top10药企前三季度销售费用超过18亿元。

图片来源:财报/药事纵横整理
从研发费用来看,前三季度top10如下:

图片来源:财报/药事纵横整理
前三季度白云山研发费用支持6亿元,以岭药业5.38亿元,天士力3.97亿元,top10是康恩贝,前三季度研发费用1.36亿元。相对创新药来说,中药的研发费用基本可以忽略。
总结
中药行业今年是政策密集期,多个支持政策出台。据华润三九电话会议:中成药集采目前处于试点阶段,据湖北和广东推出的集采政策,预计将在一定程度降低中成药价格。考虑到中药产业链较长,药材价格波动较大,且产品标准化程度不及化药,预计降价幅度会低于化药集采。
另外中药的一致性评价也有政策预期,综合各种来看,中药行业或将迎来重要发展。
总的来说,目前上市的中药板块销售费用奇高,研发支出稀少,但从政策面上看,国内的中药味渐浓了......







川公网安备51019002008863号
本网站未发布麻醉药品、精神药品、医疗用毒性药品、放射性药品、戒毒药品和医疗机构制剂的产品信息
收藏
登录后参与评论
暂无评论