
根据国际糖尿病联盟(IDF)数据显示,2021年全球约5.37亿成年人(20-79岁)患有糖尿病,推测2030年全球成人糖尿病患者人数将增至6.43亿,到2045年高达7.83亿。中国是糖尿病大国,患者数量居全球第一,且糖尿病发病率在逐年上升。2020年中国成年人糖尿病患病率高达11.9%,预计到2045年中国糖尿病患者数量将达1.74亿人。
近年来我国糖尿病用药市场呈现逐年增长的趋势,据药融云数据库统计,医院终端加上药店终端,2021年糖尿病用药规模接近500亿元,其中,医院终端市场规模为342.82亿元,占比达到76%,近8年年复合增长率为6.96%。到2030年,我国糖尿病药物市场规模或超千亿。
对于糖尿病这种高血糖代谢异常性的慢性疾病,研发治疗的药物很多,手段方式也比较广。国内胰岛素市场集中度高,多年来由诺和诺德、礼来制药、赛诺菲等跨国药企占据主要市场;而国内企业主要包括甘李药业、通化东宝、联邦制药等。
而在医院端市场,畅销降糖药门冬胰岛素、甘精胰岛素、达格列净、磷酸西格列汀、瑞格利奈、利格列汀、度拉糖肽、德谷胰岛素、依帕司他、二甲双胍等常年榜上有名。
2017-2021年糖尿病用药医院竞争格局

截图来源:药融云《掘金糖尿病用药市场》药物报告
而颠覆传统给药方式——非注射性口服胰岛素的出现,一直备受市场关注。比如近几年被高度重视的新型口服降糖药物:钠-葡萄糖协同转运蛋白-2(SGLT-2)抑制剂。作为一种新型的降糖药物,具有与以往降糖药物不同的作用机制,为2型糖尿病患者治疗提供了又一选择。
SGLT-2抑制剂是通过抑制表达于肾脏的SGLT2(钠-葡萄糖协同转运蛋白2)减少肾小管对滤过葡萄糖的重吸收,降低葡萄糖的肾阈值,增加尿糖的排泄,从而降低血液循环中葡萄糖水平。
非胰岛素类糖尿病用药医院竞争格局

截图来源:药融云《掘金糖尿病用药市场》药物报告
与传统的降糖药相比,SGLT2抑制剂不会引起低血糖及体重增加等不良反应,甚至可以预防胰岛β细胞功能的下降,使糖尿病更易于控制。此外,还不会引起严重的胃肠道反应,且不需注射给药,提高了患者用药的顺应性。
目前,新型降糖药物SGLT2抑制剂国内已经上市的药物有恩格列净、达格列净、卡格列净,均已进入医保目录。其中,达格列净是首个进入中国的SGLT-2抑制剂,而恩格列净是首个也是唯一被批准可降低2型糖尿病患者心血管疾病风险的口服降糖药。
据药融云全国医院销售数据库数据统计,恩格列净2021年医院端销售额为2.45亿元,同比增长97.16%;达格列净销售额为19.45亿元,同比增长157.22%;卡格列净销售额为1.62亿元,同比增长146.35%。由此可见,口服降糖药在国内医院端的占比正在加速扩张。
达格列净医院端历年销售趋势

图片来源:药融云全国医院销售数据库
恩格列净——跨界“明星药”,国内获批3个适应症
恩格列净是由勃林格殷格翰(Boehringer Ingelheim)和礼来(Eli Lilly and Company)两家公司联合开发的一种SGLT2抑制剂。据药融云全球药物研发数据库显示,恩格列净最早在2013年12月于哥伦比亚获批,之后相继于欧盟(2014/5)、美国(2014/8)、和日本(2014/12)上市,用于治疗2型糖尿病。
恩格列净上市时间轴

图片来源:药融云全球药物研发数据库
在国内,恩格列净于2017年9月首次获批,用于改善2型糖尿病患者的血糖控制。2022年6月,该药再次获得NMPA批准用于射血分数降低的心力衰竭成人患者。
而近日,恩格列净在中国获批第3项适应症,适用于降低心力衰竭成人患者的心血管死亡和因心力衰竭住院的风险,获益与左心室射血分数无关,在射血分数降低、中间值或保留的成人中均获益明显,将为更多患者带来福音。
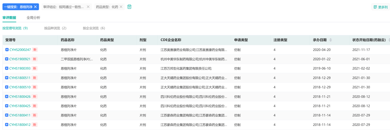
药融云中国药品审评数据库显示,目前除原研进口,另有6家国产恩格列净仿制药获批上市且均已过评(通过/视同通过一致性评价),分别是正大天晴、四川科伦、江苏奥赛康、江苏万邦和江苏豪森、杭州中美华东制药;19家申报化药4类,竞争十分激烈(搜索"药融云小程序"进行相关更多数据查询)。
恩格列净仿制药审评数据(部分)

图片来源:药融云中国药品审评数据库
达格列净——全球首款获批上市的SGLT2抑制剂
达格列净是由百时美施贵宝和阿斯利康联合开发的一款新型口服降糖药物,最早于2012年11月在欧洲批准上市,是全球首款获批上市的钠-葡萄糖转运蛋白2(SGLT2)抑制剂。目前,达格列净已在全球包括美国、欧盟和日本在内的100个国家和地区获批用于治疗合并或不合并2型糖尿病的慢性肾脏病成人患者。
达格列净不同适应症研发现状(部分)

图片来源:药融云全球药物研发数据库
达格列净于2017年3月在中国获批上市,用于2型糖尿病成人患者改善其血糖控制,成为中国市场批准的首个SGLT2抑制剂。此后于2021年2月获批新适应症,用于治疗HFrEF成人患者。
近日,达格列净片(商品名:安达唐)在国内又获批新适应症,用于降低有进展风险的慢性肾脏病成人患者的估算肾小球滤过率(eGFR)持续下降、终末期肾病、心血管死亡和因心力衰竭而住院的风险。
目前,国内已有20余家企业布局达格列净仿制药市场,其中,山东鲁抗医药和北京福元医药率先过评,并于2021年10月同时拿下国内首仿。
北京福元医药达格列净过评信息(部分)

图片来源:药融云中国药品审评数据库
除此之外,南京正大天晴、成都倍特、江苏豪森、北京双鹭等10余家企业递交了上市申请(包括仿制和进口),上海信谊联合医药、南京方生和医药、石药欧意、宁波美诺华天康药业等企业处于BE试验阶段,还有多家获批临床。
卡格列净—美国首个SGLT-2抑制剂
卡格列净(Canagliflozin,商品名为Invokana®),是由田边三菱制药原研,强生旗下的杨森制药于2012年获得美国和欧盟地区的授权。2013年3月获得美国FDA的上市批准,2013年11月获欧洲EMA的上市批准,2014年7月获日本PMDA的批准。
卡格列净是FDA批准的首个SGLT-2抑制剂,适用于II型糖尿病成人患者结合饮食控制和体育锻炼控制血糖。降糖机制主要是通过抑制SGLT2减少肾脏对滤过葡萄糖的重吸收,降低肾糖阈,从而增加尿糖排泄的,多喝水可以促进排尿增加尿糖的排出,同时多喝水促进排尿也有助于排出酮体避免发生酮症的危险。
卡格列净于2017年9月在中国获批上市。2019年12月,江苏豪森药业的「卡格列净片」获批上市,用于2型糖尿病患者,成为中国首仿SGLT-2抑制剂。2020年9月,正大天晴的4类仿制药卡格列净片获批上市,成为国内第2家该药仿制药上市企业。
正大天晴的卡格列净片审评时间轴(用时677天)

图片来源:药融云中国药品审评数据库
此外,四川科伦药业、湖北华世通生物的仿制药也相继获批上市。同时,乐普药业、杭州中美华东、齐鲁制药、江苏德源药业等企业的仿制药目前在审评审批中。
想要解锁更多疾病领域药物信息吗?查询药融云数据库(vip.pharnexcloud.com/?zmt-mhwz)掌握疾病领域药物上市情况、销售情况与各维度分析、市场竞争格局、药品申报审批情况、最新进展、市场规模与前景等数据!注册立享15天免费试用和虎年首份医药数据大礼包!

<END>







川公网安备51019002008863号
本网站未发布麻醉药品、精神药品、医疗用毒性药品、放射性药品、戒毒药品和医疗机构制剂的产品信息
收藏
登录后参与评论
暂无评论