
据CDE官网,宜昌人福药业递交的4类仿制化药麦考酚钠肠溶片上市申请获CDE受理,这是宜昌人福药业今年报产的第11款品种。此前,该诺华5亿免疫抑制剂品种首仿由恒瑞医药拿下。

截图来源:CDE官网
麦考酚钠是一种选择性、非竞争性、可逆的免疫抑制剂,临床上与环孢素和皮质类固醇合用,用于对接受同种异体肾移植成年患者急性排斥反应的预防。麦考酚钠原研来自诺华,最早于2004年在美国获批上市,后2008年落地中国,目前为医保乙类产品。据药融云统计,诺华的麦考酚钠近年均保持稳定增长,2021年其院内销售额突破5亿元,同比增长11.4%。
诺华麦考酚钠的院内销售额

截图来源:药融云全国医院销售数据库(新版)
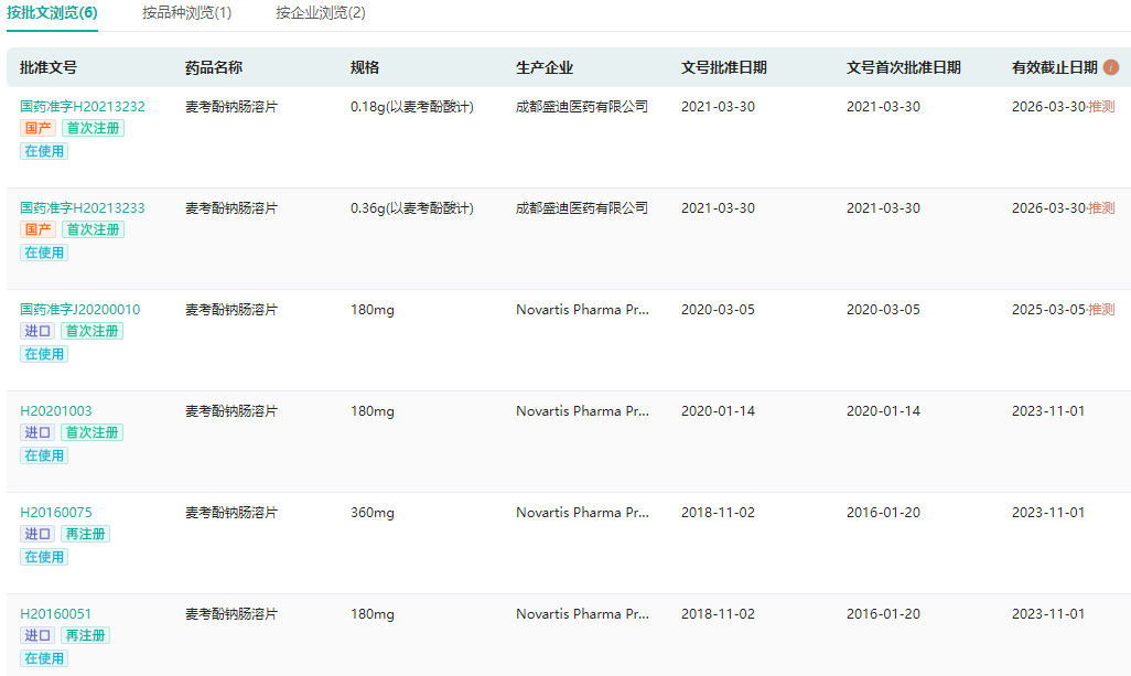
据了解,目前国内获批的麦考酚钠仅有肠溶片这一个剂型,有原研诺华和恒瑞医药子公司成都盛迪医药获批生产,其中,盛迪医药为该品种的国内首仿厂家(2021年3月底获批)。除宜昌人福药业申报外,另有深圳市康哲生物/Biocon Limited申报上市(5.2类);山东新时代药业和卓和药业已开展并公示了麦考酚钠肠溶片的BE试验。
麦考酚钠批文

截图来源:药融云中国药品批文数据库(新版)
至此,宜昌人福药业今年共有11款品种申报上市,除异氟烷注射液以2.2类新药外,其余10款均为3/4类仿制药。其中,富马酸伏诺拉生片、对乙酰氨基酚注射液、阿奇霉素干混悬剂和氯巴占片均暂无企业过评,宜昌人福药业有望争夺仿制药首家过评。
宜昌人福药业2022年报产品种(截至06.13)

数据来源:药融云中国药品审评数据库,一致性评价数据库
参考来源:
[1] CDE官网
[2] 药融云数据库
想要解锁更多药企仿制药信息吗?查询药融云数据库(https://www.pharnexcloud.com/?zmt-mhwz)掌握药企仿制药申报情况、审批信息、最新进展、一致性评价、市场竞争格局、销售情况,市场规模与前景,可否投入!注册立享15天免费试用和虎年首份医药数据大礼包!

—END—







浙公网安备33011002015279
本网站未发布麻醉药品、精神药品、医疗用毒性药品、放射性药品、戒毒药品和医疗机构制剂的产品信息
收藏
登录后参与评论
暂无评论