
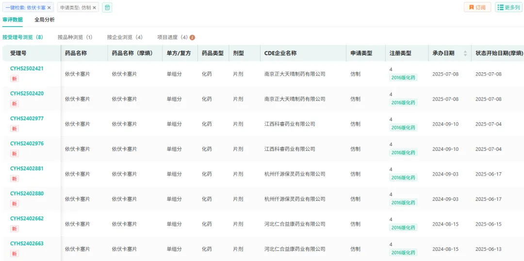
7月8日,CDE官网显示,南京正大天晴制药有限公司提交的4类仿制化药依伏卡塞片上市申请已获受理,若顺利获批,有望拿下该品种的首仿资格。

截图来源:CDE官网
依伏卡塞(Evocalcet)是一种新型口服拟钙剂,主要用于治疗继发性甲状旁腺功能亢进症(SHPT)。该药物通过作用于甲状旁腺细胞上的钙敏感受体(CaSR),抑制甲状旁腺细胞增殖及甲状旁腺激素(PTH)分泌,从而降低血钙、血磷和甲状旁腺素水平。

截图来源:摩熵医药全球药物研发数据库
依伏卡塞原研厂家为协和麒麟株式会社,最早于2018年获得日本PMDA批准,2024年6月被NMPA批准进口,并于2025年3月由中日友好医院开出中国市场首张处方。
继发性甲状旁腺功能亢进症(SHPT)是矿物质代谢紊乱的重要表现类型之一,也是慢性肾脏病(CKD)患者常见且严重的并发症之一。主要表现为PTH水平升高、甲状旁腺肥大增生、钙磷代谢紊乱等。在我国,约60%的维持性透析患者存在不同程度的SHPT,但PTH控制达标率仅约55%。
据摩熵医药数据库显示,我国抗甲状旁腺药院内市场累计超118亿元,2021年突破21亿元,达到峰值,近年虽呈下降趋势,但市场份额依然可观。













川公网安备51019002008863号
本网站未发布麻醉药品、精神药品、医疗用毒性药品、放射性药品、戒毒药品和医疗机构制剂的产品信息
收藏
登录后参与评论
暂无评论