
5月13日,据NMPA官网公示,四川汇宇制药的注射用盐酸罗沙替丁醋酸酯获批上市并视同过评。据药融云数据库统计,2022年在全国院内市场注射用盐酸罗沙替丁醋酸酯销售额近14亿元。

截图来源:NMPA
罗沙替丁最早于1986年在日本上市,并由あすか製薬株式会社开发成静脉注射冻干粉针剂,于1995年在日本获批。盐酸罗沙替丁醋酸酯是一款组胺H2受体拮抗剂,主要是治疗与胃酸分泌相关疾病的药物,临床上用于上消化道出血(由消化性溃疡,急性应激性溃疡,出血性胃炎等引起)的低危患者。近年来,注射用盐酸罗沙替丁醋酸酯销售规模持续上涨,据药融云数据统计,注射用盐酸罗沙替丁醋酸酯在2020年在全国院内市场销售突破12亿元大关,2021年进一步跃升至14亿元以上,2022年在全国院内市场销售额也保持着接近14亿元的稳健表现,市场潜力巨大。

截图来源:药融云全国医院销售数据库
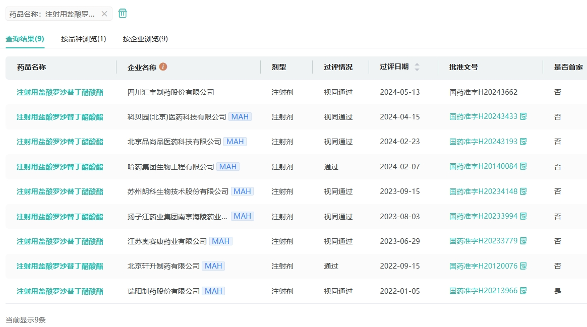
目前罗沙替丁在国内获批的制剂仅注射用盐酸罗沙替丁醋酸酯一种。此前,国内有8家企业拥有注射用盐酸罗沙替丁醋酸酯生产批文,包括哈药集团、瑞阳制药、北京轩升制药、江苏奥赛康药业、扬子江药业集团江苏紫龙药业、吉林省西点药业、北京品尚品医药、科贝园(北京)医药,其中瑞阳制药是首家过评的药企,此次四川汇宇制药是第9家获批并过评注射用盐酸罗沙替丁醋酸酯的药企。

截图来源:药融云过评药品汇总数据库
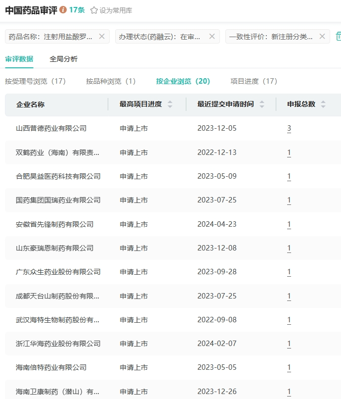
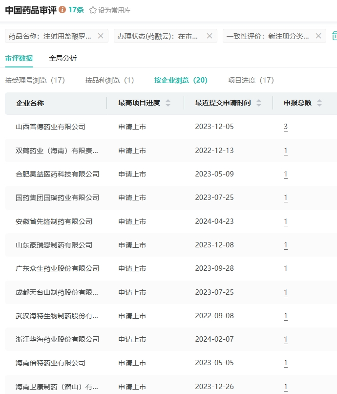
在仿制药布局方面,注射用盐酸罗沙替丁醋酸酯有海南倍特药业、国药集团、浙江华海药业、海南合瑞制药、重庆药友制药等20家药企提交了仿制申请,均在审评审批中。

截图来源:药融云中国药品审评数据库
2024年(截止5月14日),四川汇宇制药有注射用盐酸吉西他滨、克拉屈滨注射液、注射用盐酸罗沙替丁醋酸酯、甲氨蝶呤注射液4个品种过评,其中克拉屈滨注射液迎来首家过评。
<END>
要解锁更多企业药品研发信息吗?查询药融云数据库(vip.pharnexcloud.com/?zmt-mhwz)掌握药品各国上市情况、药品批文信息、销售情况与各维度分析、市场竞争格局、一致性评价情况、集采中标情况、药企申报审批信息、最新动态与前景等,以及帮助企业抉择可否投入时提供数据参考!注册立享15天免费试用!








浙公网安备33011002015279
本网站未发布麻醉药品、精神药品、医疗用毒性药品、放射性药品、戒毒药品和医疗机构制剂的产品信息
收藏
登录后参与评论
暂无评论