
10月21日,据NMPA官网公示,四川汇宇制药提交的3类仿制化药乙酰半胱氨酸注射液上市申请顺利获批,成为国内首家过评。据摩熵医药(原药融云)数据库显示,该品种在2023年全国院内市场的销售额超5亿元。

截图来源:NMPA官网
乙酰半胱氨酸注射液原研Zambon于2022年申请上市。该品种是氨基酸类药,主要用于在综合治疗基础上用于肝衰竭早期治疗,以降低胆红素、提高凝血酶原活动度。据摩熵医药(原药融云)数据库显示,乙酰半胱氨酸注射液在2023年全国院内市场的销售额超5亿元。

截图来源:摩熵医药(原药融云)全国医院销售数据库
此前,乙酰半胱氨酸注射液有山西国润制药、四川海梦智森生物制药、杭州民生药业3家药企获批生产,国内三家已批准适应症为:在综合治疗基础上用于肝衰竭早期治疗,以降低胆红素、提高凝血酶原活动度。目前乙酰半胱氨酸注射液仅汇宇一家过评。

截图来源:摩熵医药(原药融云)过评药品汇总
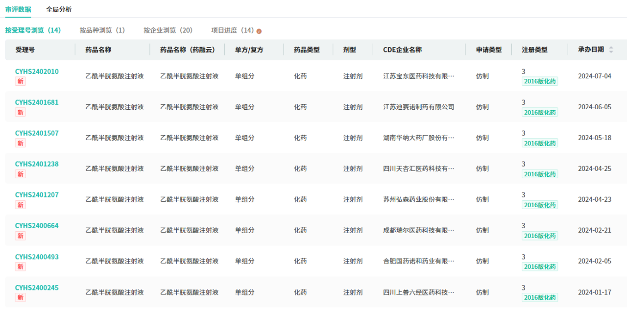
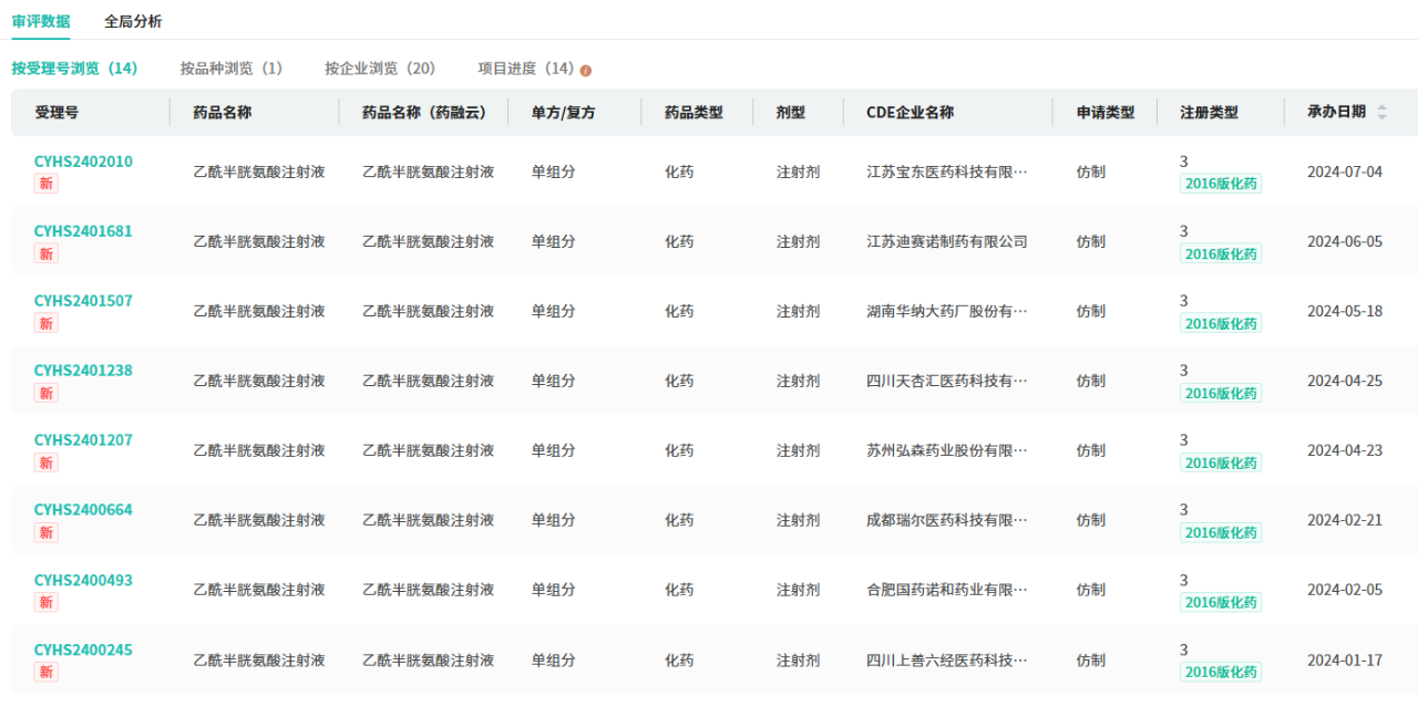
Zambon(赞邦)在中国完成三期临床的乙酰半胱氨酸注射液用于治浓稠粘液过多的呼吸道病,如急慢性支气管炎、肺气肿、粘稠物阻塞及支气管扩张。在仿制药布局方面,乙酰半胱氨酸注射液有成都市海通药业、国药集团国瑞药业、成都瑞尔医药科有20家药企提交了3类防止申请。

截图来源:摩熵医药(原药融云)中国药品审评数据库
目前,四川汇宇制药有30个品种过评。今年有甲氨蝶呤注射液、注射用地西他滨、注射用左亚叶酸钙、注射用环磷酰胺等9个品种过评,其中乙酰半胱氨酸注射液、克拉屈滨注射液2个品种为首家过评。
参考来源:
[1] NMPA官网
[2] 摩熵医药(原药融云)数据库
<END>
想要解锁更多药物研发信息吗?查询摩熵医药(原药融云)数据库(vip.pharnexcloud.com/?zmt-mhwz)掌握药物基本信息、市场竞争格局、销售情况与各维度分析、药企研发进展、临床试验情况、申报审批情况、各国上市情况、最新市场动态、市场规模与前景等,以及帮助企业抉择可否投入时提供数据参考!注册立享15天免费试用!








川公网安备51019002008863号
本网站未发布麻醉药品、精神药品、医疗用毒性药品、放射性药品、戒毒药品和医疗机构制剂的产品信息
收藏
登录后参与评论
暂无评论