
5月21日,据NMPA官网公示,扬子江药业的4类仿制化药他氟前列素滴眼液获批并视同过评。据药融云数据库统计,今年(截止5月22日)扬子江药业有7个品种过评。

截图来源:NMPA
他氟前列素滴眼液由参天制药(Santen)开发。属于前列腺素类似物,更是一种选择性EP前列腺素类受体激动剂。它专攻于开角型青光眼和高眼压症患者,显著降低其升高的眼压。2015年8月,他氟前列腺素滴眼液(商品名“泰普罗斯”)在中国批准进口上市。2019年进入国家医保药品目录,已成为临床上广泛应用的抗青光眼药物。
近年来,他氟前列素滴眼液市场快速放量。据药融云数据统计,他氟前列素滴眼液在2022年全国院内销售突破5千万元,同比增长近23%。2023年(截止Q3)全国院内销售额超4千万元。

截图来源:药融云全国医院销售数据库
此前,他氟前列素滴眼液除原研厂家日本参天制药,国内仅有成都盛迪医药(首仿药企)和尖峰药业(国产第2家药企)获批。此次,扬子江药业的他氟前列素滴眼液获批上市并视同过评,为国产第3家,进一步丰富了公司的产品线。

截图来源:药融云过评药品汇总数据库
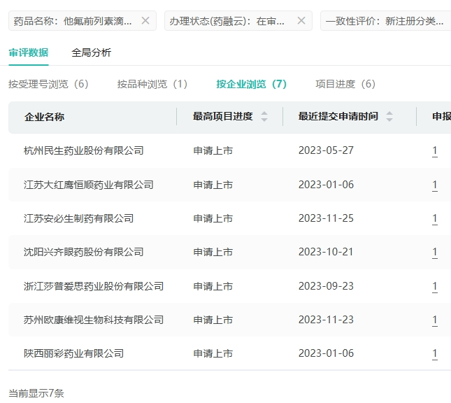
在仿制药布局方面,他氟前列素滴眼液有杭州民生药业、江苏安必生制药、陕西丽彩药业等7家药企提交了新注册仿制申请,均在审评审批中。

截图来源:药融云中国药品审评数据库
据药融云数据统计,此前扬子江药业有4款眼用制剂品种获批并过评,分别是地夸磷索钠滴眼液、盐酸莫西沙星滴眼液、玻璃酸钠滴眼液、左氧氟沙星滴眼液。此次他氟前列素滴眼液是第5款获批的眼用制剂品种。

截图来源:药融云过评药品汇总数据库
今年(截止5月22日)扬子江药业有替吉奥胶囊、他氟前列素滴眼液、吸入用乙酰半胱氨酸溶液等7个品种过评。
参考来源:
[1] NMPA官网
[2] 药融云数据库
<END>
想要解锁更多药物研发信息吗?查询药融云数据库(vip.pharnexcloud.com/?zmt-mhwz)掌握药物基本信息、市场竞争格局、销售情况与各维度分析、药企研发进展、临床试验情况、申报审批情况、各国上市情况、最新市场动态、市场规模与前景等,以及帮助企业抉择可否投入时提供数据参考!注册立享15天免费试用!








川公网安备51019002008863号
本网站未发布麻醉药品、精神药品、医疗用毒性药品、放射性药品、戒毒药品和医疗机构制剂的产品信息
收藏
登录后参与评论
暂无评论