
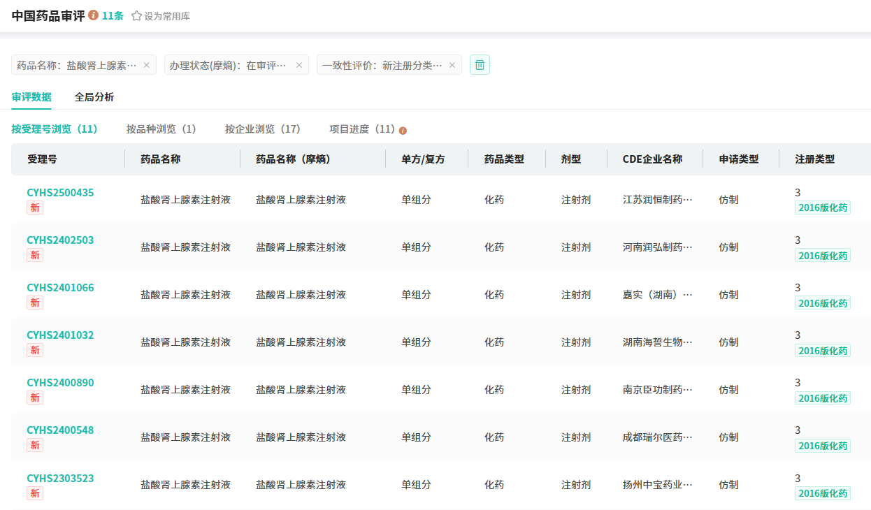
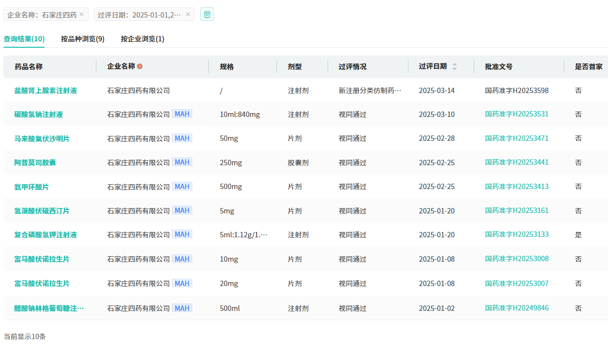
3月14日,据NMPA官网最新显示,石家庄四药提交的3类仿制药盐酸肾上腺素注射液申请上市获批并视同通过一致性评价,截至目前,该集团今年以来已获批并过评9个品种,累计过评119个(158个品规)品种。

截图来源:NMPA
盐酸肾上腺素注射液主要适用于心脏骤停进行心肺复苏的主要抢救用药,亦可用于治疗因支气管痉挛所致严重呼吸困难、迅速缓解药物等引起的过敏性休克,及延长浸润麻醉用药的作用时间。据摩熵医药数据库显示,盐酸肾上腺素注射液在2023年全国医院市场的销售额接近2亿元,而在2024年的(Q1至Q3),其销售额已达1.3亿元。











浙公网安备33011002015279
本网站未发布麻醉药品、精神药品、医疗用毒性药品、放射性药品、戒毒药品和医疗机构制剂的产品信息
收藏
登录后参与评论
暂无评论