
备受大众关注的2022年国家医保药品目录谈判,已经于近日在京落下帷幕。其中,备受大众关注进入医保谈判的3款新冠治疗药物有阿兹夫定片、清肺排毒颗粒、奈玛特韦片/利托那韦片组合包装(Paxlovid)。
最后,阿兹夫定片、清肺排毒颗粒谈判成功,而辉瑞的Paxlovid因报价过高未能被纳入医保目录。但本次医保谈判中,阿兹夫定所谈适应症为艾滋病——用于治疗高病毒载量的成年HIV-1感染患者。
据药融云数据库统计,目前国内共有3款口服小分子新冠药物获批上市,分别为辉瑞的Paxlovid、默沙东的莫诺拉韦/莫努匹韦(Molnupiravir)、以及真实生物的阿兹夫定(《国内上市的新冠口服药大盘点:Paxlovid,阿兹夫定,莫诺拉韦》)。
阿兹夫定不同适应症全球研发状态(微信搜索"药融云小程序"进行相关更多数据查询)

图片来源:药融云全球药物研发数据库
Paxlovid(奈玛特韦片/利托那韦片组合包装),其核心组分奈玛特韦(Nirmatrelvir,研发代号:PF-07321332)是专门用于对抗严重急性呼吸综合征冠状病毒2(SARS-CoV-2)3CL蛋白酶抑制剂。
莫诺拉韦,虽然在我国获批时间较晚,但其实是全球首个口服抗新冠病毒药物。它主要通过靶向于RNA依赖性RNA聚合酶(RdRp)起作用,它能“欺骗”新冠病毒,诱导错误突变的产生,从而抑制新冠病毒的复制。
阿兹夫定,是一种人工合成的病毒RNA依赖的RNA聚合酶(RdRp)的核苷类似物,在细胞内代谢成具有抗病毒活性的5’-三磷酸盐代谢物(阿兹夫定三磷酸盐),能特异性作用于新冠病毒聚合酶(RdRp),在新冠病毒RNA合成过程中嵌入病毒RNA,从而抑制新冠病毒复制,达到治疗新冠病毒感染的作用。
Paxlovid和莫诺拉韦是国际上最常用的两款抗新冠病毒小分子药物,两者在治疗机制上的不同,也将全球新冠口服药的研发划分为了两大技术主流阵营,即3CL蛋白酶抑制剂路线和RdRp抑制剂路线。
阿兹夫定基本信息(部分)

图片来源:药融云全球药物研发数据库
一、新冠治疗药物——3CL蛋白酶抑制剂
3CL蛋白酶抑制剂通过干扰病毒复制来达到消灭病毒,代表药物是辉瑞的Paxlovid,据药融云全球药物研发数据库显示,目前全球基于3CL蛋白酶开发的新冠肺炎药物有40余款,已获批上市的有辉瑞的Paxlovid,和仅在日本上市的盐野义Xocova。
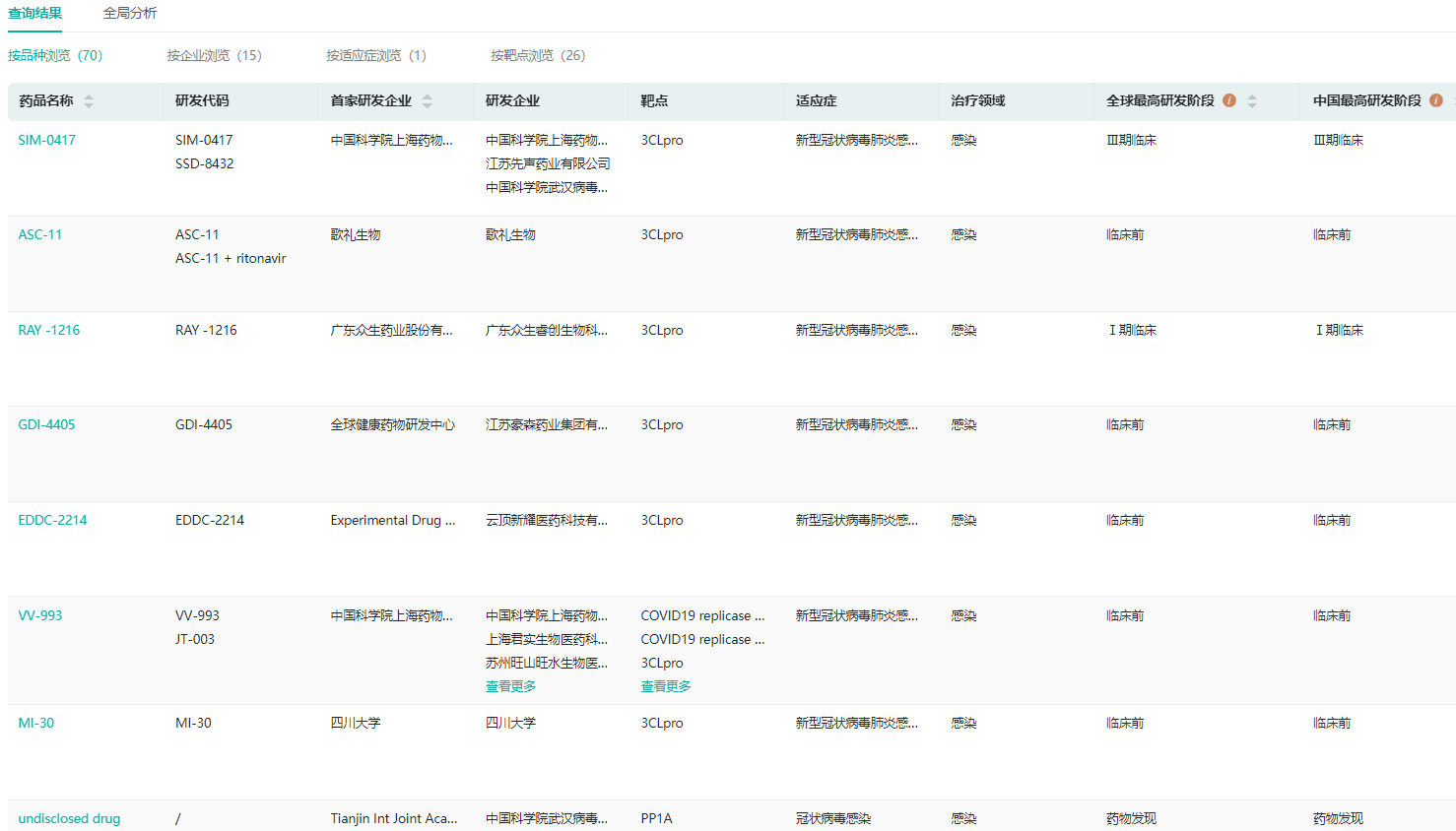
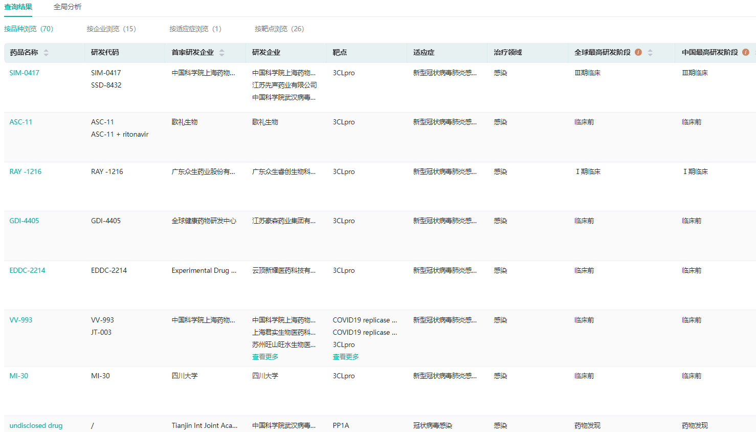
因Paxlovid临床治疗数据较为出色以及在研药企众多,3CL蛋白酶抑制剂一直以来备受关注,且被业内视为最为看好的小分子药物。国内新冠口服药研发沿用类似机制的还有先声药业的SIM-0417、君实生物的VV-993、众生药业的RAY -1216、云顶新耀的EDDC-2214、广生堂的GST-HG171、歌礼生物的ASC-11等等。
其中,先声药业的SIM0417进度较快,或将成为国内首款3CL靶点口服小分子药物。除此之外,还有前沿生物、博济医药、盘龙药业、石药集团等企业也在开发3CL蛋白酶抑制剂的新冠肺炎适应症。
国内企业3CL蛋白酶抑制剂研发现状(部分)

图片来源:药融云全球药物研发数据库
二、新冠治疗药物——RNA聚合酶(RdRp)抑制剂
小分子药物的抗病毒路径,不止有3CL蛋白酶。作为一种抑制病毒RNA依赖性RNA聚合酶(RdRp)的核苷类似物,RdRp抑制剂能特异性作用于新冠病毒RdRp,从而抑制病毒复制,其药物靶向性强。
RdRp被认为是抗RNA病毒最有希望的靶点之一,新冠病毒也不例外。瑞德西韦(Remdesivir)的成功,已证实了该路径的可行性。只是作为注射剂的瑞德西韦,因为依从性劣势,最后把C位让给了后来者Paxlovid。
据药融云数据库统计,目前全球RdRp抑制剂研发热情也较高,针对新冠肺炎适应症在研的RdRp抑制剂已达到20余种,包括君实生物的VV116、科兴制药的SHEN26、歌礼制药的ASC10、华润双鹤引进的LGN-20等。
全球已获批上市用于治疗新冠的RdRp抑制剂包括吉利德的Remdesivir(瑞德西韦)、默沙东的Molnupiravir(莫诺拉韦)以及真实生物的阿兹夫定。
值得一提的是,全球权威期刊《新英格兰医学杂志》于12月底发表的君实生物VV116相关3期临床研究数据显示,其研究主要终点达到设计的非劣效终点,相比辉瑞的Paxlovid,VV116组的临床恢复时间更短,安全性方面的顾虑更少。换句话说,基于RdRp抑制剂的VV116治疗新冠效果不输Paxlovid,有望为全球新冠患者提供效果更好、更安全的治疗选择。
VV116(试验登记号NCT05582629)临床试验信息(部分)

图片来源:药融云全球临床试验数据库
目前,我国对新冠感染实施乙类乙管,疫情防控工作的重心转为防重症,对于相关药物的需求也随之增加。随着国内相关药物研发进程的加快,新冠药物的可及性将显著提升。此外,随着新冠药品逐步纳入医保统一批量集采,未来新冠口服药的价格将逐步趋于合理化。
想要解锁更多药物研发信息吗?查询药融云数据库(vip.pharnexcloud.com/?zmt-mhwz)掌握药物基本信息、市场竞争格局、销售情况与各维度分析、药企研发进展、申报审批情况、最新市场动态、市场规模与前景等,以及帮助企业抉择可否投入时提供数据参考!注册立享15天免费试用!

<END>







川公网安备51019002008863号
本网站未发布麻醉药品、精神药品、医疗用毒性药品、放射性药品、戒毒药品和医疗机构制剂的产品信息
收藏
登录后参与评论
暂无评论