为贯彻落实《国务院办公厅关于推动药品集中带量采购工作常态化制度化开展的意见》文件精神,深入推进药品集中带量采购改革,进一步减轻群众医药费用负担,河南省医保局于近日发布《十九省(区、兵团)药品联盟采购公告(一)》:河南、山西、内蒙古、辽宁、吉林、黑龙江、安徽、江西、湖南、广西、海南、贵州、云南、西藏、陕西、青海、宁夏、新疆、新疆生产建设兵团等十九省(区、兵团),组成省际联盟,拟对部分药品开展集中带量采购。

来源:河南省医保局
本次药品联盟集采涉及24个品种,分别为肌苷注射剂、苯唑西林注射剂、环磷腺苷注射剂、多种维生素(12)注射剂、二羟丙茶碱注射剂、尿激酶注射剂、破伤风人免疫球蛋白注射剂、20%甘露醇注射剂、维生素K1注射剂、碳酸氢钠注射剂、硝酸甘油注射剂、氯诺昔康注射剂、磷霉素钠注射剂、去乙酰毛花苷注射剂、利福平注射剂、单硝酸异山梨酯注射剂、复方甘草口服常释剂型、胶体果胶铋口服常释剂型、血液滤过置换基础液注射剂、笨海拉明注射剂、凝血酶散剂、门冬氨酸钾镁注射剂(含门冬氨酸钾镁葡萄糖注射剂)、阿洛西林注射剂、绒促性素注射剂。


来源:河南省医保局
从剂型上来看,本次药品联盟集采绝大部分为注射剂,共有21款、口服常释剂型有2款、散剂有1款。从市场来看,经药融云数据库查询显示,2022年这24个品种在我国院内的总销售额约为160亿,其中亿元以上品种有20个,五亿以上品种有11个,十亿以上品种有6个。
本次药品联盟集采涉及品种2022年销售额排名TOP10

数据来源:药融云全国医院销售数据库
截止目前,国内在售的环磷腺苷注射剂有8个品种,分别为环磷腺苷葡胺注射液、注射用环磷腺苷、环磷腺苷葡胺葡萄糖注射液、环磷腺苷注射液、环磷腺苷氯化钠注射液、注射用环磷腺苷葡胺、环磷腺苷葡萄糖注射液、注射用二丁酰环磷腺苷钙。
据药融云数据库统计,环磷腺苷注射剂在我国院内的销售额峰值是于2015年达到了34.23亿元,而后销售额持续走低,到2022年已只剩18.02亿元。市场上较为亮眼的有两个品种,分别为环磷腺苷注射液与注射用环磷腺苷,各自占据三成份额,故这两个品种纳入本次药品联盟集采的可能性也比较大。

截图来源:药融云全国医院销售数据库
目前国内在使用的环磷腺苷注射液药品批文有19条,涉及13家药企,均是按5类新药获批上市的,暂无药企递交仿制药上市申请。2021年,该药的院内销售额暴涨439.33%,突破亿元大关,2022年再涨66.62%,达到5.61亿元。其中,在生产企业方面,三才石岐制药股份占据了74.61%的市场,完全碾压其他。
注射用环磷腺苷获批的药品批文较多,目前在使用的还有47条,涉及药企35家之多,且均是按6类仿制药获批上市的。2022年注射用环磷腺苷的销售额为5.43亿元,其中,无锡凯夫制药(23.37%)、河南辅仁怀庆堂(19.24%)、成都天台山制药(14.21%)为市场三大巨头。
据药融云药品集中采购数据库显示,此前,注射用环磷腺苷已先后被纳入了五次地方集采,其中四次为多省药品联盟集采。共有4家药企中标,分别是无锡凯夫制药、广东健信制药、广州一品红制药、海南皇隆制药。中选价格在2.65-6.12之间,最低为2.65元,来自无锡凯夫制药。
注射用环磷腺苷中标情况

截图来源:药融云药品集中采购数据库
目前国内获批的肌苷有六种剂型,其中肌苷注射剂包括了肌苷注射液、肌苷氯化钠注射液、肌苷注射液(肌注)、注射用胞磷胆碱钠肌苷、肌苷葡萄糖注射液、注射用肌苷等品种。
近年来,肌苷注射剂的院内销售额一直都保持着高速增长,2020年大涨380%,首次突破亿元大关,2022年再涨108%,首次突破十亿大关,直达15.68亿元。活力十足,市场扩张迅猛。
据药融云全国医院销售数据库显示,肌苷注射剂一直是肌苷院内销售的主力剂型,特别是肌苷注射液,超九成的销售都来自该品种,故猜测该品种最有可能中标此次药品联盟集采。目前,国内已有127家药企的肌苷注射液都已获批上市,市场竞争激烈。但是近年的院内销售市场以陕西顿斯制药为大,已连续三年占据领导地位,市场份额均在四成以上。

截图来源:药融云全国医院销售数据库
目前国内在售的苯唑西林仅有注射用苯唑西林,故该品种中标此次药品联盟集采基本上已是板上钉钉,涉及药企20家。2022年,该药在我国院内的销售额同比增长55.48%,达到15.07亿元。在生产企业上,四川制药制剂与成都倍特药业排名靠前,市场占比分别为48.29%与16.89%。
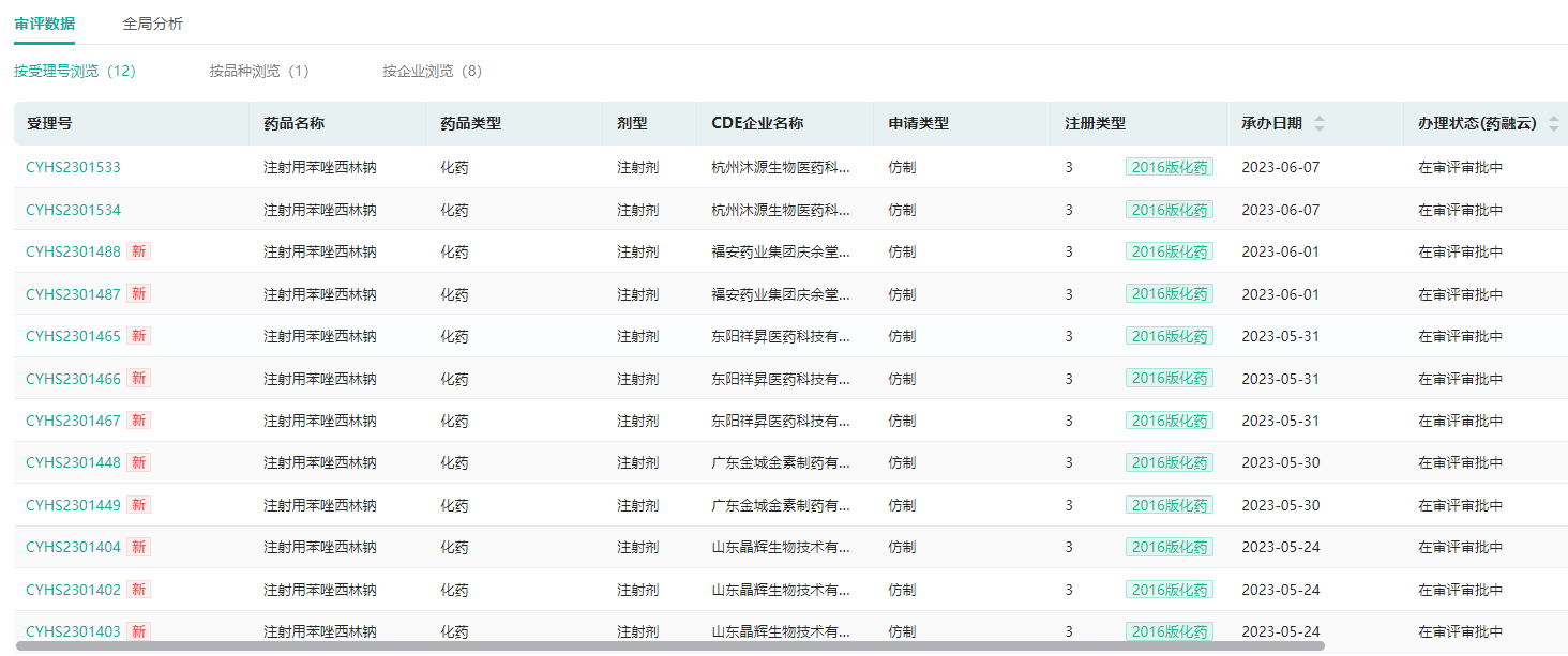
经药融云中国药品审评数据库查询,该药目前暂无药企通过一致性评价。不过,从今年5月以来,就有药企以3类仿制药向药监局递交了注射用苯唑西林的上市申请,现已集满8家,包括东阳祥昇医药、中孚药业、科伦药业以及福安药业等,现均在审评审批中。据悉,一款仿制药从递交注册申报到审批完成一般都在6-8个月,故今年该药定会迎来首家过评。
注射用苯唑西林仿制药申报上市情况

截图来源:药融云中国药品审评数据库
此前,注射用苯唑西林已经中选了两次地方集采,在甘肃省与湖北省供应。中选企业有成都倍特药业(中选价格最低,20元/500mg)、石药集团中诺药业、山西振东泰盛制药、湖北科伦制药、四川制药制剂。
碳酸氢钠注射剂有碳酸氢钠注射液、碳酸氢钠林格注射液等品种。碳酸氢钠注射液目前已有99家药企拥有批文,但仅有一家通过一致性评价,即石家庄四药。碳酸氢钠林格注射液在国内获批较晚一些,目前共7家药企拥有药品批文,6家通过一致性评价,西安万隆制药与四川美大康华康药业并列国内首家。
碳酸氢钠林格注射液过评情况

截图来源:药融云一致性评价数据库
碳酸氢钠注射剂在2022年的院内销售额为8.68亿元,其中碳酸氢钠注射液占比58.18%,碳酸氢钠林格注射液占比41.82%。恒瑞医药为主力生产企业,占据37.06%的销售市场。其次还有回音必集团、科伦药业、石家庄四药......
此前,碳酸氢钠注射剂纳入集采的仅有碳酸氢钠注射液,中标了江苏省以及鲁晋省际药品联盟集采。覆盖药企15家,包括四川科伦制药、四川美大康华康药业、石家庄四药、华润双鹤、正大丰海制药等。
药品纳入集采后,降价是不可避免的,有的甚至“打骨折”。长期来看,药品开展集采必然会导致医药行业重新洗牌(《最高降价99%!8批次国家药品集采盘点,是好事还是坏事?》)。此次的19省药品联盟集采覆盖品种甚广,涉及企业众多,160亿市场即将迎来变革。最后到底哪些企业、哪些品种会被选中呢,就让我们拭目以待!
想要解锁更多药品信息吗?查询药融云数据库(vip.pharnexcloud.com/?zmt-mhwz)掌握药品各国上市情况、药品批文信息、销售情况与各维度分析、市场竞争格局、一致性评价情况、集采中标情况、药企申报审批信息、最新动态与前景等,以及帮助企业抉择可否投入时提供数据参考!注册立享15天免费试用!

<END>








浙公网安备33011002015279
本网站未发布麻醉药品、精神药品、医疗用毒性药品、放射性药品、戒毒药品和医疗机构制剂的产品信息
收藏
登录后参与评论
暂无评论